TOP
|
特許
|
意匠
|
商標
特許ウォッチ
Twitter
他の特許を見る
10個以上の画像は省略されています。
公開番号
2025168996
公報種別
公開特許公報(A)
公開日
2025-11-12
出願番号
2024073930
出願日
2024-04-30
発明の名称
バッテリコネクタの組付構造、バッテリユニット、および、バッテリユニットの支持構造
出願人
いすゞ自動車株式会社
代理人
弁理士法人鷲田国際特許事務所
主分類
B60K
1/04 20190101AFI20251105BHJP(車両一般)
要約
【課題】水密性を確保することが可能なバッテリコネクタの組付構造、バッテリユニット、および、バッテリコネクタの組付構造を提供する。
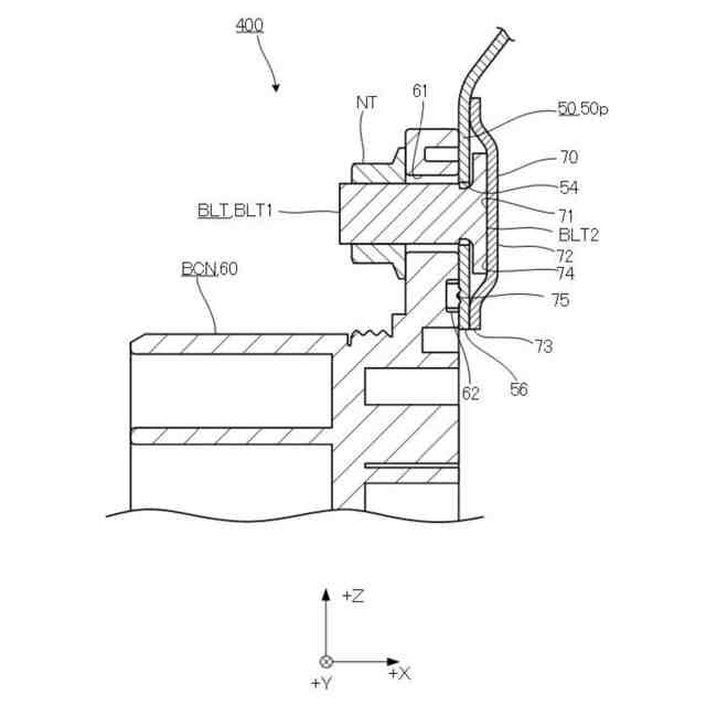
【解決手段】バッテリコネクタの組付構造は、バッテリパックを格納し、外側から内側へ貫通する貫通穴が開設された立壁を備えるバッテリカバーと、貫通穴に対応する位置に下穴を備えるバッテリコネクタと、ネジ部および頭部を有する締結具と、下穴に対応する位置に前記頭部が固着された外側面を有するプレートと、を備え、ネジ部が貫通穴および下穴に内側から外側に通された締結具によってバッテリコネクタが立壁の外側に締結されるバッテリコネクタの組付構造であって、バッテリカバーとプレートとの間において、貫通穴を取り囲むように配置された防水部を備える。
【選択図】図21
特許請求の範囲
【請求項1】
バッテリパックを格納し、外側から内側へ貫通する貫通穴が開設された立壁を備えるバッテリカバーと、
前記バッテリカバーに備え、前記貫通穴に対応する位置に下穴を有するバッテリコネクタと、
ネジ部および頭部を有する締結具と、
前記下穴に対応する位置に前記頭部が固着された外側面を有するプレートと、
を備え、
前記ネジ部が前記貫通穴および前記下穴に前記内側から前記外側に通された前記締結具によって前記バッテリコネクタが前記立壁の前記外側に締結されるバッテリコネクタの組付構造であって、
前記バッテリカバーと前記プレートとの間において、前記貫通穴を取り囲むように配置された防水部を備える、
バッテリコネクタの組付構造。
続きを表示(約 770 文字)
【請求項2】
前記防水部は、さらに、前記プレートの前記外側面と前記立壁の内側面との間の隙間を埋めるように配置される、
請求項1に記載のバッテリコネクタの組付構造。
【請求項3】
前記プレートの前記外側面には、前記頭部が溶着され、
前記プレートの前記外側面は、前記頭部との間の隙間を埋めるように形成され、前記防水部としての機能を有している、
請求項1に記載のバッテリコネクタの組付構造。
【請求項4】
請求項1に記載のバッテリコネクタの組付構造と、
前記バッテリパックを収容する収容部を有するバッテリケースと、
前記立壁を有し、前記立壁の内側が前記収容部側となるように配置されるバッテリカバーと、
を備える、
バッテリユニット。
【請求項5】
請求項4に記載のバッテリユニットを車両側に所定力で引き込んだ場合、前記バッテリユニットが前記所定力に対する反力を受けるように、前記バッテリユニットを前記車両側に引き込んだ状態で拘束する拘束部材を備える、
バッテリユニットの支持構造。
【請求項6】
前記拘束部材は、前記バッテリコネクタが配置される位置の両側位置のそれぞれに対向するように配置されている、
請求項5に記載のバッテリユニットの支持構造。
【請求項7】
前記両側位置の一方に配置された第1ストライカを介して前記バッテリユニットを車両側に引き込む前記拘束部材としての第1ラッチと、
前記両側位置の他方に配置された第2ストライカを介して前記バッテリユニットを車両側に引き込む前記拘束部材としての第2ラッチと、
を備える、
請求項6に記載のバッテリユニットの支持構造。
発明の詳細な説明
【技術分野】
【0001】
本開示は、バッテリコネクタの組付構造、バッテリユニット、および、バッテリユニットの支持構造に関する。
続きを表示(約 1,600 文字)
【背景技術】
【0002】
電気自動車や、ハイブリッド自動車のような車両には、駆動源としての電動モータと、電動モータを駆動させる電力源としてのバッテリユニットが搭載されている。
【0003】
例えば、バッテリユニットとしては、バッテリパックと、バッテリケースと、バッテリカバーと、コネクタと、バスバーとを備えている。バッテリケースは、バッテリパックを収容する収容部を有している。バッテリパックは複数のバッテリモジュールを有している。収容部は正面側に開放されている。バッテリカバーは、壁部を有している。バッテリパックが収容部に収容された後、壁部が収容部を正面側から覆うようにバッテリカバーがバッテリケースに組み付けられる。バッテリコネクタは、壁部の外面側には配置されている。バッテリコネクタは、締結具によりバッテリカバーに締結される。なお、ボルトには、プレートに溶接されるスタッドボルトが用いられる。
【0004】
また、バッテリコネクタの組付構造として、例えば、プレートに設けられるボルト穴は、袋形状にされ、かつ、プレートとバッテリコネクタとの間に防水シールが配置され、壁部に付着した雨水などの水分がバッテリコネクタ側から収容部側に移動するのを防止することで、バッテリユニットの水密性を確保する構造が提案されている。
【0005】
また、バッテリユニットとして、例えば、バッテリモジュールと、バッテリモジュールを吊り下げた状態で保持する上部フレーム部材と、上部フレーム部材に保持されたバッテリモジュールを収容するバッテリケースと、バッテリケースの上部開口を覆うバッテリカバーと、バッテリケースとバッテリカバーとを封止するシール部材と、を備え、バッテリユニットの水密性を確保することが記載されている(特許文献1参照)。
【先行技術文献】
【特許文献】
【0006】
特開2017-165301号公報
【発明の概要】
【発明が解決しようとする課題】
【0007】
ところで、上記のバッテリコネクタの組付構造においては、バッテリコネクタ裏側のスペースに余裕がない場合、プレートに設けられるボルト穴を袋形状にすることができないため、水密性を確保することが困難になる場合がある。
また、特許文献1に記載されたバッテリユニットにおいては、バッテリユニットの形態等によって、シール材を用いることができない場合があるため、水密性を確保することが困難になる場合がある。
【0008】
以上により、水密性を確保することが困難となる。
【0009】
本開示の目的は、水密性を確保することが可能なバッテリコネクタの組付構造、バッテリユニット、および、バッテリユニットの支持構造を提供することである。
【課題を解決するための手段】
【0010】
上記の目的を達成するため、本開示におけるバッテリコネクタの組付構造は、
バッテリパックを格納し、外側から内側へ貫通する貫通穴が開設された立壁を備えるバッテリカバーと、
前記貫通穴に対応する位置に下穴を備えるバッテリコネクタと、
ネジ部および頭部を有する締結具と、
前記下穴に対応する位置に前記頭部が固着された外側面を有するプレートと、
を備え、
前記ネジ部が前記貫通穴および前記下穴に前記内側から前記外側に通された前記締結具によって前記バッテリコネクタが前記立壁の前記外側に締結されるバッテリコネクタの組付構造であって、
前記バッテリカバーと前記プレートとの間において、前記貫通穴を取り囲むように配置された防水部を備える。
(【0011】以降は省略されています)
この特許をJ-PlatPat(特許庁公式サイト)で参照する
関連特許
個人
タイヤレバー
3か月前
個人
前輪キャスター
2か月前
個人
上部一体型自動車
1か月前
個人
タイヤ脱落防止構造
2か月前
個人
ホイルのボルト締結
4か月前
個人
空間形成装置
22日前
個人
ルーフ付きトライク
3か月前
日本精機株式会社
表示装置
3か月前
日本精機株式会社
照明装置
17日前
日本精機株式会社
表示装置
3か月前
個人
マスタシリンダ
1か月前
個人
車両通過構造物
3か月前
日本精機株式会社
表示装置
3か月前
日本精機株式会社
表示装置
3か月前
個人
車両用スリップ防止装置
4か月前
個人
常設収納型サンバイザー
28日前
個人
乗合路線バスの客室装置
4か月前
個人
アクセルのソフトウェア
4か月前
個人
回転窓ワイパー装置
22日前
個人
音声ガイド、音声サービス
4か月前
日本精機株式会社
車載表示装置
2か月前
日本精機株式会社
車載表示装置
23日前
株式会社ニフコ
収納装置
2か月前
日本精機株式会社
車載表示装置
4か月前
株式会社豊田自動織機
産業車両
3か月前
株式会社ニフコ
保持装置
4か月前
株式会社豊田自動織機
産業車両
17日前
個人
円湾曲ホイール及び球体輪
4か月前
日本精機株式会社
画像投映装置
1か月前
個人
車載小物入れ兼雨傘収納具
4か月前
日本精機株式会社
車室演出装置
2か月前
株式会社ニフコ
照明装置
3か月前
日本精機株式会社
車載表示装置
25日前
日本精機株式会社
車載表示装置
1か月前
日本精機株式会社
車両用表示装置
1か月前
日本精機株式会社
車両用表示装置
3か月前
続きを見る
他の特許を見る