TOP
|
特許
|
意匠
|
商標
特許ウォッチ
Twitter
他の特許を見る
公開番号
2025169000
公報種別
公開特許公報(A)
公開日
2025-11-12
出願番号
2024073937
出願日
2024-04-30
発明の名称
電動車両の制御システム
出願人
いすゞ自動車株式会社
代理人
弁理士法人鷲田国際特許事務所
主分類
B60L
53/80 20190101AFI20251105BHJP(車両一般)
要約
【課題】バッテリ交換時において、車両起動操作が行われる事態を抑制し得る電動車両の制御システムを提供すること。
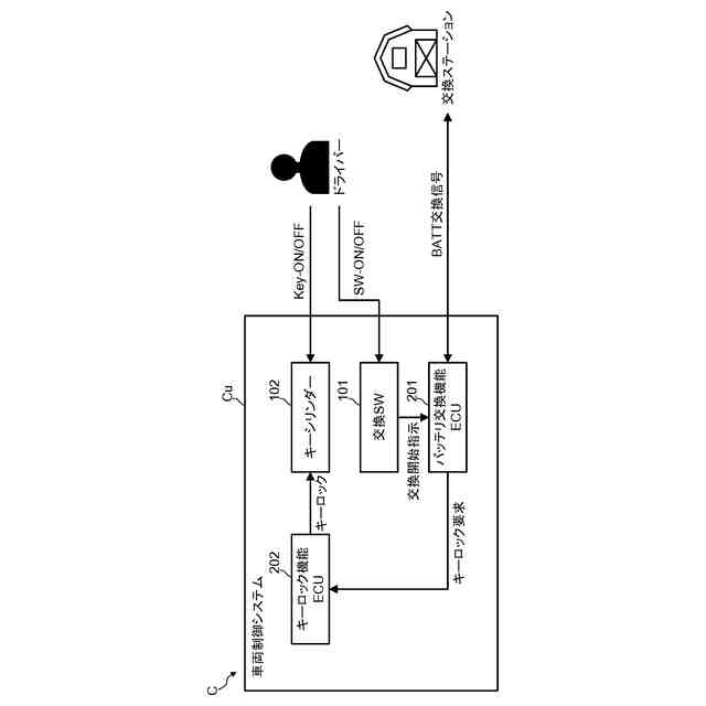
【解決手段】本開示に係る電動車両Cの制御システムCuは、キーシリンダ102と、キーロック機能ECU202と、バッテリ交換スイッチ101と、バッテリ交換機能ECU201と、を備え、バッテリ交換機能ECU201は、バッテリ11の交換指令を受け付けた場合、キーシリンダ102をアンロック状態からロック状態に切り替え、バッテリ11の交換動作が開始されてから終了するまでの間、キーシリンダ102のロック状態を維持すると共に、バッテリ11の交換動作が終了したことを契機として、キーシリンダ102をロック状態からアンロック状態に切り替える。
【選択図】図7
特許請求の範囲
【請求項1】
バッテリを搭載する電動車両の制御システムであって、
前記車両のイグニッションスイッチとして機能するキーシリンダと、
前記キーシリンダのロック状態とアンロック状態とを切り替え制御するキーロック制御部と、
前記バッテリの交換指令を受け付けるバッテリ交換スイッチと、
前記バッテリの交換時に、前記車両外部のバッテリ交換ステーションと通信し、前記バッテリの交換動作を制御すると共に、前記キーロック制御部と連携動作するバッテリ交換制御部と、
を備え、
前記バッテリ交換制御部は、
前記バッテリ交換スイッチにて前記バッテリの交換指令を受け付けた場合、前記キーシリンダを前記アンロック状態から前記ロック状態に切り替え、
前記バッテリの交換動作が開始されてから終了するまでの間、前記キーシリンダの前記ロック状態を維持すると共に、前記バッテリの交換動作が終了したことを契機として、前記キーシリンダを前記ロック状態から前記アンロック状態に切り替える
制御システム。
続きを表示(約 380 文字)
【請求項2】
前記バッテリ交換制御部は、前記バッテリ交換スイッチにて前記バッテリの交換指令を受け付けた場合、前記バッテリの交換の開始準備が整ったタイミングで、前記キーシリンダを前記アンロック状態から前記ロック状態に切り替える
請求項1に記載の制御システム。
【請求項3】
前記バッテリ交換制御部は、前記バッテリの交換が終了した旨の通知を、前記バッテリ交換ステーションから受け付けたタイミングで、前記キーシリンダを前記ロック状態から前記アンロック状態へと切り替える
請求項1に記載の制御システム。
【請求項4】
前記バッテリ交換制御部は、前記バッテリの交換動作が開始されてから終了するまでの間、ユーザに対して、前記バッテリの交換動作を実行中である旨を報知する
請求項1に記載の制御システム。
発明の詳細な説明
【技術分野】
【0001】
本開示は、電動車両の制御システムに関する。
続きを表示(約 1,400 文字)
【背景技術】
【0002】
従来、バッテリを搭載した電動車両(例えば、電動自動車や、電動スクーター)が知られている。
【0003】
近年、この種の電動車両において、バッテリ交換システムが搭載されるケースが増えてきている。かかるバッテリ交換システムは、一般に、車両に搭載されているバッテリの貯蔵電力が減少してきたときに、当該バッテリに対してその都度充電する代わりに、当該バッテリを、バッテリ交換ステーションにてフル充電が行われた別のバッテリと交換する、というコンセプトで設計されている(例えば、特許文献1を参照)。
【0004】
この種のバッテリ交換システムにおいては、通常、ECU(Electronic Control Unit)の制御のもと、バッテリを車両フレームに支持固定するロック機構(例えば、後述する図3、図4を参照)の動作が制御され、車両フレームからのバッテリの取り外し及び/又は車両フレームへのバッテリの取り付けが実施される。この際、ECUは、バッテリ交換ステーションと通信を確立した上で、バッテリ交換ステーションのバッテリ交換機と連携して、バッテリ交換機が、車両に搭載されたバッテリの交換を行う。
【先行技術文献】
【特許文献】
【0005】
特願2023-134543号
特開2000-225923号公報
【発明の概要】
【発明が解決しようとする課題】
【0006】
ところで、この種のバッテリ交換システムは、現在、開発途上にあり、実際に車両を使用している中で起こりえる様々な問題を洗い出し、車両の制御システム全体として最適化するまでには、到っていない。
【0007】
このような背景で、本願の発明者は、実際に車両が使用されている中では、ドライバが、バッテリ交換中に車両の起動操作(即ち、キーシリンダにおけるイグニッションスイッチON操作)を行ってしまうおそれがある、という課題に想到した。そのような場合、キーシリンダからの車両起動指令を受けて、バッテリと車両の駆動モータとを接続する電路中のシステムメインリレーがオン状態になり、バッテリの端子部に発生する高電圧が、未接続状態の車両側のバッテリコネクタに印加され、アーク放電が発生するおそれがある。その結果、バッテリコネクタが溶着してしまったり、その他の部品を破損させてしまう等の事態が発生する。
【0008】
尚、システムメインリレーは、例えば、バッテリ側の出力部に配設され、車両起動操作が行われた場合、車両を走行可能な状態となるため、オン状態となるように設計されている。
【0009】
又、通常、バッテリ交換途中で、車両起動操作が行われると、危険回避のため、ECUは、バッテリ交換ステーションにバッテリ交換動作の非常停止指令を通知することになる。その結果、無用にバッテリ交換動作のやり直しが発生したり、バッテリ交換ステーションのバッテリ交換機の誤動作を誘起するおそれがある。
【0010】
本開示は、上記の問題点に鑑みてなされたもので、バッテリ交換時において、車両起動操作が行われる事態を抑制し得る電動車両の制御システムを提供することを目的とする。
【課題を解決するための手段】
(【0011】以降は省略されています)
この特許をJ-PlatPat(特許庁公式サイト)で参照する
関連特許
いすゞ自動車株式会社
車両用灯具
9日前
いすゞ自動車株式会社
排気処理装置
1日前
いすゞ自動車株式会社
姿勢補正装置
14日前
いすゞ自動車株式会社
バッテリ取付構造
9日前
いすゞ自動車株式会社
バッテリー交換台車
9日前
いすゞ自動車株式会社
バッテリの組立構造
9日前
いすゞ自動車株式会社
バッテリの支持構造
9日前
いすゞ自動車株式会社
バッテリの支持構造
9日前
いすゞ自動車株式会社
バッテリの支持構造
9日前
いすゞ自動車株式会社
電動車両の制御システム
9日前
いすゞ自動車株式会社
電動車両の制御システム
9日前
いすゞ自動車株式会社
電動車両の制御システム
9日前
いすゞ自動車株式会社
バッテリ取付装置、及び車両
9日前
いすゞ自動車株式会社
バッテリ取付装置、及び車両
9日前
いすゞ自動車株式会社
電動車両のバッテリ交換システム
9日前
いすゞ自動車株式会社
バッテリコネクタの組付構造、バッテリユニット、および、バッテリユニットの支持構造
9日前
個人
タイヤレバー
3か月前
個人
前輪キャスター
2か月前
個人
上部一体型自動車
1か月前
個人
ルーフ付きトライク
3か月前
個人
ホイルのボルト締結
4か月前
個人
タイヤ脱落防止構造
2か月前
個人
空間形成装置
22日前
日本精機株式会社
表示装置
3か月前
日本精機株式会社
表示装置
3か月前
日本精機株式会社
照明装置
17日前
日本精機株式会社
表示装置
3か月前
個人
マスタシリンダ
1か月前
個人
車両通過構造物
3か月前
日本精機株式会社
表示装置
3か月前
個人
常設収納型サンバイザー
28日前
個人
アクセルのソフトウェア
4か月前
個人
乗合路線バスの客室装置
4か月前
個人
車両用スリップ防止装置
4か月前
日本精機株式会社
車載表示装置
4か月前
日本精機株式会社
車室演出装置
2か月前
続きを見る
他の特許を見る