TOP
|
特許
|
意匠
|
商標
特許ウォッチ
Twitter
他の特許を見る
10個以上の画像は省略されています。
公開番号
2025168972
公報種別
公開特許公報(A)
公開日
2025-11-12
出願番号
2024073888
出願日
2024-04-30
発明の名称
採光装置
出願人
YKK AP株式会社
,
個人
代理人
弁理士法人酒井国際特許事務所
主分類
F21S
11/00 20060101AFI20251105BHJP(照明)
要約
【課題】眩しさを抑えて室内を明るくする。
【解決手段】建物に設けられた開口部BOを通じて建物の内部に外光を取り入れるための採光装置であって、透光性を有した樹脂によって成形され、上方に向いて傾斜した室外側の入射面30eと、上方に向いて傾斜した室内側の出射面30fと、入射面30eから入射した光を出射面30fに向けて反射する内部反射面30dとが設けられた採光部を有する。
【選択図】図17
特許請求の範囲
【請求項1】
建物に設けられた開口部を通じて建物の内部に外光を取り入れるための採光装置であって、
透光性を有した樹脂によって成形され、上方に向いて傾斜した室外側の入射面と、上方に向いて傾斜した室内側の出射面と、前記入射面から入射した光を前記出射面に向けて反射する内部反射面とが設けられた採光部を有することを特徴とする採光装置。
続きを表示(約 610 文字)
【請求項2】
前記採光部が上下に複数並設されていることを特徴とする請求項1に記載の採光装置。
【請求項3】
前記複数の採光部において鉛直面から前記入射面までの傾斜角度は、上方に配置されたものが下方に配置されたものよりも大となる部分を含むことを特徴とする請求項2に記載の採光装置。
【請求項4】
前記複数の採光部は、室外側の縁部及び室内側の縁部が交互に連結されていることを特徴とする請求項2に記載の採光装置。
【請求項5】
前記出射面には、拡散用の凸部が設けられていることを特徴とする請求項1に記載の採光装置。
【請求項6】
前記採光部は、3Dプリンターによって成形された成形体であることを特徴とする請求項1に記載の採光装置。
【請求項7】
外光を拡散して室内に入射させる調光部を有し、前記調光部及び前記採光部が上下に並設されていることを特徴とする請求項1に記載の採光装置。
【請求項8】
前記調光部は、複数の突条部が並設された2つの調光層を有し、前記2つの調光層は前記突条部が互いに直交する方向に延在する状態で相互に積層配置されていることを特徴とする請求項7に記載の採光装置。
【請求項9】
前記調光部は、3Dプリンターによって成形された成形体であることを特徴とする請求項7に記載の採光装置。
発明の詳細な説明
【技術分野】
【0001】
本発明は、外光を建物の内部に取り入れる採光装置に関する。
続きを表示(約 1,800 文字)
【背景技術】
【0002】
この種の採光装置としては、建物の開口部に複数の反射板を上下に並設することにより、外光を反射させて室内に取り入れるようにしたものが提供されている(例えば、特許文献1参照)。
【先行技術文献】
【特許文献】
【0003】
特開2019-8960号公報
【発明の概要】
【発明が解決しようとする課題】
【0004】
上述の採光装置では、反射板の一部として、上面が光を拡散させるように仕上げられた光拡散反射板を適用し、眩しさを感じないように考慮されている。しかしながら、反射板として鏡面反射板を適用した箇所にあっては、指向性を有する反射光がそのまま室内に照射されるため、眩しさを抑えることが困難である。
【0005】
本発明は、上記実情に鑑みて、眩しさを抑えて室内を明るくすることのできる採光装置を提供することを目的とする。
【課題を解決するための手段】
【0006】
上記目的を達成するため、本発明に係る採光装置は、建物に設けられた開口部を通じて建物の内部に外光を取り入れるための採光装置であって、透光性を有した樹脂によって成形され、上方に向いて傾斜した室外側の入射面と、上方に向いて傾斜した室内側の出射面と、前記入射面から入射した光を前記出射面に向けて反射する内部反射面とが設けられた採光部を有することを特徴とする。
【発明の効果】
【0007】
本発明によれば、採光部を構成する樹脂の内部を通過して外光が室内に出射されるため、眩しさを抑えて室内を明るくすることが可能となる。
【図面の簡単な説明】
【0008】
本発明の実施の形態である採光装置を適用した建物を概念的に示す横断面図である。
図1におけるX-X線断面図である。
図1におけるY-Y線断面図である。
図1に示した採光装置を室外側から見た正面図である。
図1に示した採光装置の側面図である。
図1に示した採光装置の縦断面図である。
図1に示した採光装置を室外側から見た斜視図である。
図1に示した採光装置を室内側から見た斜視図である。
図1に示した採光装置の採光部及び調光部を室外側から見た斜視図である。
図1に示した採光装置の採光部及び調光部を室内側から見た斜視図である。
図1に示した採光装置の調光部を室内側から見た斜視図である。
図11に示した調光部の第1調光層を室内側から見た斜視図及び一部拡大図である。
図11に示した調光部の第2調光層を室内側から見た斜視図及び一部拡大図である。
図1に示した採光装置の採光部を室外側から見たもので、(a)は斜視図、(b)は要部拡大断面図である。
図1に示した採光装置の採光部を室内側から見た斜視図である。
図14に示した採光部の縦断面図である。
図1に示した採光装置の採光部を模式的に示すもので、(a)は単一の採光部の側面図、(b)は複数の採光部を連結した状態の側面図である。
【発明を実施するための形態】
【0009】
以下、添付図面を参照しながら本発明に係る採光装置の好適な実施の形態について詳細に説明する。
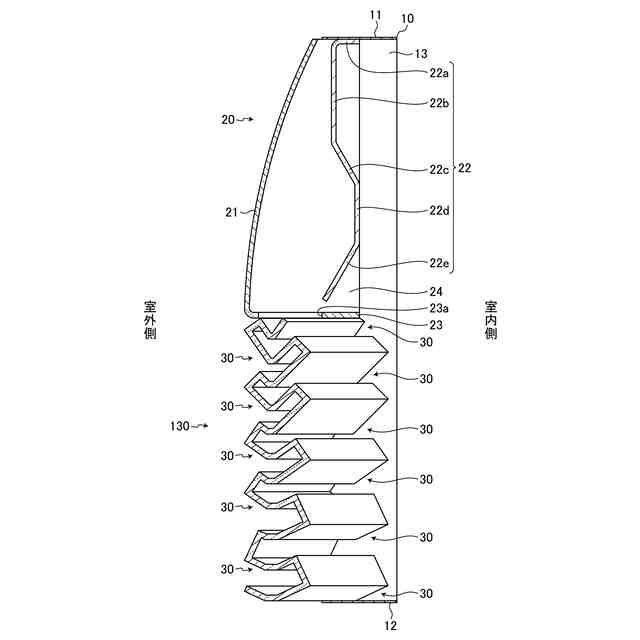
図1~図3は、本発明の実施の形態である採光装置を適用した建物の要部を示したものである。ここで例示する採光装置は、例えば家屋等の建物に設けられた開口部BOにおいて建具Wよりも室外側となる部分に取り付けられるもので、図4~図10に示すように、装置枠10、調光部20、採光部30を備えている。
【0010】
装置枠10は、上枠11、下枠12、左右の縦枠13を四周組みすることによって構成したものである。装置枠10を構成する上枠11、下枠12、縦枠13は、それぞれアルミニウム合金等の金属によって成形したもので、長手に沿った全長にわたる部分がほぼ一様の断面形状を有するように構成してある。図示の例では、室内外方向に沿って延在した平板状を成す上枠11、下枠12、縦枠13を適用している。
(【0011】以降は省略されています)
この特許をJ-PlatPat(特許庁公式サイト)で参照する
関連特許
YKK AP株式会社
防火ドア
今日
YKK AP株式会社
採光装置
8日前
YKK AP株式会社
壁パネル
13日前
YKK AP株式会社
改装建具
16日前
YKK AP株式会社
建具および押縁
13日前
YKK AP株式会社
改装建具及び改装建具の施工方法
1日前
YKK AP株式会社
枠連結構造、建具および壁パネル
14日前
YKK AP株式会社
窓枠のシール構造および壁パネル
15日前
YKK AP株式会社
外付け部品の取付構造および壁パネル
15日前
YKK AP株式会社
防水プレートの取付構造および壁パネル
15日前
個人
室外機器
5か月前
個人
照明装置
13日前
個人
照明システム
4か月前
個人
車載機器の通気構造
2か月前
個人
気泡を用いた遊具。
7か月前
個人
消火器設置表示装置
24日前
株式会社遠藤照明
照明器具
6か月前
株式会社遠藤照明
照明装置
2か月前
能美防災株式会社
表示灯
2か月前
デンカ株式会社
照明装置
5か月前
個人
LEDライト
4か月前
株式会社小糸製作所
車両用灯具
1か月前
株式会社小糸製作所
車両用灯具
1か月前
デンカ株式会社
道路用照明
5か月前
アクア株式会社
冷蔵庫
3か月前
瀧住電機工業株式会社
ダクトレール
8か月前
株式会社小糸製作所
誘導装置
1か月前
スタンレー電気株式会社
照射用光源
1か月前
フルトラム株式会社
光学機器
1か月前
株式会社小糸製作所
投光装置
2か月前
株式会社小糸製作所
投光装置
2か月前
株式会社小糸製作所
車両用灯具
1か月前
株式会社小糸製作所
車両用灯具
4か月前
株式会社小糸製作所
車両用灯具
28日前
株式会社小糸製作所
車両用灯具
7か月前
株式会社小糸製作所
車両用灯具
5か月前
続きを見る
他の特許を見る