TOP
|
特許
|
意匠
|
商標
特許ウォッチ
Twitter
他の特許を見る
公開番号
2025171216
公報種別
公開特許公報(A)
公開日
2025-11-20
出願番号
2024076319
出願日
2024-05-09
発明の名称
防火ドア
出願人
YKK AP株式会社
代理人
弁理士法人樹之下知的財産事務所
主分類
E06B
5/16 20060101AFI20251113BHJP(戸,窓,シャッタまたはローラブラインド一般;はしご)
要約
【課題】火災時における開口部の開き抑制をして防火性を保つことのできる防火ドアを提供すること。
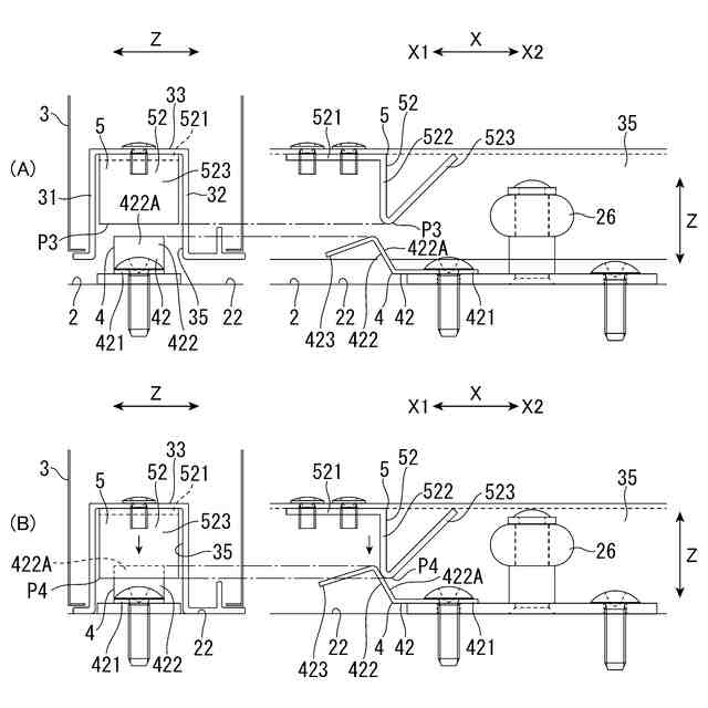
【解決手段】防火ドアは、開口部を区画するドア枠2と、開口部を開閉する扉体3とを備え、ドア枠2および扉体3の間には、扉体3を支持する吊車ユニット6が構成される。吊車ユニット6の一部には、当該吊車ユニット6の他の部分よりも溶融温度の低い低融性を有する車輪612が構成される。ドア枠2側には被係合部4としての被係合部材41が設けられ、扉体3側には、被係合部4に対して高さ位置の異なる位置であってX1方向において被係合部4と係合しない非係合位置P3に配置される係合部5としての軸部材611が設けられる。軸部材611は、開口部の開口閉鎖位置にある扉体3が車輪612の溶融に基づいて下がった状態で、被係合部材41に対してX1方向に係合する係合位置に配置される。
【選択図】図3
特許請求の範囲
【請求項1】
開口部を区画する枠体と、前記開口部を開閉する扉体とを備える防火ドアであって、
前記枠体および前記扉体の間には、前記扉体を支持する支持部が構成され、
前記支持部の一部には、当該支持部の他の部分よりも溶融温度の低い低融性を有する低融部が構成され、
前記枠体側には被係合部が設けられ、
前記扉体側には、前記被係合部に対して高さ位置の異なる位置であって前記開口部の開放方向において前記被係合部と係合しない非係合位置に配置される係合部が設けられ、
前記係合部は、前記開口部を閉鎖する開口閉鎖位置にある前記扉体が前記低融部の溶融に基づいて下がった状態で、前記被係合部に対して前記開放方向に係合する係合位置に配置される
ことを特徴とする防火ドア。
続きを表示(約 1,400 文字)
【請求項2】
請求項1に記載の防火ドアにおいて、
前記開口部の開閉方向において、前記開口閉鎖位置と前記扉体が前記開口部を開放する開口開放位置との間で当該扉体を開閉移動させると共に、少なくとも前記開口閉鎖位置で前記扉体を停止可能な自動ドアとして構成される
ことを特徴とする防火ドア。
【請求項3】
請求項1に記載の防火ドアにおいて、
前記扉体は、前記開口部に沿ってスライド移動可能に前記枠体に支持され、
前記係合部および前記被係合部は、前記扉体が下がった状態で当該扉体のスライド方向で対向して配置される
ことを特徴とする防火ドア。
【請求項4】
請求項3に記載の防火ドアにおいて、
前記扉体の上部に設けられる吊車と、前記開口部の開閉方向において前記吊車が走行可能に前記枠体に設けられるレール部材とを有する吊車ユニットを備え、
前記吊車は、前記係合部としての軸部材と、前記軸部材に転動可能に支持される前記低融部としての車輪とを備え、
前記レール部材には、前記軸部材の位置に対して下方側の位置に配置される前記被係合部が設けられる
ことを特徴とする防火ドア。
【請求項5】
請求項3に記載の防火ドアにおいて、
前記係合部および前記被係合部は、それぞれ折曲された板材で構成され、
前記係合部は、前記扉体の戸尻側下部に配置され、
前記被係合部は、前記係合部の位置に対して下方側の位置で前記枠体に設けられる
ことを特徴とする防火ドア。
【請求項6】
請求項3に記載の防火ドアにおいて、
前記係合部および前記被係合部は、それぞれ折曲された板材で構成され、
前記係合部は、前記扉体の戸先側下部に配置され、
前記被係合部は、前記係合部の位置に対して下方側の位置で前記枠体に設けられる
ことを特徴とする防火ドア。
【請求項7】
請求項3に記載の防火ドアにおいて、
前記扉体が前記開口閉鎖位置に配置される閉鎖状態で当該扉体を前記枠体に施錠可能に前記枠体および前記扉体に構成される錠装置を備え、
前記錠装置は、前記扉体側に設けられる開口を備え、
前記係合部は、前記開口の上部で形成される係合片で構成され、
前記被係合部は、前記枠体側において前記開放方向に向かって斜め上に傾斜した被係合片で構成され、
前記被係合片は、前記非係合位置で前記開口に挿抜可能に配置され且つ前記係合位置で前記係合片が係合する
ことを特徴とする防火ドア。
【請求項8】
請求項1に記載の防火ドアにおいて、
前記係合部および前記被係合部のうちの一方は、前記開口閉鎖位置側よりも前記扉体が前記開口部を開放する開口開放位置側の方が高い位置に配置されるように前記開放方向に対して傾斜すると共に、前記係合部および前記被係合部のうちの他方が当接する傾斜面を有する
ことを特徴とする防火ドア。
【請求項9】
請求項1に記載の防火ドアにおいて、
前記係合部および前記被係合部のうちの一方は、前記扉体の開放移動によって前記係合部および前記被係合部の係合を解除可能に弾性変形する弾性変形部を有する
ことを特徴とする防火ドア。
発明の詳細な説明
【技術分野】
【0001】
本発明は、火災時における開口部の開き抑制をする防火ドアに関する。
続きを表示(約 2,300 文字)
【背景技術】
【0002】
従来、防火ドアとして、扉体の上端部に設けた吊り車ユニットがレールを走行することで、引き戸枠で区画される開口部を開閉する上吊式の引戸が知られている(特許文献1参照)。この引戸は自動開閉する自動ドアとして構成されており、吊り車ユニットは、当該吊り車ユニットの樹脂製ローラが溶解ないし変形時に、扉体下がり量を規制する扉体下がり量規制部を有している。扉体下がり量規制部は、略方形状の金属プレートであって下端縁が下方に膨出する湾曲縁とされている。この扉体下がり量規制部は、扉体が下がったときに、樹脂製ローラが走行するレール部材における水平辺に当接(着地)することで、扉体下がり量を規制するようになっている。
【先行技術文献】
【特許文献】
【0003】
特開2021-67108号公報
【発明の概要】
【発明が解決しようとする課題】
【0004】
ところで、特許文献1に記載の引戸は、扉体が下がったときに、扉体下がり量規制部がレール部材の水平辺に着地することで扉体下がり量を規制するだけであるので、扉体が開口部を開く開放方向の移動に抗する力を大きくすることが困難であり、火災時に扉体が開放方向に開いてしまった場合には防火性が低下するおそれがある。特に、特許文献1に記載の引戸のように自動ドアで構成される場合には、一般的に、自動開閉の支障になるラッチは設けないので、火災時において扉体が開放方向に開くことを抑制することが、より困難である。
【0005】
本発明の目的は、火災時における開口部の開き抑制をして防火性を保つことのできる防火ドアを提供することにある。
【課題を解決するための手段】
【0006】
本発明の防火ドアは、開口部を区画する枠体と、前記開口部を開閉する扉体とを備える防火ドアであって、前記枠体および前記扉体の間には、前記扉体を支持する支持部が構成され、前記支持部の一部には、当該支持部の他の部分よりも溶融温度の低い低融性を有する低融部が構成され、前記枠体側には被係合部が設けられ、前記扉体側には、前記被係合部に対して高さ位置の異なる位置であって前記開口部の開放方向において前記被係合部と係合しない非係合位置に配置される係合部が設けられ、前記係合部は、前記開口部を閉鎖する開口閉鎖位置にある前記扉体が前記低融部の溶融に基づいて下がった状態で、前記被係合部に対して前記開放方向に係合する係合位置に配置される。
【発明の効果】
【0007】
本発明によれば、火災時における開口部の開き抑制をして防火性を保つことのできる防火ドアを提供することができる。
【図面の簡単な説明】
【0008】
本発明の実施形態に係る防火ドアを示す外観姿図。
前記実施形態に係る防火ドアを示す縦断面図。
前記実施形態に係る防火ドアの吊車ユニットを示す縦断面説明図。
前記実施形態に係る防火ドアの戸尻側下部を示す説明図。
前記実施形態に係る防火ドアの戸先側下部を示す説明図。
前記実施形態に係る防火ドアの錠装置を示す説明図。
前記実施形態に係る防火ドアの変形例を示す説明図。
【発明を実施するための形態】
【0009】
[本実施形態の構成]
以下、本発明の実施形態を図面に基づいて説明する。
図1および図2において、本実施形態に係る防火ドア1は、建物の玄関などにおける開口部を開閉可能に設けられている。防火ドア1は、建物の開口部10を区画するドア枠2(枠体)と、開口部10を開閉可能にドア枠2に支持される扉体3とを備えている。ドア枠2には、被係合部4が設けられており、扉体3には、被係合部4に対して高さ位置の異なる位置であって開口部10の開放方向(後述するX1方向)において被係合部4と係合しない非係合位置P3に配置される係合部5が設けられている。係合部5は、後述するように火災時に樹脂製の車輪612が溶融して扉体3が下がった状態では、被係合部4に対してX1方向に対向する。
以下の説明において、防火ドア1の左右方向(開口部10の開閉方向、扉体3のスライド方向)をX軸方向とし、防火ドア1の上下方向をY軸方向とし、防火ドア1の見込み方向をZ軸方向とする。X,Y,Z軸方向は互いに直交する。また、X軸方向において、開口部10を開放する開放方向をX1方向とし、開口部10を閉鎖する閉鎖方向をX2方向とする。なお、本実施形態においては、室外側はZ軸方向における一方側であり、室内側はZ軸方向における他方側を意味する。
【0010】
防火ドア1は、X軸方向において、電動モータ(図示省略)の作動により、扉体3が開口部10を開放する開口開放位置P2と扉体が開口部10を閉鎖する開口閉鎖位置P1との間で、扉体3を開口部10に沿って開閉移動(スライド移動)させると共に、少なくとも開口閉鎖位置P1で扉体3を停止可能な上吊り式の自動ドアで構成されている。なお、防火ドア1は、電動モータの作動により扉体3を開口閉鎖位置P1で停止するので、開口部10の閉鎖状態を保持するために扉体3を開口閉鎖位置P1に停止させる機械的なラッチ機構などは開閉の支障となるおそれがあるため構成していない。なお、自動ドアにおいてラッチ機構を構成すること自体は電動化などによって可能であるが、構造が複雑となってコスト高となるので一般的には構成されない。
(【0011】以降は省略されています)
この特許をJ-PlatPat(特許庁公式サイト)で参照する
関連特許
YKK AP株式会社
建具
1か月前
YKK AP株式会社
防火ドア
1日前
YKK AP株式会社
採光装置
9日前
YKK AP株式会社
壁パネル
14日前
YKK AP株式会社
改装建具
17日前
YKK AP株式会社
建具および押縁
14日前
YKK AP株式会社
枠体の取付構造
1か月前
YKK AP株式会社
スクリーン用生地
23日前
YKK AP株式会社
ユニットカーテンウォール
1か月前
YKK AP株式会社
改装建具及び改装建具の施工方法
2日前
YKK AP株式会社
枠連結構造、建具および壁パネル
15日前
YKK AP株式会社
窓枠のシール構造および壁パネル
16日前
YKK AP株式会社
外付け部品の取付構造および壁パネル
16日前
YKK AP株式会社
防水プレートの取付構造および壁パネル
16日前
株式会社大林組
耐火構造、耐火板支持構造
1か月前
中国電力株式会社
脚立
3か月前
株式会社ナカオ
作業台
2か月前
株式会社ニチベイ
遮蔽装置
22日前
三協立山株式会社
開口部装置
2か月前
三協立山株式会社
開口部装置
2か月前
三協立山株式会社
開口部装置
2か月前
三協立山株式会社
開口部建材
15日前
三協立山株式会社
開口部建材
15日前
三協立山株式会社
開口部装置
2か月前
三協立山株式会社
開口部装置
2か月前
三協立山株式会社
開口部装置
1か月前
ミサワホーム株式会社
水切り材
2か月前
文化シヤッター株式会社
引戸装置
1か月前
不二サッシ株式会社
引違いサッシ
2か月前
豊田合成株式会社
調光装置
14日前
文化シヤッター株式会社
止水装置
1か月前
豊田合成株式会社
調光装置
1か月前
不二サッシ株式会社
引違いサッシ
1か月前
株式会社LIXIL
太陽電池ガラス
1か月前
三協立山株式会社
サッシの製造方法
2か月前
株式会社LIXIL
建具
1か月前
続きを見る
他の特許を見る