TOP
|
特許
|
意匠
|
商標
特許ウォッチ
Twitter
他の特許を見る
公開番号
2025152626
公報種別
公開特許公報(A)
公開日
2025-10-10
出願番号
2024054603
出願日
2024-03-28
発明の名称
ユニットカーテンウォール
出願人
YKK AP株式会社
代理人
弁理士法人一色国際特許事務所
主分類
E04B
2/96 20060101AFI20251002BHJP(建築物)
要約
【課題】デザイン上の自由度が高く、より意匠性に優れたユニットカーテンウォールを提供する。
【解決手段】屋外側に配置されてアウタースキンをなす膜と、屋内側に配置されるインナースキンをなし前記膜より剛性が高いパネルと、前記パネル及び前記膜の外周部を保持し、建物の構造体に支持される外周枠と、を有することを特徴とする。
【選択図】図2
特許請求の範囲
【請求項1】
屋外側に配置されてアウタースキンをなす膜と、
屋内側に配置されるインナースキンをなし前記膜より剛性が高いパネルと、
前記パネル及び前記膜の外周部を保持し、建物の構造体に支持される外周枠と、
を有することを特徴とするユニットカーテンウォール。
続きを表示(約 970 文字)
【請求項2】
請求項1に記載のユニットカーテンウォールであって、
前記膜は、周端部が固定枠に固定されて前記外周枠に取り付けられることを特徴とするユニットカーテンウォール。
【請求項3】
請求項2に記載のユニットカーテンウォールであって、
前記固定枠は、前記外周枠に取り付けられる押縁によりガスケットを介して固定されることを特徴とするユニットカーテンウォール。
【請求項4】
請求項2に記載のユニットカーテンウォールであって、
前記固定枠は、取付ねじにより前記外周枠に取り付けられることを特徴とするユニットカーテンウォール。
【請求項5】
請求項2乃至4のいずれかに記載のユニットカーテンウォールであって、
前記膜は、前記固定枠に取り付けられる固定部材により固定され、
前記固定枠は、周方向に繋がる凹部と、当該凹部と外部とを連通し周方向に繋がるスリットと、を有し、
前記固定部材は、固定ねじが挿通される挿通孔を有し前記スリットの両側にわたる架板部と、前記架板部から突出して前記膜とともに前記スリットを通って前記凹部に挿入される一対の挿入部と、を有し、
前記一対の挿入部は、前記挿通孔を挟んで両側にて互いに対向し、先端に前記スリットの縁に係止される係止片を有し、
前記固定部材は、前記挿通孔に挿通された前記固定ねじが前記一対の挿入部を互いに離れる方向に押圧して前記係止片が前記スリットの縁に係止されることを特徴とする。ユニットカーテンウォール。
【請求項6】
請求項4に記載のユニットカーテンウォールであって、
前記外周枠と前記固定枠とは、見込み方向に並べて配置され、
前記外周枠は、前記固定枠側に突出する外周枠突出片を有し、
前記固定枠は、前記外周枠側に突出する固定枠突出片と、前記固定枠突出片と見付け方向に間隔を空けて対向する固定枠対向片とを有し、
前記外周枠突出片と前記固定枠突出片は、見付け方向に対向して当接して見付け方向に貫通する前記取付ねじにより固定され、
前記固定枠対向片の先端部は、前記取付ねじの先端と係合することを特徴とするユニットカーテンウォール。
発明の詳細な説明
【技術分野】
【0001】
本発明は、ユニットカーテンウォールに関する。
続きを表示(約 1,500 文字)
【背景技術】
【0002】
従来から建物の外周部に配置され、見込み方向に間隔を空けて対向する2枚のガラスが枠体に保持されて建物の構造体に支持されるユニット化されたカーテンウォールユニットは知られている(特許文献1参照)。
【先行技術文献】
【特許文献】
【0003】
特開2011―111832号公報
【発明の概要】
【発明が解決しようとする課題】
【0004】
上記従来のカーテンウォールユニットは、建物の外周にガラスなど剛性が高い部材が露出するため建物全体のデザインがある程度限定されてしまう。このため、カーテンウォールユニットを用いた建物のデザインのバリエーションを増やし意匠性を高めることが求められている。
本発明は、かかる課題に鑑みてなされたものであり、その目的とするところは、デザイン上の自由度が高く、より意匠性に優れたユニットカーテンウォールを提供することにある。
【課題を解決するための手段】
【0005】
かかる目的を達成するために本発明のユニットカーテンウォールは、屋外側に配置されてアウタースキンをなす膜と、屋内側に配置されるインナースキンをなし前記膜より剛性が高いパネルと、前記パネル及び前記膜の外周部を保持し、建物の構造体に支持される外周枠と、を有することを特徴とする。
本発明の他の特徴については、本明細書及び添付図面の記載により明らかにする。
【発明の効果】
【0006】
本発明によれば、デザイン上の自由度が高く、より意匠性に優れたユニットカーテンウォールを提供することが可能である。
【図面の簡単な説明】
【0007】
第1実施形態に係るユニットカーテンウォールを示す外観図である。
図1におけるA-A断面図である。
図1におけるB-B断面図である。
網材の固定枠への固定構造を示す図である。
第1実施形態のユニットカーテンウォールにおける網材パネルの取り付け構造を説明する図である。
第1実施形態のユニットカーテンウォールにおける網材パネルが外周枠に取り付けられた状態を示す横断面図である。
第2実施形態のユニットカーテンウォールにおける網材パネルの取り付け構造を説明する図である。
第2実施形態のユニットカーテンウォールにおける網材パネルが外周枠に取り付けられた状態を示す横断面図である。
【発明を実施するための形態】
【0008】
以下、本発明の実施形態に係るユニットカーテンウォールについて図面を参照して説明する。
【0009】
<第1実施形態>
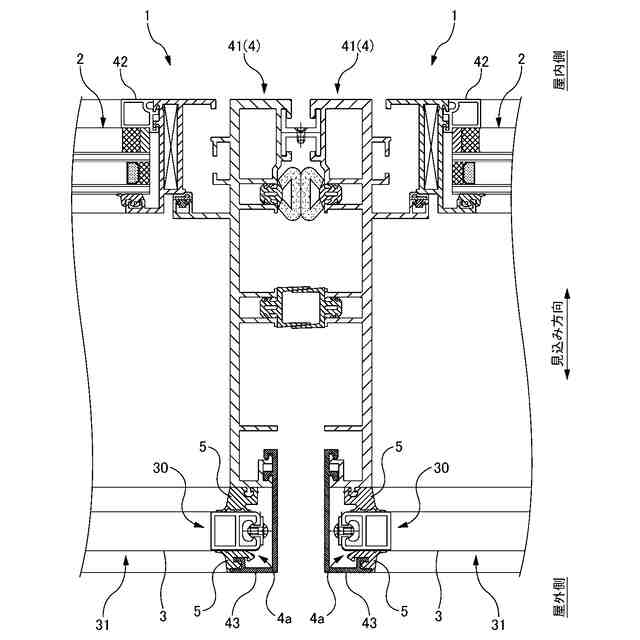
第1実施形態のユニットカーテンウォール1は、図1に示すように、上下方向及び左右方向に隣接させて建築物等の躯体に複数取り付けられて外壁を構成するユニット化されている。
【0010】
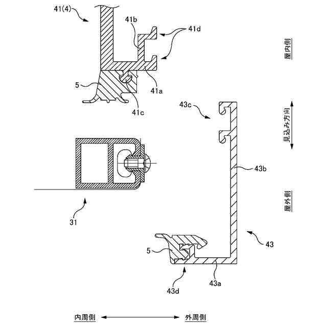
各ユニットカーテンウォール(以下、カーテンウォールという)1は、図2、図3に示すように、屋内側に配置されインナースキンをなすパネルとしての複層ガラス2と、屋外側に配置されアウタースキンをなす膜としての網材3と、複層ガラス2及び網材3の外周部を保持する外周枠4と、を有するダブルスキン構造をなしている。網材3は、矩形状をなす固定枠30に張設されてパネル状に形成された網材パネル31の状態で外周部が外周枠4に取り付けられる。網材パネル31については後に詳述する。
(【0011】以降は省略されています)
この特許をJ-PlatPat(特許庁公式サイト)で参照する
関連特許
YKK AP株式会社
防火ドア
1日前
YKK AP株式会社
採光装置
9日前
YKK AP株式会社
改装建具及び改装建具の施工方法
2日前
個人
接合構造
1か月前
個人
屋台
2か月前
個人
タッチミー
1か月前
個人
野良猫ハウス
2か月前
個人
転落防止用手摺
2か月前
個人
安心補助てすり
29日前
個人
フェンス
3か月前
ニチハ株式会社
建築板
2か月前
個人
筋交自動設定装置
1か月前
積水樹脂株式会社
柵体
2か月前
個人
居住車両用駐車場
2か月前
個人
ベンリナアングル
1か月前
個人
熱抵抗多層断熱建材
2か月前
個人
補強部材
2か月前
個人
柵
3か月前
成友建設株式会社
建物
2か月前
個人
防災建築物
1か月前
鹿島建設株式会社
壁体
2か月前
株式会社シンケン
住宅
1か月前
個人
身体用シェルター
1か月前
個人
身体用シェルター
1か月前
三協立山株式会社
構造体
1か月前
三協立山株式会社
構造体
1か月前
三協立山株式会社
構造体
1か月前
株式会社熊谷組
床構成材
1か月前
三協立山株式会社
構造体
1か月前
三洋工業株式会社
床構造
1か月前
三協立山株式会社
構造体
1か月前
三協立山株式会社
構造体
1か月前
三協立山株式会社
構造体
1か月前
三協立山株式会社
構造体
9日前
株式会社熊谷組
吊り治具
1か月前
個人
可搬型供養墓
1か月前
続きを見る
他の特許を見る