TOP
|
特許
|
意匠
|
商標
特許ウォッチ
Twitter
他の特許を見る
10個以上の画像は省略されています。
公開番号
2025159986
公報種別
公開特許公報(A)
公開日
2025-10-22
出願番号
2024062907
出願日
2024-04-09
発明の名称
建具
出願人
YKK AP株式会社
代理人
弁理士法人酒井国際特許事務所
主分類
E06B
1/62 20060101AFI20251015BHJP(戸,窓,シャッタまたはローラブラインド一般;はしご)
要約
【課題】枠体と躯体との隙間が大きい場合にも水密性を確保する。
【解決手段】コンクリート造躯体CBに設けられた開口部CBOの内周面との間にシール材84を充填した状態で枠体10がコンクリート造躯体CBに取り付けられた建具であって、枠体10を構成する上枠11とコンクリート造躯体CBとの間にはアタッチメント81が設けられ、アタッチメント81は上枠11にのみ取り付けられ、アタッチメント81とコンクリート造躯体CBとの間にシール材84が設けられている。
【選択図】図6
特許請求の範囲
【請求項1】
躯体に設けられた開口部の内周面との間にシール材を充填した状態で枠体が前記躯体に取り付けられた建具であって、
前記枠体を構成する枠材には前記躯体との間にアタッチメントが設けられ、
前記アタッチメントは前記枠材にのみ取り付けられ、前記アタッチメントと前記躯体との間に前記シール材が設けられていることを特徴とする建具。
続きを表示(約 720 文字)
【請求項2】
前記アタッチメントは、外周側が見込み方向に沿った平板状を成し、前記外周側の見込み面と前記躯体の内周面との間に前記シール材が設けられていることを特徴とする請求項1に記載の建具。
【請求項3】
前記枠材は、室内側において見込み方向に延在する室内側見込み面と、室外側において見込み方向に延在する室外側見込み面との間に室外に臨む外縁面を有し、前記室内側見込み面を介して前記躯体に取り付けられ、
前記シール材が設けられる前記アタッチメントの外周側の見込み面は、前記室外側見込み面に対して見込み方向に重なる位置に設けられていることを特徴とする請求項2に記載の建具。
【請求項4】
前記枠材は、木材もしくは木質材によって成形された木材枠成形部と、金属によって成形された金属枠成形部とを有し、
前記木材枠成形部に前記室内側見込み面が設けられ、
前記金属枠成形部に前記室外側見込み面及び前記外縁面が設けられていることを特徴とする請求項3に記載の建具。
【請求項5】
前記アタッチメントは、前記室外側見込み面との間にシール材が設けられる内周側シール受片部を有していることを特徴とする請求項3に記載の建具。
【請求項6】
前記アタッチメントは、前記枠材との間に中空部を構成するように設けられ、前記アタッチメントの端部には、前記中空部の開口端面を塞ぐように蓋部材が設けられていることを特徴とする請求項1に記載の建具。
【請求項7】
前記アタッチメントと前記枠材との間には、補強材が設けられていることを特徴とする請求項1に記載の建具。
発明の詳細な説明
【技術分野】
【0001】
本発明は、建具に関する。
続きを表示(約 2,500 文字)
【背景技術】
【0002】
躯体に建具を支持させる場合には、枠体の外周側に位置する見込み面と躯体に設けた開口部の内周面との間にシール材を充填することにより、室外の水が室内側に進入する事態を防止するようにしている(例えば、特許文献1参照)。
【先行技術文献】
【特許文献】
【0003】
実公平7-1503号公報
【発明の概要】
【発明が解決しようとする課題】
【0004】
ところで、上述した建具では、枠体の見込み面と躯体の内周面との間の隙間が大きい場合、水密性を確保することが困難となる。特に、枠体を構成する枠材の室内側に位置する室内側見込み面が、室外側に位置する室外側見込み面よりも外周側となるように段差が設けられている場合には、室外側見込み面と躯体の内周面との間の隙間を減少させることができないため、上述の問題が一層顕著となる。
【0005】
本発明は、上記実情に鑑みて、枠体と躯体との隙間が大きい場合にも水密性を確保することのできる建具を提供することを目的とする。
【課題を解決するための手段】
【0006】
上記目的を達成するため、本発明に係る建具は、躯体に設けられた開口部の内周面との間にシール材を充填した状態で枠体が前記躯体に取り付けられた建具であって、前記枠体を構成する枠材には前記躯体との間にアタッチメントが設けられ、前記アタッチメントは前記枠材にのみ取り付けられ、前記アタッチメントと前記躯体との間に前記シール材が設けられていることを特徴とする。
【発明の効果】
【0007】
本発明によれば、枠材に設けたアタッチメントと躯体との間にシール部材を設けているため、枠体と躯体との隙間が大きい場合にも水密性を確保することが可能となる。しかも、アタッチメントを枠材にのみ取り付けているため、リフォーム等において躯体から枠体を取り外す場合の作業が煩雑化する懸念もない。
【図面の簡単な説明】
【0008】
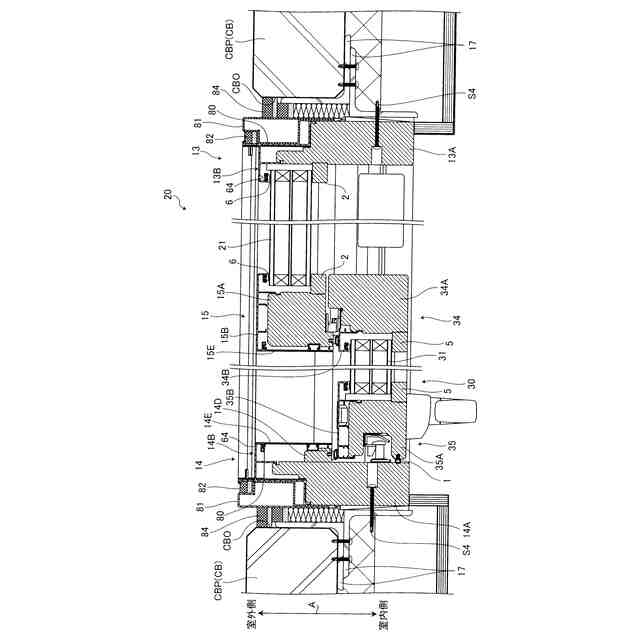
本発明の実施の形態である建具の横断面図である。
図1に示した建具を固定障子の部分で破断した縦断面図である。
図1に示した建具を閉じ位置に配置された可動障子の部分で破断した縦断面図である。
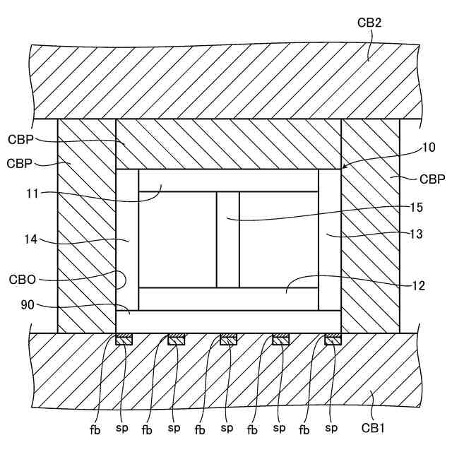
図1に示した建具を取り付けるコンクリート造躯体の姿図である。
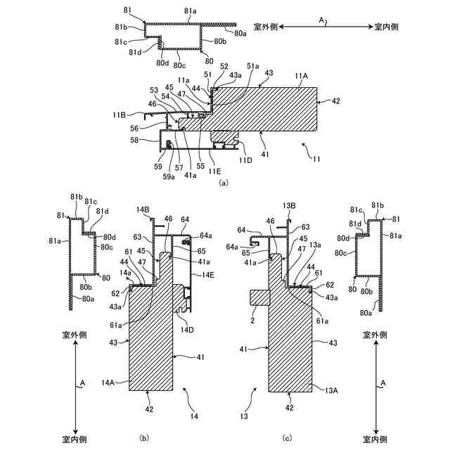
図1に示した建具の枠材を示すもので、(a)は上枠及びアタッチメントの分解縦断面図、(b)は左縦枠及びアタッチメントの分解横断面図、(c)は右縦枠及びアタッチメントの分解横断面図である。
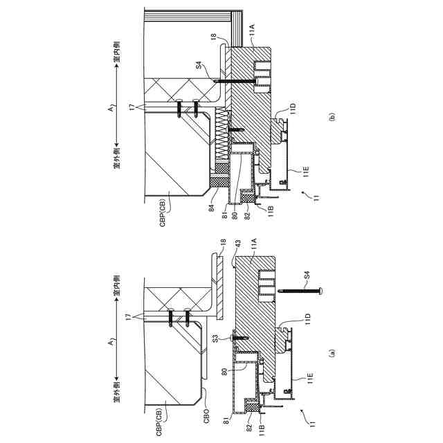
図1に示した建具の上枠部分を示すもので、(a)はコンクリート造躯体に上枠を取り付ける以前の状態を示す要部縦断面図、(b)はコンクリート造躯体に上枠を取り付けた状態の要部縦断面図である。
図1に示した建具の左縦枠部分を示すもので、(a)はコンクリート造躯体に左縦枠を取り付ける以前の状態を示す要部縦断面図、(b)はコンクリート造躯体に左縦枠を取り付けた状態の要部縦断面図である。
図1に示した建具の右縦枠部分を示すもので、(a)はコンクリート造躯体に右縦枠を取り付ける以前の状態を示す要部縦断面図、(b)はコンクリート造躯体に右縦枠を取り付けた状態の要部縦断面図である。
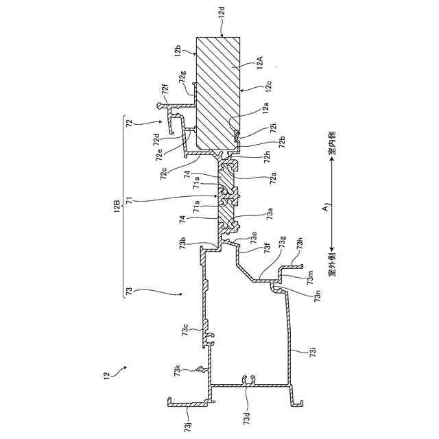
図1に示した建具の下枠を示す縦断面図である。
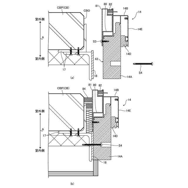
図1に示した建具の下枠部分を示すもので、(a)はコンクリート造躯体に下枠を取り付ける以前の状態を示す要部縦断面図、(b)はコンクリート造躯体に下枠を取り付けた状態の要部縦断面図である。
図1に示した建具を室外側から見たもので、(a)は上枠と右縦枠との連結部分を示す要部拡大図、(b)は下枠と右縦枠と連結部分を示す要部拡大図である。
図1に示した建具を木造躯体に取り付けた状態の縦断面図である。
図1に示した建具を木造躯体に取り付けた状態の横断面図である。
【発明を実施するための形態】
【0009】
以下、添付図面を参照しながら本発明に係る建具の好適な実施の形態について詳細に説明する。なお、以下においては便宜上、見込み方向及び見付け方向という用語を用いる場合がある。見込み方向とは、図中の矢印Aで示すように、建具の奥行きに沿った方向である。見込み方向に沿った面については見込み面と称する場合がある。見付け方向とは、下枠等のように水平方向に沿って延在するものの場合、見込み方向に直交した上下に沿う方向である。縦枠等のように上下方向に沿って延在するものの場合には、見込み方向に直交した水平に沿う方向を見付け方向という。見付け方向に沿った面については、見付け面と称する場合がある。
【0010】
図1~図4は、本発明の実施の形態である建具を示すものである。ここで例示する建具は、枠体10と、枠体10に設けた固定障子20及び可動障子30とを備えて構成した片引き窓と称されるものである。特に、本実施の形態は、後に図12、図13に示すように、木造の躯体(以下、木造躯体WBという)に対しても取り付け可能となる建具を、コンクリート造の躯体(以下、コンクリート造躯体CBという)に兼用したものである。枠体10は、上枠(枠材)11、下枠12及び左右の縦枠(枠材)13,14を四周組みすることによって構成したものである。枠体10の内部には、上枠11及び下枠12の間に上下方向に沿って方立15が配設してある。枠体10を構成する上枠11、下枠12及び左右の縦枠13,14は、見込み方向に沿った寸法がほぼ同じとなるように構成してある。これに対して方立15は、見込み方向に沿った寸法が上枠11に対して小さく構成してあり、上枠11及び下枠12それぞれの室外側となる部分において左右の縦枠13,14からほぼ等距離となる位置に取り付けてある。
(【0011】以降は省略されています)
この特許をJ-PlatPat(特許庁公式サイト)で参照する
関連特許
YKK AP株式会社
建具
9日前
YKK AP株式会社
外装材
24日前
YKK AP株式会社
外装体
28日前
YKK AP株式会社
フェンス
23日前
YKK AP株式会社
屋外構造物
22日前
YKK AP株式会社
屋外構造物
22日前
YKK AP株式会社
屋根構造体
29日前
YKK AP株式会社
屋根構造体
29日前
YKK AP株式会社
枠体の取付構造
9日前
YKK AP株式会社
スクリーン装置
23日前
YKK AP株式会社
スクリーン装置
23日前
YKK AP株式会社
スクリーン用生地
2日前
YKK AP株式会社
ユニットカーテンウォール
21日前
YKK AP株式会社
スクリーン装置及びこの取付構造
23日前
株式会社大林組
耐火構造、耐火板支持構造
21日前
株式会社ESP
止水板
2か月前
中国電力株式会社
脚立
2か月前
株式会社ナカオ
作業台
1か月前
三協立山株式会社
構造体
4か月前
三協立山株式会社
構造体
4か月前
株式会社ニチベイ
遮蔽装置
1日前
三協立山株式会社
開口部装置
4か月前
三協立山株式会社
開口部装置
1か月前
三協立山株式会社
開口部装置
1か月前
三協立山株式会社
開口部装置
24日前
三協立山株式会社
開口部装置
2か月前
三協立山株式会社
開口部装置
2か月前
三協立山株式会社
開口部装置
2か月前
ミサワホーム株式会社
水切り材
2か月前
株式会社TJMデザイン
脚立用ホルダー
3か月前
文化シヤッター株式会社
止水装置
23日前
豊田合成株式会社
調光装置
16日前
文化シヤッター株式会社
引戸装置
14日前
不二サッシ株式会社
引違いサッシ
23日前
株式会社ニチベイ
縦型ブラインド
2か月前
不二サッシ株式会社
引違いサッシ
1か月前
続きを見る
他の特許を見る