TOP
|
特許
|
意匠
|
商標
特許ウォッチ
Twitter
他の特許を見る
公開番号
2025147775
公報種別
公開特許公報(A)
公開日
2025-10-07
出願番号
2024048186
出願日
2024-03-25
発明の名称
外装材
出願人
YKK AP株式会社
代理人
弁理士法人樹之下知的財産事務所
主分類
E04B
1/684 20060101AFI20250930BHJP(建築物)
要約
【課題】日射を遮る外装材であって、外観意匠の向上およびルーバー間の隙間からの光漏れの抑制を図り得ると共に当該隙間における風通過音の発生を抑制できる外装材を提供すること。
【解決手段】庇10は、カーテンウォールにおいてX軸方向に並設されて日射を遮る外装材であって、庇本体11と、庇本体11の両端面12に設けられる隙間塞ぎ体21とを有する。隙間塞ぎ体21は、端面12に設けられると共に当該端面12に沿った嵌合溝26が形成されるホルダ部材22と、嵌合溝26に沿って嵌着されると共に端面12に対して隙間を隔てて隣り合う他の庇10の端面13に当接可能に配置される乾式ガスケット31とを備える。
【選択図】図3
特許請求の範囲
【請求項1】
建物壁において端面同士が対向して配置されて並設される外装材であって、
長尺の外装材本体と、前記外装材本体の両端面のうちの少なくとも一方の端面に設けられる乾式の隙間塞ぎ体とを有する
ことを特徴とする外装材。
続きを表示(約 1,000 文字)
【請求項2】
請求項1に記載の外装材において、
前記隙間塞ぎ体は、前記外装材本体の前記端面に設けられると共に当該端面に沿った嵌合溝が形成されるホルダ部材と、
前記嵌合溝に沿って嵌着されると共に前記端面に対して隙間を隔てて隣り合う他の外装材の端面に当接可能に配置される乾式ガスケットとを備える
ことを特徴とする外装材。
【請求項3】
請求項2に記載の外装材であって、
前記ホルダ部材は、前記外装材本体の前記端面に沿って延びると共に当該外装材本体に取り付けられる基底部と、前記基底部の両側縁から前記外装材本体の長手方向に延出し且つ先端縁部が互いに接近する方向に折曲される一対の側部とを有し、
前記嵌合溝は、前記一対の側部の前記先端縁部の間で前記ホルダ部材の長手方向に沿って開口して形成される
ことを特徴とする外装材。
【請求項4】
請求項1に記載の外装材において、
隣り合う前記他の外装材との間には、一つの前記隙間塞ぎ体が設けられる
ことを特徴とする外装材。
【請求項5】
請求項1に記載の外装材において、
隣り合う前記他の外装材との間には、少なくとも二つの前記隙間塞ぎ体が設けられる
ことを特徴とする外装材。
【請求項6】
請求項5に記載の外装材において、
前記少なくとも二つの隙間塞ぎ体は、前記外装材本体の両端面のうちの一方の端面に設けられる
ことを特徴とする外装材。
【請求項7】
請求項5に記載の外装材において、
前記少なくとも二つの隙間塞ぎ体の先端同士は連続する
ことを特徴とする外装材。
【請求項8】
請求項2に記載の外装材において、
前記乾式ガスケットは、その長手方向に連続すると共に、隣り合う前記他の外装材の端面に当接可能に延出した上下二つのヒレ部を有する
ことを特徴とする外装材。
【請求項9】
請求項2に記載の外装材において、
前記乾式ガスケットは、前記嵌合溝への嵌着状態で前記ホルダ部材を覆う
ことを特徴とする外装材。
【請求項10】
請求項2に記載の外装材において、
前記外装材本体は、小口に蓋部材が設けられるアルミ形材で構成され、
前記ホルダ部材は、前記蓋部材に取り付けられる
ことを特徴とする外装材。
(【請求項11】以降は省略されています)
発明の詳細な説明
【技術分野】
【0001】
本発明は、建物壁に設けられて建物外観(ファザード)の意匠を構成したり、また、日射を遮ったりする外装材に関する。
続きを表示(約 2,400 文字)
【背景技術】
【0002】
従来、建築物の外壁を構成するカーテンウォールユニットに備えられる外装材としてのルーバーが知られている(特許文献1参照)。前記カーテンウォールユニットは、上下左右に並設されて外壁を構成しており、ルーバーも左右に並設されている。各ルーバーは、日射を遮るものであり、ルーバー羽根と、ルーバー羽根の左右の両端に接合される平板状のブラケットとを備えており、左右に隣り合うルーバーのブラケットは、互いに隙間を隔てて左右方向に対向して配置されている。
【先行技術文献】
【特許文献】
【0003】
特開2018-204175号公報
【発明の概要】
【発明が解決しようとする課題】
【0004】
ところで、特許文献1に記載のルーバーでは、左右に隣り合うブラケット(ルーバーの端面)同士が互いに隙間を隔てて左右方向に対向して配置されているので、左右方向においてルーバーの連続性がなく外観意匠が損なわれており、当該隙間から光漏れが生じてしまう。また、当該隙間を風が通る際に風通過音(笛鳴り)が生じるおそれがある。
なお、特許文献1では、ルーバーが左右方向に並設されるが、このほか、ルーバーなどの外装材が上下方向などの任意方向に並設される場合にも、前述同様に、外観意匠が損なわれ、光漏れが生じ、また、風通過音が生じるおそれがある。
【0005】
本発明の目的は、外観意匠の向上および端面間の隙間からの光漏れの抑制を図り得ると共に当該隙間における風通過音の発生を抑制できる外装材を提供することにある。
【課題を解決するための手段】
【0006】
本発明の外装材は、建物壁において端面同士が対向して配置されて並設される外装材であって、長尺の外装材本体と、前記外装材本体の両端面のうちの少なくとも一方の端面に設けられる乾式の隙間塞ぎ体とを有することを特徴とする。
【発明の効果】
【0007】
本発明によれば、外観意匠の向上および端面間の隙間からの光漏れの抑制を図り得ると共に当該隙間における風通過音の発生を抑制できる外装材を提供することができる。
【図面の簡単な説明】
【0008】
本発明の実施形態に係る外装材を備える建物壁を示す外観姿図。
前記実施形態に係る外装材の要部を示す説明図。
前記実施形態に係る外装材の端部を示す断面説明図。
前記実施形態に係る外装材の隙間塞ぎ体を示す説明図。
前記実施形態に係る外装材の変形例の端部を示す断面説明図。
図5に示す変形例に係る外装材の隙間塞ぎ体を示す説明図。
【発明を実施するための形態】
【0009】
[本実施形態の構成]
以下、本発明の実施形態を図面に基づいて説明する。
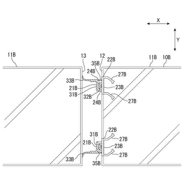
図1から図4において、本実施形態に係る外装材としての庇10は、いわゆるカーテンウォールユニット2が上下左右に並設される建物壁として構成されるカーテンウォール1に設けられて日射を遮るものである。カーテンウォールユニット2は、予めユニットとして組み立てられ、その後に建物躯体に設置されるものであり、四周枠組みされた枠3内にガラスパネル等のパネル4を配置して構成されており、庇10は、カーテンウォール1に対して左右に複数並設されている。カーテンウォールユニット2は、窓部と、窓部の下方に配置されるスパンドレル部とを構成している。なお、図2の(A)は、図1において一点鎖線で囲む部分を上方から示す平面図であり、図2の(B)は、カーテンウォール1に設けられた庇10の側方から示す断面図である。
以下の説明において、庇10の左右方向をX軸方向とし、庇10の上下方向をY軸方向とし、庇10の見込み方向(奥行方向)をZ軸方向とする。X,Y,Z軸方向は互いに直交する。
【0010】
庇10は、カーテンウォール1においてX軸方向に複数並設されている。庇10のそれぞれは、X軸方向に延びる長尺の庇本体11(外装材本体)と、庇本体11の両端面12,13のうちの少なくとも一方の端面12に設けられる乾式の隙間塞ぎ体21とを有している。庇本体11の端面12,13同士は、X軸方向に複数並設された状態で、互いにX軸方向に対向して配置される。
庇本体11は、X軸方向に延びて中空形状に形成されており、その両端部における小口に平板状の蓋部材14が設けられたアルミ形材で構成されている。このアルミ形材は押出成形されたものであり、カーテンウォール1に取り付けられたブラケット15に嵌合して装着されている。また、庇本体11は、屋内側から屋外側に向かうに連れて下方に傾斜する勾配が設定された上板部111と、上板部111の下方に設けられる下板部112と、上板部111および下板部112の先端同士を連続する先端部113と、上板部111および下板部112の基端同士を連続する基端部114とを有しており、基端部114に対してブラケット15に嵌合する嵌合爪部が形成されている。なお、庇本体11のZ軸方向における略中央部分には、上板部111および下板部112を連続する連続部115が形成されている。
隙間塞ぎ体21は、本実施形態では、蓋部材14の端面12に一つ設けられている。この隙間塞ぎ体21は、X軸方向に並設される庇10の間の目地、すなわち、庇本体11の蓋部材14の間の隙間を塞いでおり、当該隙間に対して一つが配置されている。
隙間塞ぎ体21は、Z軸方向に延びて配設されていると共に、屋内側から屋外側に向かうに連れて下方に傾斜する勾配が設定されている。
(【0011】以降は省略されています)
この特許をJ-PlatPat(特許庁公式サイト)で参照する
関連特許
YKK AP株式会社
建具
1か月前
YKK AP株式会社
防火ドア
14日前
YKK AP株式会社
採光装置
22日前
YKK AP株式会社
壁パネル
27日前
YKK AP株式会社
改装建具
1か月前
YKK AP株式会社
建具および押縁
27日前
YKK AP株式会社
枠体の取付構造
1か月前
YKK AP株式会社
スクリーン用生地
1か月前
YKK AP株式会社
改装建具及び改装建具の施工方法
15日前
YKK AP株式会社
枠連結構造、建具および壁パネル
28日前
YKK AP株式会社
窓枠のシール構造および壁パネル
29日前
YKK AP株式会社
電動開閉遮蔽装置およびその制御方法
今日
YKK AP株式会社
外付け部品の取付構造および壁パネル
29日前
YKK AP株式会社
防水プレートの取付構造および壁パネル
29日前
株式会社大林組
耐火構造、耐火板支持構造
1か月前
ミサワホーム株式会社
門扉の支持構造及びブラケット
6日前
個人
接合構造
1か月前
個人
タッチミー
1か月前
個人
屋台
2か月前
個人
野良猫ハウス
3か月前
個人
転落防止用手摺
2か月前
個人
安心補助てすり
1か月前
個人
フェンス
3か月前
個人
居住車両用駐車場
3か月前
ニチハ株式会社
建築板
3か月前
個人
筋交自動設定装置
2か月前
個人
ベンリナアングル
1か月前
積水樹脂株式会社
柵体
2か月前
個人
熱抵抗多層断熱建材
3か月前
個人
補強部材
3か月前
個人
柵
3か月前
成友建設株式会社
建物
3か月前
個人
防災建築物
1か月前
株式会社シンケン
住宅
1か月前
個人
身体用シェルター
2か月前
鹿島建設株式会社
壁体
3か月前
続きを見る
他の特許を見る