TOP
|
特許
|
意匠
|
商標
特許ウォッチ
Twitter
他の特許を見る
公開番号
2025149071
公報種別
公開特許公報(A)
公開日
2025-10-08
出願番号
2024049508
出願日
2024-03-26
発明の名称
スクリーン装置
出願人
YKK AP株式会社
,
セイキ販売株式会社
代理人
個人
,
個人
,
個人
主分類
E06B
9/52 20060101AFI20251001BHJP(戸,窓,シャッタまたはローラブラインド一般;はしご)
要約
【課題】スクリーンの保形性を高めて取り扱い易くすると共に、建物開口部のサッシ枠に取り付けた状態でスクリーンを簡単に開閉可能にしたスクリーン装置を提供する。
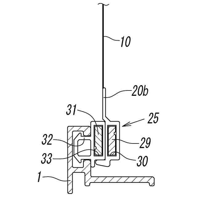
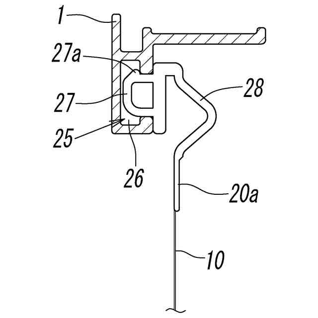
【解決手段】可撓性を有する矩形のスクリーン10における上下の横辺10a,10b及び左右の縦辺10c,10dに、合成樹脂製の縁部材を取り付け、少なくとも一つの辺に取り付けた縁部材20dを、スライドファスナー21で開閉自在の開閉縁部材Aとすると共に、それ以外の残りの縁部材20a、20b、20cのうち、スライドファスナーの開放開始端側に位置する縁部材20bを、スクリーンを開閉操作させる操作用縁部材Bとし、縁部材の各々に、建物開口部のサッシ枠1に止着するための止着手段25を設け、操作用縁部材Bに設けた止着手段25のサッシ枠1に対する止着力を、その他の縁部材に設けた止着手段25のサッシ枠1に対する止着力より小さくする。
【選択図】 図3
特許請求の範囲
【請求項1】
可撓性を有する矩形のスクリーンにおける上下の横辺及び左右の縦辺に、合成樹脂製の縁部材をそれぞれ取り付け、
少なくとも一つの辺に取り付けた縁部材を、スライドファスナーにより開閉自在の開閉縁部材とすると共に、それ以外の残りの縁部材のうち、前記スライドファスナーの開放開始端側に位置する縁部材を、前記スクリーンを開閉操作するための操作用縁部材とし、
前記縁部材の各々に、建物開口部のサッシ枠に止着するための止着手段を設け、
前記操作用縁部材に設けた止着手段の前記サッシ枠に対する止着力を、その他の縁部材に設けた止着手段の前記サッシ枠に対する止着力より小さくした、
ことを特徴とするスクリーン装置。
続きを表示(約 300 文字)
【請求項2】
前記開閉縁部材は、前記スクリーンの左右の縦辺に取り付けられた左縦縁部材及び右縦縁部材の何れか一方であり、該開閉縁部材に前記スライドファスナーが、下から上に向けて開放するように取り付けられ、
前記操作用縁部材は、前記スクリーンの下横辺に取り付けられた下横縁部材である、
ことを特徴とする請求項1に記載のスクリーン装置。
【請求項3】
前記操作用縁部材に設けた止着手段は、前記サッシ枠に設けた磁石及び磁性体の何れか一方の吸着部材に磁気吸着するための前記磁石及び前記磁性体の何れか他方を有してなる、
ことを特徴とする請求項1に記載のスクリーン装置。
発明の詳細な説明
【技術分野】
【0001】
本発明は、建物開口部のサッシ枠に取り付けるスクリーン装置に関するものである。
続きを表示(約 1,900 文字)
【背景技術】
【0002】
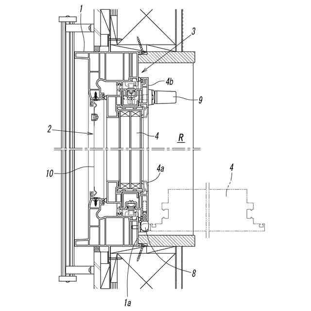
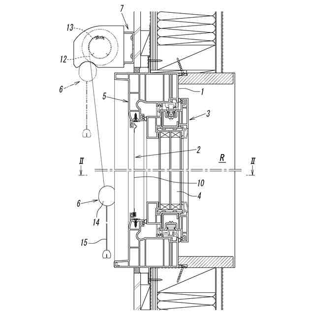
窓等の建物開口部のサッシ枠に、遮光や防虫あるいは目隠し等のためのスクリーンを取り付ける場合、ガラス障子の外側(室外側)に該スクリーンを嵌め殺し状態に取り付けることがあり、また、該スクリーンの外側に、シャッターやブラインド等の遮断扉を取り付けることもある。このような場合、前記スクリーンは、前記遮断扉を室内側から開閉操作するため、少なくとも該スクリーンの一部を室内側から開閉することができるように構成されている必要がある。
【0003】
特許文献1-3には、防虫ネット等のスクリーンを建物開口部のサッシ枠に対して着脱自在に取り付けることができるようにしたものが開示されており、このような着脱式のスクリーンを用いれば、その外側に遮断扉が取り付けられていても、該スクリーンをサッシ枠から取り外すことによって前記遮断扉を開閉することが可能である。
【0004】
しかしながら、前記特許文献1-3に開示されたスクリーンは、該スクリーンの四辺とサッシ枠とに面ファスナーをそれぞれ取り付け、該面ファスナー同士を相互に係着させることによって前記サッシ枠に取り付けるものであるが、前記面ファスナー同士の係着力はかなり大きく、係着した面ファスナー同士を剥離させるのに非常に大きな力を必要とするため、前記スクリーンを、サッシ枠から取り外すのは容易ではない。しかも、四辺に面ファスナーを取り付けたスクリーンは、非常に柔軟で撓み易いため取り扱いにくく、前記サッシ枠に正確に取り付けるのは難しい。一旦取り外したあと再び取り付ける場合にも、撓んで位置ずれしたり皺を生じたりし易いという欠点があり、前記遮断扉の内側に取り付けるスクリーンとしては不向きである。
【先行技術文献】
【特許文献】
【0005】
実開昭62-101998号公報
特開2003-74270号公報
特開2006-97242号公報
【発明の概要】
【発明が解決しようとする課題】
【0006】
本発明の技術的課題は、スクリーンの保形性を高めることによって取り扱い易くすると共に、建物開口部のサッシ枠に取り付けたスクリーンを、該スクリーン全体をサッシ枠から取り外すことなく開放することができるようにしたスクリーン装置を提供することにある。
【課題を解決するための手段】
【0007】
前記課題を解決するため、本発明に係るスクリーン装置は、可撓性を有する矩形のスクリーンにおける上下の横辺及び左右の縦辺に、合成樹脂製の縁部材をそれぞれ取り付け、
少なくとも一つの辺に取り付けた縁部材を、スライドファスナーにより開閉自在の開閉縁部材とすると共に、それ以外の残りの縁部材のうち、前記スライドファスナーの開放開始端側に位置する縁部材を、前記スクリーンを開閉操作するための操作用縁部材とし、前記縁部材の各々に、建物開口部のサッシ枠に止着するための止着手段を設け、前記操作用縁部材に設けた止着手段の前記サッシ枠に対する止着力を、その他の縁部材に設けた止着手段の前記サッシ枠に対する止着力より小さくした、ことを特徴とするものである。
【0008】
本発明において、前記開閉縁部材は、前記スクリーンの左右の縦辺に取り付けられた左縦縁部材及び右縦縁部材の何れか一方であり、該開閉縁部材に前記スライドファスナーが、下から上に向けて開放するように取り付けられ、前記操作用縁部材は、前記スクリーンの下横辺に取り付けられた下横縁部材であることが好ましい。
【0009】
また、本発明において、前記サッシ枠に設けた磁石及び磁性体の何れか一方の吸着部材に磁気吸着するための前記磁石及び前記磁性体の何れか他方を有してなることが好ましい。
【発明の効果】
【0010】
本発明によれば、スクリーンの四辺に合成樹脂製の縁部材を取り付けたことにより該スクリーンの保形性が高められているため、スクリーン自体は非常に柔軟であっても、該スクリーンを前記縁部材を介して建物開口部のサッシ枠に容易に取り付けることができる。また、開閉縁部材のスライドファスナーを開放することによりスクリーンの一辺を開放した状態で、サッシ枠に対する止着力の小さい操作用縁部材をサッシ枠から剥離させることにより、スクリーンの二辺を容易に開放することができ、開放した部分を通じて、該スクリーンの外側に取り付けられたシャッターやブラインド等の遮断扉を室内側から開閉操作することができる。
【図面の簡単な説明】
(【0011】以降は省略されています)
この特許をJ-PlatPat(特許庁公式サイト)で参照する
関連特許
YKK AP株式会社
防火ドア
14日前
YKK AP株式会社
採光装置
22日前
YKK AP株式会社
壁パネル
27日前
YKK AP株式会社
建具および押縁
27日前
YKK AP株式会社
改装建具及び改装建具の施工方法
15日前
YKK AP株式会社
枠連結構造、建具および壁パネル
28日前
YKK AP株式会社
窓枠のシール構造および壁パネル
29日前
YKK AP株式会社
電動開閉遮蔽装置およびその制御方法
今日
ミサワホーム株式会社
門扉の支持構造及びブラケット
6日前
株式会社ナカオ
作業台
2か月前
中国電力株式会社
脚立
3か月前
株式会社ESP
止水板
3か月前
株式会社ニチベイ
遮蔽装置
1か月前
三協立山株式会社
開口部建材
28日前
三協立山株式会社
開口部建材
28日前
三協立山株式会社
開口部装置
3か月前
三協立山株式会社
開口部装置
2か月前
三協立山株式会社
開口部装置
2か月前
三協立山株式会社
開口部装置
3か月前
三協立山株式会社
開口部装置
3か月前
三協立山株式会社
開口部装置
1か月前
ミサワホーム株式会社
水切り材
3か月前
豊田合成株式会社
調光装置
1か月前
不二サッシ株式会社
引違いサッシ
1か月前
豊田合成株式会社
調光装置
27日前
株式会社ニチベイ
縦型ブラインド
4か月前
文化シヤッター株式会社
止水装置
1か月前
不二サッシ株式会社
引違いサッシ
3か月前
文化シヤッター株式会社
引戸装置
1か月前
株式会社LIXIL
太陽電池ガラス
2か月前
三協立山株式会社
サッシの製造方法
2か月前
倉敷紡績株式会社
外構ユニット
1か月前
株式会社LIXIL
建具
2か月前
株式会社LIXIL
建具
2か月前
株式会社LIXIL
建具
2か月前
株式会社LIXIL
建具
2か月前
続きを見る
他の特許を見る