TOP
|
特許
|
意匠
|
商標
特許ウォッチ
Twitter
他の特許を見る
公開番号
2025149072
公報種別
公開特許公報(A)
公開日
2025-10-08
出願番号
2024049509
出願日
2024-03-26
発明の名称
スクリーン装置及びこの取付構造
出願人
YKK AP株式会社
,
セイキ販売株式会社
代理人
個人
,
個人
,
個人
主分類
E06B
9/52 20060101AFI20251001BHJP(戸,窓,シャッタまたはローラブラインド一般;はしご)
要約
【課題】サッシ枠に対してスクリーンを、工具を使用せずに簡単に張設することが可能なスクリーン装置及びこれを用いたスクリーン取付構造を提供する。
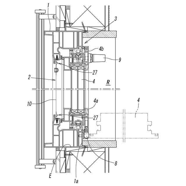
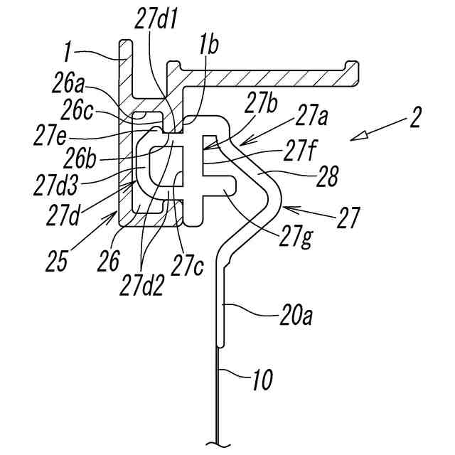
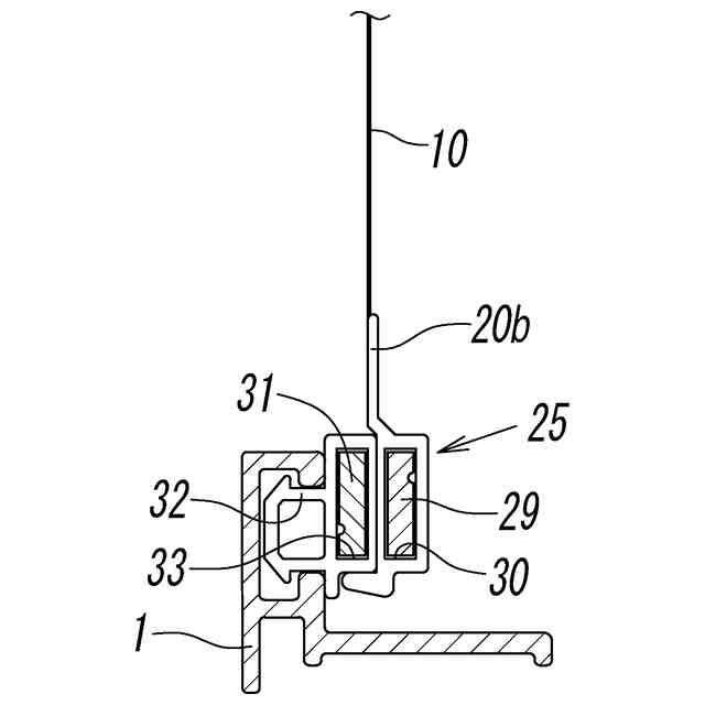
【解決手段】スクリーン装置2は、スクリーン10を、建物開口部に付設されたサッシ枠1に取り付けるためのものである。スクリーン装置は、スクリーンと、この周縁に沿って設けられた保持枠27を有する。保持枠は、弾性を有していて、内側部がスクリーンの周縁に沿って固定された連結部27aと、連結部の外側部に連結されて内側部側に向けて折り返された支持板部27bと、を有する。支持板部の両面のうち連結部側と反対側の面に、サッシ枠の見付け面1bと対向させる取付面27cが形成され、取付面には、見付け面に設けられた係合溝26に係合させる係合部27dが設けられ、支持板部における連結部と対向する面には、係合溝に係合部を押し込んで係合させる押圧面27fが形成される。
【選択図】 図7
特許請求の範囲
【請求項1】
可撓性を有するスクリーンを、建物開口部に付設されたサッシ枠に取り付けるためのスクリーン装置であって、
前記スクリーン装置は、前記スクリーンと、前記スクリーンの周縁に沿って設けられた保持枠と、を有しており、
前記保持枠は、弾性を有していて、内側部が前記スクリーンの前記周縁に沿って固定された連結部と、前記連結部の外側部に連結されて前記内側部側に向けて折り返された支持板部と、を有しており、
前記支持板部の両面のうち前記連結部側と反対側の面には、前記サッシ枠の見付け面と対向させるための取付面が形成されていて、前記取付面には、前記見付け面に設けられた係合溝に係合させるための係合部が設けられており、
前記支持板部における前記連結部と対向する面には、前記係合溝に前記係合部を押し込んで係合させるための押圧面が形成されている、
ことを特徴とするスクリーン装置。
続きを表示(約 1,000 文字)
【請求項2】
前記押圧面には、前記係合部を前記係合溝に押し込む際に前記押圧面の押圧に供するためのリブが立設されている、
ことを特徴とする請求項1に記載のスクリーン装置。
【請求項3】
前記係合部は、内部が中空のチューブ状に形成されている、
ことを特徴とする請求項1に記載のスクリーン装置。
【請求項4】
前記係合部は、前記保持枠の延設方向に対して直交する方向の断面視において、前記取付面から突設されて内側方向に間隙を有して配された一対の側壁と、これら前記側壁の先端部間を繋ぐ頂壁とをしてU字状に形成されている、
ことを特徴とする請求項3に記載のスクリーン装置。
【請求項5】
前記係合部の外側を向く側面には、外側方向へ向けて突出して、前記係合溝の内側を向く内面に設けられた係合突起における前記係合溝の底部側を向く係合面に係止されるための係止突起が設けられている、
ことを特徴とする請求項3又は4に記載のスクリーン装置。
【請求項6】
前記保持枠の前記連結部は、その両面のうち前記支持板部側とは逆の面側に向けて凸状に湾曲する屈伸部を有しており、
前記屈伸部は、前記サッシ枠に張設された前記スクリーンに張力を付与するために弾性的に屈伸可能である、
ことを特徴とする請求項1に記載のスクリーン装置。
【請求項7】
建物開口部に付設されたサッシ枠に対するスクリーン装置の取付構造であって、
前記スクリーン装置は、スクリーンと、前記スクリーンの周縁に沿って設けられた保持枠と、を有しており、
前記保持枠は、内側部が前記スクリーンの前記周縁に沿って固定された連結部と、前記連結部の外側部に連結されて前記内側部側に向けて折り返された支持板部と、を有しており、
前記支持板部の両面のうち前記連結部側と反対側の面には、前記サッシ枠の見付け面と対向する取付面が形成されていて、前記取付面には、前記見付け面に設けられた係合溝に係脱可能な係合部が設けられており、
前記サッシ枠の前記係合溝内に前記スクリーンの前記係合部を前記見付け面側から係合させて、前記スクリーン装置が前記サッシ枠に取り付けられている、
ことを特徴とする前記スクリーン装置の取付構造。
発明の詳細な説明
【技術分野】
【0001】
本発明は、建物開口部に付設されたサッシ枠に防虫網や目隠しシート等のスクリーンを取り付けるためのスクリーン装置、及びこの取付構造に関するものである。
続きを表示(約 1,500 文字)
【背景技術】
【0002】
建物開口部に付設されたサッシ枠に防虫網や目隠しシート等のスクリーンを張設することは、従来より広く行われている。このようにスクリーンをサッシ枠に張設する場合、従来では、例えば特許文献1に記載されているように、網張り用の工具を使用して、前記サッシ枠に形成された係合溝内に、網押さえ用のチューブをスクリーンと共に押し込んで固定する方法が用いられていた。
【0003】
しかし、このような方法は、スクリーンの他に網張り用の工具や網押さえ用のチューブ等を必要とするため、事前にそれらの用具を用意しなければならず、準備に手間や時間がかかることになる。しかも、前記工具やチューブ等を使用してクリーンを皺や弛みが生じないように緊張状態に張設するのは必ずしも容易ではなく、ある程度の習熟が必要とされるため、誰もが簡単にスクリーンを張設することはできなかった。
【先行技術文献】
【特許文献】
【0004】
特開2003-184458号公報
【発明の概要】
【発明が解決しようとする課題】
【0005】
本発明の技術的課題は、サッシ枠に対してスクリーンを、網張り用の工具や網押さえチューブ等を使用せずに簡単に張設することが可能なスクリーン装置及びこの取付構造を提供することにある。
【課題を解決するための手段】
【0006】
上記課題を解決するため、本発明によれば、可撓性を有するスクリーンを、建物開口部に付設されたサッシ枠に取り付けるためのスクリーン装置であって、前記スクリーン装置は、前記スクリーンと、前記スクリーンの周縁に沿って設けられた保持枠と、を有しており、前記保持枠は、弾性を有していて、内側部が前記スクリーンの前記周縁に沿って固定された連結部と、前記連結部の外側部に連結されて前記内側部側に向けて折り返された支持板部と、を有しており、前記支持板部の両面のうち前記連結部側と反対側の面には、前記サッシ枠の見付け面と対向させるための取付面が形成されていて、前記取付面には、前記見付け面に設けられた係合溝に係合させるための係合部が設けられており、前記支持板部における前記連結部と対向する面には、前記係合溝に前記係合部を押し込んで係合させるための押圧面が形成されている、ことを特徴とするものである。
【0007】
本発明において、前記押圧面には、前記係合部を前記係合溝に押し込む際に前記押圧面の押圧に供するためのリブが立設されている、ことが好ましい。
【0008】
また、本発明において、前記係合部は、内部が中空のチューブ状に形成されている、ことが好ましい。また、前記係合部は、前記保持枠の延設方向に対して直交する方向の断面視において、前記取付面から突設されて内側方向に間隙を有して配された一対の側壁と、これら前記側壁の先端部間を繋ぐ頂壁とをしてU字状に形成されている、ことが好ましい。
【0009】
また、本発明において、前記係合部の外側を向く側面には、外側方向へ向けて突出して、前記係合溝の内側を向く内面に設けられた係合突起における前記係合溝の底部側を向く係合面に係止されるための係止突起が設けられている、ことが好ましい。
【0010】
また、本発明において、前記保持枠の前記連結部は、その両面のうち前記支持板部側とは逆の面側に向けて凸状に湾曲する屈伸部を有しており、前記屈伸部は、前記サッシ枠に張設された前記スクリーンに張力を付与するために弾性的に屈伸可能である、ことが好ましい。
(【0011】以降は省略されています)
この特許をJ-PlatPat(特許庁公式サイト)で参照する
関連特許
YKK AP株式会社
防火ドア
14日前
YKK AP株式会社
採光装置
22日前
YKK AP株式会社
壁パネル
27日前
YKK AP株式会社
改装建具
1か月前
YKK AP株式会社
建具および押縁
27日前
YKK AP株式会社
スクリーン用生地
1か月前
YKK AP株式会社
改装建具及び改装建具の施工方法
15日前
YKK AP株式会社
枠連結構造、建具および壁パネル
28日前
YKK AP株式会社
窓枠のシール構造および壁パネル
29日前
YKK AP株式会社
電動開閉遮蔽装置およびその制御方法
今日
YKK AP株式会社
外付け部品の取付構造および壁パネル
29日前
YKK AP株式会社
防水プレートの取付構造および壁パネル
29日前
ミサワホーム株式会社
門扉の支持構造及びブラケット
6日前
株式会社ナカオ
作業台
2か月前
中国電力株式会社
脚立
3か月前
株式会社ニチベイ
遮蔽装置
1か月前
三協立山株式会社
開口部装置
3か月前
三協立山株式会社
開口部建材
28日前
三協立山株式会社
開口部建材
28日前
三協立山株式会社
開口部装置
1か月前
三協立山株式会社
開口部装置
2か月前
三協立山株式会社
開口部装置
2か月前
三協立山株式会社
開口部装置
3か月前
三協立山株式会社
開口部装置
3か月前
ミサワホーム株式会社
水切り材
3か月前
不二サッシ株式会社
引違いサッシ
3か月前
文化シヤッター株式会社
引戸装置
1か月前
文化シヤッター株式会社
止水装置
1か月前
豊田合成株式会社
調光装置
1か月前
豊田合成株式会社
調光装置
27日前
不二サッシ株式会社
引違いサッシ
1か月前
株式会社LIXIL
太陽電池ガラス
2か月前
三協立山株式会社
サッシの製造方法
2か月前
株式会社LIXIL
建具
2か月前
株式会社LIXIL
建具
2か月前
株式会社LIXIL
建具
2か月前
続きを見る
他の特許を見る