TOP
|
特許
|
意匠
|
商標
特許ウォッチ
Twitter
他の特許を見る
10個以上の画像は省略されています。
公開番号
2025143787
公報種別
公開特許公報(A)
公開日
2025-10-02
出願番号
2024043220
出願日
2024-03-19
発明の名称
屋根構造体
出願人
YKK AP株式会社
代理人
弁理士法人一色国際特許事務所
主分類
E04B
1/343 20060101AFI20250925BHJP(建築物)
要約
【課題】部材の管理及び施工が容易で、単一の部材であっても異なる方向に排水可能な屋根構造体を提供する。
【解決手段】柱に支持される屋根を備えた屋根構造体であって、柱の下部に設けられ、当該柱の内部に設けられた縦樋部内を通る水を排出する排水部材を有し、排水部材は、内部に中空部を備えた単一の部材で形成され、中空部の上に設けられ縦樋部と連通する上開口と、柱と対向する対向方向と交差する交差方向におけるいずれか一方の側部に中空部と外部とを連通する排水口と、を有し、排水口を交差方向におけるいずれの側に配置しても柱に取り付け可能である。
【選択図】図4
特許請求の範囲
【請求項1】
柱に支持される屋根を備えた屋根構造体であって、
前記柱の下部に設けられ、当該柱の内部に設けられた縦樋部内を通る水を排出する排水部材を有し、
前記排水部材は、
内部に中空部を備えた単一の部材で形成され、
前記中空部の上に設けられ前記縦樋部と連通する上開口と、
前記柱と対向する対向方向と交差する交差方向におけるいずれか一方の側部に前記中空部と外部とを連通する排水口と、
を有し、
前記排水口を前記交差方向におけるいずれの側に配置しても前記柱に取り付け可能であることを特徴とする屋根構造体。
続きを表示(約 560 文字)
【請求項2】
請求項1に記載の屋根構造体であって、
前記排水部材は、前記対向方向における中央に対して対象の形状をなしていることを特徴とする屋根構造体。
【請求項3】
請求項1または請求項2に記載の屋根構造体であって、
前記排水部材は、下部に設けられて前記対向方向に互いに間隔を空けて対向する一対の下部固定部を有し、
前記一対の下部固定部の一方が前記柱に固定されることを特徴とする屋根構造体。
【請求項4】
請求項1または請求項2に記載の屋根構造体であって、
前記排水部材は、上部に設けられて前記上開口を挟んで前記交差方向に互いに間隔を空けて対向する一対の上部固定部を有し、
前記一対の上部固定部が前記縦樋部に固定されることを特徴とする屋根構造体。
【請求項5】
請求項1または請求項2に記載の屋根構造体であって、
前記排水部材は、下部に固定される取付部材を介して前記柱に固定されることを特徴とする屋根構造体。
【請求項6】
請求項1または請求項2に記載の屋根構造体であって、
前記排水部材は、前記中空部の下に、前記排水口に向かって低くなる傾斜面を備えていることを特徴とする屋根構造体。
発明の詳細な説明
【技術分野】
【0001】
本発明は、柱に支持される屋根を備えた屋根構造体に関する。
続きを表示(約 2,100 文字)
【背景技術】
【0002】
従来から、柱に支持される屋根を備えた屋根構造体として、例えばカーポートなどの屋根構造体は知られている。このような屋根構造体の中には、柱に沿って設けられる縦樋の内部を通る水を、縦樋の下方にねじ部材により固定されるベース材と、ねじ部材を覆うようにベース材に嵌合するカバー材とでなる部材を介して外部に排出する排水構造をなしているものがある(例えば、特許文献1参照)。この排水構造のベース材は、縦樋の下方側にて側方に開口した排水開口部に嵌まって位置決めされており、ベース材にカバー材が嵌合されて所定の方向に向けて形成される開口から排水されるように構成されている。
【先行技術文献】
【特許文献】
【0003】
特開2020-85739号公報
【発明の概要】
【発明が解決しようとする課題】
【0004】
屋根構造体は、設置する現場により縦樋を通過した水を排出したい方向が相違する場合がある。しかしながら、上記従来の屋根構造体は、ベース材にカバー材が嵌合されて形成される開口の方向定まっているので、例えば、開口の方向が反対側に向くような、ベース材とカバー材とを備えておく必要がある。そして、施工現場に合うベース材とカバー材とを確認して準備するなど管理が繁雑である。また、排水の経路が複数の部材で形成されているので、漏水を防止するために両者の間にシール材を設けるなど施工も繁雑であるという課題があった。
【0005】
本発明は、かかる課題に鑑みてなされたものであり、その目的とするところは、部材の管理及び施工が容易で、単一の部材であっても異なる方向に排水可能な屋根構造体を提供することにある。
【課題を解決するための手段】
【0006】
かかる目的を達成するための主たる発明は、柱に支持される屋根を備えた屋根構造体であって、前記柱の下部に設けられ、当該柱の内部に設けられた縦樋部内を通る水を排出する排水部材を有し、前記排水部材は、内部に中空部を備えた単一の部材で形成され、前記中空部の上に設けられ前記縦樋部と連通する上開口と、前記柱と対向する対向方向と交差する交差方向におけるいずれか一方の側部に前記中空部と外部とを連通する排水口と、を有し、前記排水口を前記交差方向におけるいずれの側に配置しても前記柱に取り付け可能であることを特徴とする屋根構造体である。
本発明の他の特徴については、本明細書及び添付図面の記載により明らかにする。
【発明の効果】
【0007】
本発明によれば、部材の管理及び施工が容易で、単一の部材であっても異なる方向に排水可能な屋根構造体を提供することが可能となる。
【図面の簡単な説明】
【0008】
本実施形態に係る屋根構造体の一例を示す斜視図である。
本実施形態に係る屋根構造体の一例を示す側面図である。
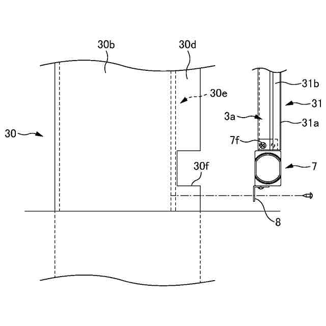
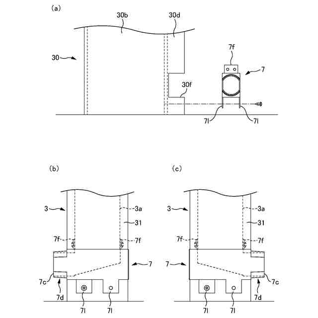
図3(a)図は、縦樋部を備えない柱を示す平断面図であり、図3(b)図は、縦樋部を備えた柱を示す平断面図である。
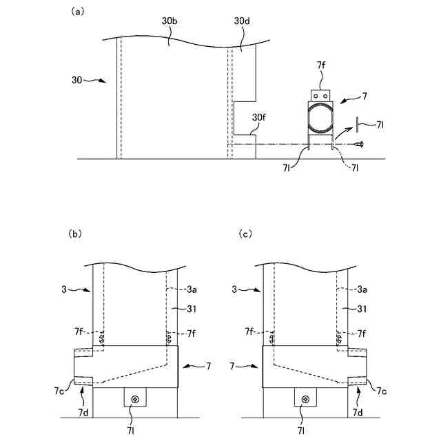
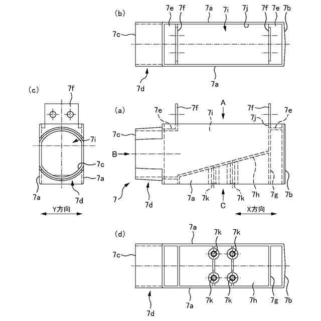
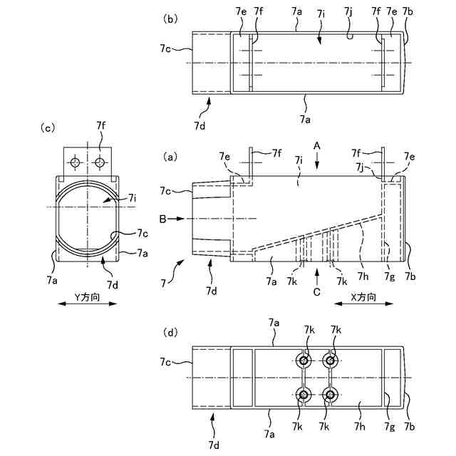
図4(a)は、排水部材の正面図であり、図4(b)は、図4(a)におけるA矢視図あり、図4(c)は、図4(a)におけるB矢視図あり、図4(d)は、図4(a)におけるC矢視図である。
排水部材が取り付けられたカバー材の取り付け示す図である。
排水口が互いに異なる方向に向けられた排水部材が取付部材を用いて固定されている状態を示す図である。
図7(a)は、排水部材の下部が互いに対向する位置に設けられた下部固定部により固定される例を示す図であり、図7(b)、図7(c)は、排水口が互いに異なる方向に向けられた排水部材が互いに対向する位置に設けられた下部固定部により固定されている状態を示す図である。
図8(a)は、排水部材の下部が互いに対向する位置に設けられていない下部固定部により固定される例を示す図であり、図8(b)、図8(c)は、排水口が互いに異なる方向に向けられた排水部材が互いに対向する位置に設けられていない下部固定部により固定されている状態を示す図である。
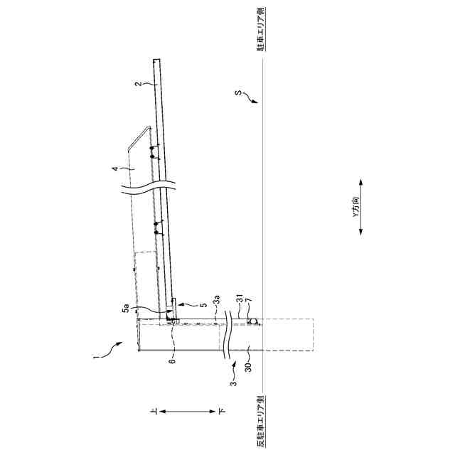
図9(a)は、排水通路部に流路管を接続した使用例を示す平断面図であり、図9(b)は、排水通路部に流路管を接続した使用例を駐車エリア側から見た図である。
【発明を実施するための形態】
【0009】
本発明の屋根構造体の一実施形態について、図面を参照して説明する。本実施形態においては、例えば、カーポートやテラス屋根などとして用いられ柱に支持された屋根を有する屋根構造体を例に挙げて説明する。
【0010】
本実施形態の屋根構造体1は、図1、図2に示すように、駐車エリアSの上方を覆う屋根2と、屋根2を支持する2本の柱3及び各柱3の上端にそれぞれ接続された梁4と、2本の柱の上端部にそれぞれ固定される横樋材5と、を有している。
(【0011】以降は省略されています)
この特許をJ-PlatPat(特許庁公式サイト)で参照する
関連特許
YKK AP株式会社
建具
1か月前
YKK AP株式会社
建具
1か月前
YKK AP株式会社
建具
3日前
YKK AP株式会社
建具
13日前
YKK AP株式会社
戸体
1か月前
YKK AP株式会社
戸体
1か月前
YKK AP株式会社
建具
1か月前
YKK AP株式会社
屋根構造体
今日
YKK AP株式会社
屋根構造体
今日
YKK AP株式会社
屋根構造体
今日
YKK AP株式会社
屋根構造体
今日
YKK AP株式会社
戸車および建具
3日前
YKK AP株式会社
シャッターユニット
1か月前
YKK AP株式会社
ドアパネル及び建具
1か月前
YKK AP株式会社
カーテンウォールユニット
今日
YKK AP株式会社
建具及び取付アタッチメント
1か月前
YKK AP株式会社
パネルおよびパネル設置構造
27日前
YKK AP株式会社
柱の固定構造および柱の固定方法
1か月前
YKK AP株式会社
屋根構造体及び屋根構造体の施工方法
今日
BXテンパル株式会社
パーゴラ式オーニング装置
1か月前
YKK AP株式会社
建具及び建具の製造方法
1か月前
YKK AP株式会社
建具及び建具の製造方法
1か月前
YKK AP株式会社
改装建具及び改装建具の施工方法
1か月前
YKK AP株式会社
改装建具及び改装建具の施工方法
1か月前
個人
屋台
13日前
個人
野良猫ハウス
29日前
個人
転落防止用手摺
23日前
個人
フェンス
1か月前
個人
キャチクランプ
4か月前
積水樹脂株式会社
柵体
22日前
個人
水害と共にある家
4か月前
ニチハ株式会社
建築板
1か月前
個人
地下型マンション
3か月前
個人
居住車両用駐車場
1か月前
個人
筋交自動設定装置
3日前
個人
鋼管結合資材
3か月前
続きを見る
他の特許を見る