TOP
|
特許
|
意匠
|
商標
特許ウォッチ
Twitter
他の特許を見る
公開番号
2025143788
公報種別
公開特許公報(A)
公開日
2025-10-02
出願番号
2024043221
出願日
2024-03-19
発明の名称
屋根構造体
出願人
YKK AP株式会社
代理人
弁理士法人一色国際特許事務所
主分類
E04B
1/343 20060101AFI20250925BHJP(建築物)
要約
【課題】施工性に優れた屋根構造体を提供する。
【解決手段】柱に支持される屋根を備えた屋根構造体であって、屋根の下に設けられる横樋材と、横樋材の下に設けられて当該横樋材との間に照明部材が配置される空間を形成する照明配置部材と、を有し、照明配置部材は、横樋材の下方に間隔を空けて配置されて空間を形成する下板部と、下板部から立設されて横樋材における柱と反対側の端部と対向する対向板部と、対向板部の上端に設けられ屋根と横樋材との間に挿入されて係合される係合部と、を有し、対向板部に螺合されるねじと、係合部とにより横樋材を挟持して保持される。
【選択図】図2
特許請求の範囲
【請求項1】
柱に支持される屋根を備えた屋根構造体であって、
前記屋根の下に設けられる横樋材と、
前記横樋材の下に設けられて当該横樋材との間に照明部材が配置される空間を形成する照明配置部材と、
を有し、
前記照明配置部材は、前記横樋材の下方に間隔を空けて配置されて前記空間を形成する下板部と、前記下板部から立設されて前記横樋材における前記柱と反対側の端部と対向する対向板部と、前記対向板部の上端に設けられ前記屋根と前記横樋材との間に挿入されて係合される係合部と、
を有し、
前記対向板部に螺合されるねじと、前記係合部と、により前記横樋材を挟持して保持されることを特徴とする屋根構造体。
続きを表示(約 250 文字)
【請求項2】
請求項1に記載の屋根構造体であって、
前記ねじは、前記対向板部に前記照明部材を固定するねじであることを特徴とする屋根構造体。
【請求項3】
請求項1または請求項2に記載の屋根構造体であって、
前記柱は、前記横樋材側に上下方向に沿う溝部を有する柱本体と、
前記柱本体に嵌合されて前記溝部を覆う柱カバーと、
を有し、
前記照明部材の給電ケーブルは、前記下板部上から前記溝部内を通されていることを特徴とする屋根構造体。
発明の詳細な説明
【技術分野】
【0001】
本発明は、柱に支持される屋根を備えた屋根構造体に関する。
続きを表示(約 1,600 文字)
【背景技術】
【0002】
従来から、柱に支持される屋根を備えた屋根構造体として、例えばカーポートなどに用いられる屋根構造体は知られており、照明装置を備えたものも存在する(例えば、特許文献1参照)。このような屋根構造体は、支柱の上部に取り付けられた後桁に照明取付枠体を介して照明装置が取り付けられている。
【0003】
後桁は、長手方向に貫通する中空部を有する後桁側ホロー部と、横樋構成部(樋部)と、を有しており、照明装置の配線ケーブルは、横樋構成部(樋部)の下に位置する後桁側ホロー部を、中空部を貫通方向と交差する方向に通され、支柱の側部に固定されて当該支柱に沿う仕切箱体内の配線空間を通されて外部と繋がっている。
【先行技術文献】
【特許文献】
【0004】
特開2018-123613号公報
【発明の概要】
【発明が解決しようとする課題】
【0005】
屋根構造体は、照明装置の配線ケーブルを露出しないように配置するには、横樋構成部の下に設けられている後桁側ホロー部の中空部内を通さざるを得ない。後桁側ホロー部の中空部は長手方向に貫通しているので、配線ケーブルを柱側に這わせるためには中空部内を中空部が貫通している方向と交差する方向に渡らせる必要がある。すなわち、配線ケーブルを、中空部を貫通するように通さなければならず、配線ケーブルの引き回しが繁雑であるという課題があった。
【0006】
本発明は、かかる課題に鑑みてなされたものであり、その目的とするところは、施工性に優れた屋根構造体を提供することにある。
【課題を解決するための手段】
【0007】
かかる目的を達成するための主たる発明は、柱に支持される屋根を備えた屋根構造体であって、
前記屋根の下に設けられる横樋材と、
前記横樋材の下に設けられて当該横樋材との間に照明部材が配置される空間を形成する照明配置部材と、
を有し、
前記照明配置部材は、前記横樋材の下方に間隔を空けて配置されて前記空間を形成する下板部と、前記下板部から立設されて前記横樋材における前記柱と反対側の端部と対向する対向板部と、前記対向板部の上端に設けられ前記屋根と前記横樋材との間に挿入されて係合される係合部と、
を有し、
前記対向板部に螺合されるねじと、前記係合部とにより前記横樋材を挟持して保持されることを特徴とする屋根構造体である。
本発明の他の特徴については、本明細書及び添付図面の記載により明らかにする。
【発明の効果】
【0008】
本発明によれば、施工性に優れた屋根構造体を提供することが可能となる。
【図面の簡単な説明】
【0009】
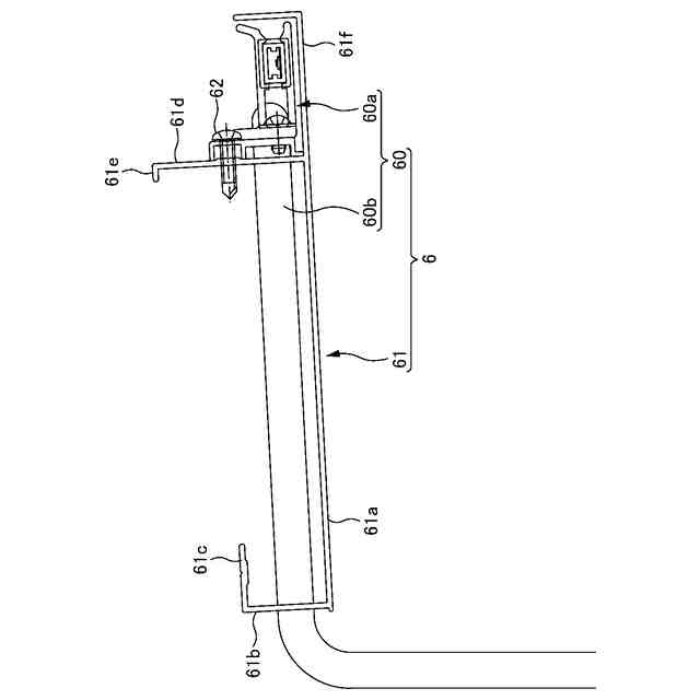
本実施形態に係る屋根構造体の一例を示す斜視図である。
本実施形態に係る屋根構造体の一例を示す側面図である。
図3(a)図は、給電ケーブルが挿通される柱を示す平断面図であり、図3(b)図は、縦樋部を備えた柱を示す平断面図である。
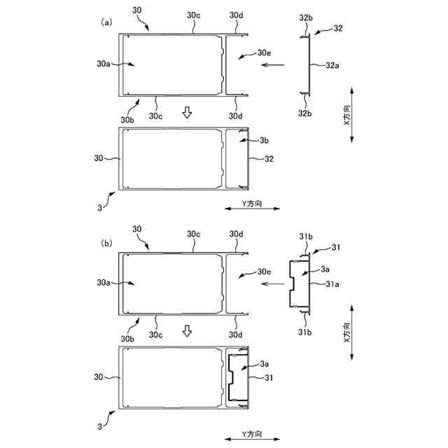
横樋材及び照明ユニットを説明する図である。
照明ユニット示す図である。
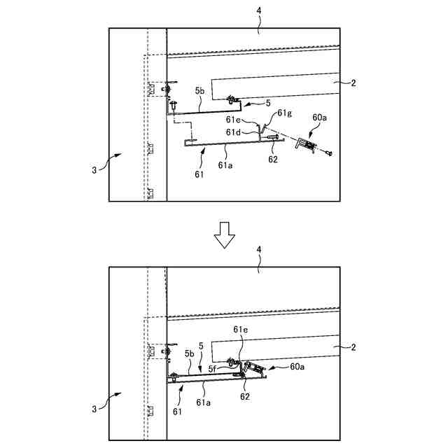
照明本体を横樋材の駐車エリア側に配置した例を示す図である。
固定部材を用いて照明本体を横樋材の駐車エリア側に配置した例を示す図である。
【発明を実施するための形態】
【0010】
本発明の屋根構造体の一実施形態について、図面を参照して説明する。本実施形態においては、例えば、カーポートやテラス屋根などとして用いられ柱に支持された屋根を有する屋根構造体を例に挙げて説明する。
(【0011】以降は省略されています)
この特許をJ-PlatPat(特許庁公式サイト)で参照する
関連特許
YKK AP株式会社
建具
11日前
YKK AP株式会社
屋外構造物
24日前
YKK AP株式会社
枠体の取付構造
11日前
YKK AP株式会社
スクリーン用生地
4日前
YKK AP株式会社
ユニットカーテンウォール
23日前
株式会社大林組
耐火構造、耐火板支持構造
23日前
個人
接合構造
27日前
個人
タッチミー
26日前
個人
屋台
1か月前
個人
安心補助てすり
10日前
個人
筋交自動設定装置
1か月前
個人
ベンリナアングル
26日前
株式会社シンケン
住宅
11日前
個人
身体用シェルター
1か月前
個人
防災建築物
16日前
個人
身体用シェルター
1か月前
三協立山株式会社
構造体
1か月前
三洋工業株式会社
床構造
11日前
株式会社大林組
接合構造
6日前
三協立山株式会社
構造体
11日前
株式会社熊谷組
吊り治具
1か月前
三協立山株式会社
構造体
1か月前
三協立山株式会社
構造体
1か月前
株式会社熊谷組
床構成材
24日前
個人
可搬型供養墓
1か月前
三協立山株式会社
構造体
1か月前
株式会社熊谷組
木質材料
1か月前
三協立山株式会社
構造体
1か月前
三協立山株式会社
構造体
1か月前
株式会社エフコンサルタント
面材
1か月前
ミサワホーム株式会社
住戸
1か月前
アイジー工業株式会社
スターター
1か月前
ミサワホーム株式会社
建物
1か月前
鹿島建設株式会社
制震架構
19日前
鹿島建設株式会社
解体方法
16日前
鹿島建設株式会社
接合構造
11日前
続きを見る
他の特許を見る