TOP
|
特許
|
意匠
|
商標
特許ウォッチ
Twitter
他の特許を見る
10個以上の画像は省略されています。
公開番号
2025154211
公報種別
公開特許公報(A)
公開日
2025-10-10
出願番号
2024057084
出願日
2024-03-29
発明の名称
ケーブル不具合箇所検知システム
出願人
株式会社関電工
代理人
個人
,
個人
主分類
G01R
31/58 20200101AFI20251002BHJP(測定;試験)
要約
【課題】初期の段階で、線路(ケーブル)の不具合を検知することが可能なケーブル不具合箇所検知システムを提供することを目的とする。
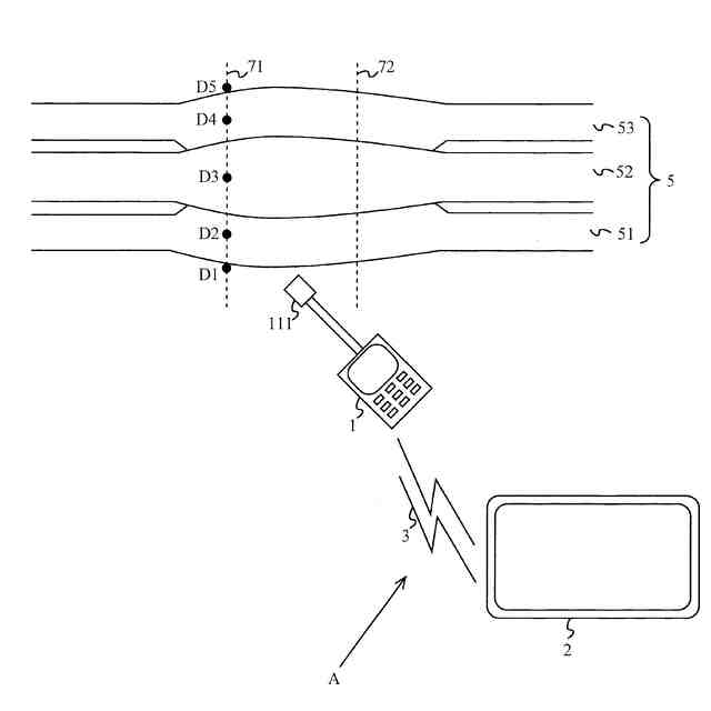
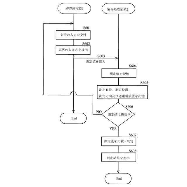
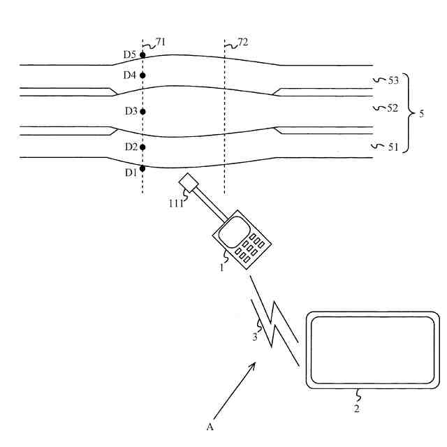
【解決手段】ケーブルの不具合を検知するケーブル不具合箇所検知システムAであって、システムAは、ケーブル5の通電によって発生する磁界を測定する磁界測定器1と、磁界測定器1と通信可能に接続されている情報処理装置2を備え、情報処理装置2は、磁界測定器1から受信した、ケーブル5の同一の測定箇所に係る複数の測定値に基づき、ケーブル5に不具合が発生しているか否かを判定する構成とした。
【選択図】図1
特許請求の範囲
【請求項1】
ケーブルの不具合を検知するケーブル不具合箇所検知システムであって、
前記システムは、ケーブルの通電によって発生する磁界を測定する磁界測定器と、前記磁界測定器と通信可能に接続されている情報処理装置を備え、
前記情報処理装置は、前記磁界測定器から受信した、前記ケーブルの同一の測定箇所に係る複数の測定値に基づき、前記ケーブルに不具合が発生しているか否かを判定することを特徴とする、ケーブル不具合箇所検知システム。
続きを表示(約 240 文字)
【請求項2】
前記情報処理装置は、いずれかの測定値が他の測定値と比して、3倍以上の場合に、前記ケーブルでの送電を抑制及び停止するかの検討を行うべきとの判定を行うことを特徴とする、請求項1に記載のケーブル不具合箇所検知システム。
【請求項3】
前記情報処理装置は、いずれかの測定値が他の測定値と比して、1.5倍以上の場合に、前記ケーブルについて詳細調査を行うべきとの判定を行うことを特徴とする、請求項1又は2に記載のケーブル不具合箇所検知システム。
発明の詳細な説明
【技術分野】
【0001】
本発明は、ケーブルの不具合箇所を確認するケーブル不具合箇所検知システムに関する。
続きを表示(約 1,400 文字)
【背景技術】
【0002】
地中送電線路では地絡事故に至る前に、初期の段階で、線路(ケーブル)の不具合を発見し、対策を講じて未然に事故を回避することが、電力の安定供給の点から、また、補修範囲及び対応費用の最小化の点から重要である。
【0003】
以下、詳しく説明する。例えば、ケーブルの一種である特別高圧CVケーブルは、トリー(トリーイング、プラスチックケーブルの絶縁物中に発生する樹枝状の絶縁破壊の痕跡を指す)等の異常が把握されてから、地絡事故(地絡トラブル)に至るまで、急に進展しまう場合が多く、トリー等の異常の把握以降に、送電を再開することは難しい。
【0004】
一方、初期の段階で、線路(ケーブル)の不具合を発見することができれば、それ以降も、ある程度送電運用を継続しつつ、補修材料の手配等を行い、その後、不具合箇所を補修することで、送電停止期間を不具合箇所の補修時のみとすることができる。
【0005】
そして、初期の段階で、線路(ケーブル)の不具合を発見することができる可能性がある方法は、以下の3つの方法である。
【0006】
トリーから発生する部分放電に係る放電電荷量等を測定することで、微小な空隙状の欠陥や微弱な放電の存在を把握する「部分放電測定法」と、ケーブル及びケーブル接続部の表面にセンサーを貼り付け、異常音波を検出することで、水トリー(架橋ポリエチレン製等の絶縁体が長期間にわたり水に浸潰されたり、異物やボイドギャップ等、何らかの要因で絶縁体が破壊されている状態を指す)の存在を把握する「AE(アコースティック・エミッション)センサー測定法」と、ケーブル及びケーブルの接続部の表面温度を測定することにより、過熱に伴う異常を把握する「サーモカメラ調査法」である。
【0007】
例えば、特許文献1では、電線の突然の破断事故を未然に防ぎ、電柱等に架設された状態にて行える電線の疲労判定方法を提供するべく、「AEセンサー測定法」を用いる以下の構成が開示されている。
【0008】
即ち、架設された電線に歪を繰返し付加し、この電線から発生するAE波を、該電線に固着したAEセンサーにて検出して電気信号に変換し、該電気信号を、フィルタにて特定の周波数成分のみを通過させノイズを除去してAE信号のみを取出し、次に、当該フィルタからのAE信号を増幅した後、このAE信号の波を弁別回路にて所定のしきい値と比較し、単位時間内に当該しきい値を越えた波の数を計数したオシレーション率を、表示手段にて表示し、次に、上記電線の疲労の進行に伴って変化するオシレーション率計数から予め設定した寿命限界値数と、該表示手段に表示された上記オシレーション率計数値を、比較して電線の疲労状態を判定する構成が開示されている。
【先行技術文献】
【特許文献】
【0009】
特開平05-126707号公報
【0010】
但し、上述したサーモカメラ調査法以外の2つの方法は、高額な費用がかかる。そのため実際には、設備の定期点検時に送電を停止した状態で、絶縁抵抗測定を実施し、異常の兆候が発見された際に、サーモカメラ調査法を実施するという対応が一般的となっている。
【発明の開示】
【発明が解決しようとする課題】
(【0011】以降は省略されています)
この特許をJ-PlatPat(特許庁公式サイト)で参照する
関連特許
株式会社関電工
車両運行通知システム
4日前
株式会社関電工
非接触型充電表示装置
8日前
株式会社関電工
ケーブルドラム逸走防止治具
11日前
株式会社関電工
ケーブル不具合箇所検知システム
8日前
株式会社関電工
オーガ式簡易掘削機における拡縮カッタ構造
8日前
株式会社関電工
プログラム、情報処理装置及び情報処理方法
10日前
株式会社関電工
脚立型誘導アンテナ架台及び当該架台を用いた誘導アンテナの設置方法
8日前
東京電力ホールディングス株式会社
判定装置、制御システム及び判定方法
10日前
株式会社関電工
ケーブル用ドラム架台及び当該ドラム架台を用いたケーブルドラムの運搬車両への搭載方法
8日前
個人
高精度同時多点測定装置
3日前
個人
アクセサリー型テスター
4日前
ユニパルス株式会社
ロードセル
10日前
株式会社ヨコオ
ソケット
10日前
ダイキン工業株式会社
監視装置
8日前
株式会社ヨコオ
ソケット
9日前
トヨタ自動車株式会社
監視装置
9日前
株式会社チノー
放射光測温装置
10日前
ローム株式会社
半導体装置
2日前
TDK株式会社
磁気センサ
9日前
長崎県
形状計測方法
4日前
TDK株式会社
ガスセンサ
10日前
ローム株式会社
半導体装置
2日前
日本特殊陶業株式会社
センサ
8日前
中国電力株式会社
電柱管理システム
8日前
日本特殊陶業株式会社
センサ
8日前
日本特殊陶業株式会社
センサ
8日前
日本特殊陶業株式会社
センサ
8日前
日本特殊陶業株式会社
センサ
8日前
株式会社デンソー
電流センサ
2日前
トヨタ自動車株式会社
測定システム
1日前
ダイハツ工業株式会社
移動支援装置
9日前
TDK株式会社
電磁波センサ
10日前
多摩川精機株式会社
冗長エンコーダ
9日前
三恵技研工業株式会社
融雪レドーム
9日前
コイト電工株式会社
座席濡れ検知装置
8日前
日鉄テックスエンジ株式会社
聴音装置
10日前
続きを見る
他の特許を見る