TOP
|
特許
|
意匠
|
商標
特許ウォッチ
Twitter
他の特許を見る
10個以上の画像は省略されています。
公開番号
2025153496
公報種別
公開特許公報(A)
公開日
2025-10-10
出願番号
2024056008
出願日
2024-03-29
発明の名称
トリミング加工装置及びトリミング加工方法
出願人
株式会社東京精密
代理人
個人
,
個人
,
個人
主分類
H01L
21/304 20060101AFI20251002BHJP(基本的電気素子)
要約
【課題】ワークのトリミング加工中に加工部の形状を同時に測定できるトリミング加工装置及びトリミング加工方法を提供する。
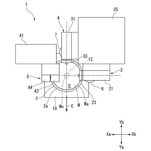
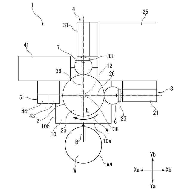
【解決手段】トリミング加工装置は、ウェーハを保持し、かつθ軸を中心に回転可能な加工テーブルと、θ軸に交差する第1軸線上に配置されて切込み量及び切込み深さを調整可能な第1加工部と、第1軸線に交差するとともにθ軸に交差する第2軸線上に配置されて切込み量及び切込み深さを調整可能な第2加工部と、ウェーハのトリミング加工中にウェーハを測定可能に配置された測定部と、を備える。
【選択図】図1
特許請求の範囲
【請求項1】
ワークを保持し、かつ回転軸を中心に回転可能な加工テーブルと、
前記回転軸に交差する第1軸線上において前記ワークをトリミング加工可能に配置され、前記ワークに対する切込み量及び切込み深さを調整可能な第1加工部と、
前記第1軸線に交差するとともに前記回転軸に交差する第2軸線上において前記第1加工部でトリミング加工した前記ワークを継続して加工可能に配置され、前記ワークに対する切込み量及び切込み深さを調整可能な第2加工部と、
前記ワークのトリミング加工中に前記ワークを測定可能に配置され、前記ワークに対する測定位置を調整可能な測定部と、を備える、トリミング加工装置。
続きを表示(約 590 文字)
【請求項2】
前記加工テーブルは、前記回転軸に交差する平面を形成するX-Y平面においてX方向、Y方向へ移動可能である、請求項1に記載のトリミング加工装置。
【請求項3】
前記第1加工部及び前記第2加工部を支持する加工軸コラムと、前記測定部を支持する測定軸コラムが独立している、請求項1又は2に記載のトリミング加工装置。
【請求項4】
前記測定部は、前記第1加工部、前記第2加工部でトリミング加工された前記ワークの外周壁及びステップを同時に測定できる光学式ラインセンサである、請求項1又は2に記載のトリミング加工装置。
【請求項5】
前記測定部を加工水から保護する保護壁を備える、請求項1又は2に記載のトリミング加工装置。
【請求項6】
前記第1加工部及び前記第2加工部にツルーイングステージが設けられている、請求項1又は2に記載のトリミング加工装置。
【請求項7】
前記ツルーイングステージは回転ステージである、請求項6に記載のトリミング加工装置。
【請求項8】
ウェーハの回転中に1回目の加工及び測定と2回目の加工を連続で行う、トリミング加工方法。
【請求項9】
前記2回目の加工後に前記ウェーハの研削精度の確認を連続で行う、請求項8に記載のトリミング加工方法。
発明の詳細な説明
【技術分野】
【0001】
本発明は、トリミング加工装置及びトリミング加工方法に関する。
続きを表示(約 2,100 文字)
【背景技術】
【0002】
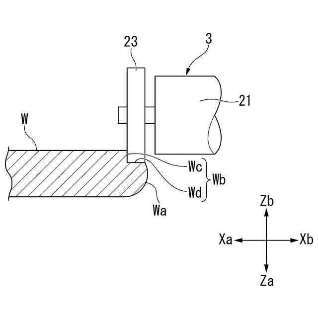
略円板形状であるウェーハ(以下、ワークということがある)の表面に格子状に配列されたストリートと呼ばれる複数のストリートが格子状に形成され、この区画された領域にIC、LSI等が半導体デバイスとして形成される。ワークをストリートに沿って切断することにより半導体デバイスが個片化される。半導体デバイスを形成するプロセス中に割れや発塵を防止するために、ワークの半導体デバイスが形成された領域を囲む外周部がトリミングされる。
【0003】
ここで、半導体デバイスの小型化及び軽量化を図るために、ワークをストリートに沿って切断して個々のデバイスに分割する前に、ワークの裏面を研削して所定の厚さに形成する。しかし、ワークの裏面を研削することにより、ワークの外周に所謂ナイフエッジが形成される。このため、外周から欠けが発生してワークが損傷することが考えられる。
【0004】
ワークの損傷を防止する装置として、加工テーブル(すなわち、チャックテーブル)の回転中心を通る直線上に研削ブレードと研削砥石とが対向して配置されたトリミング加工装置が提案されている。このトリミング加工装置によれば、ワークの裏面を研削して所定の厚みに形成する前に、ワークの外周部を研削ブレードにより切削してトリミング加工する。トリミング加工後に加工した部位の形状を測定し、加工した部位の精度を確認する。加工した部位の形状を測定した後、加工テーブルからワークを搬出する。搬出したワークを所定の厚みに研削することにより、ワークの外周壁から鋭角部を除くことができ、外周壁を滑らかに形成できる。これにより、ワークの外周壁から欠けが発生することを防いでワークが損傷することを防止できる(例えば、特許文献1参照)。
【先行技術文献】
【特許文献】
【0005】
特開2012-182366号公報
【発明の概要】
【発明が解決しようとする課題】
【0006】
しかし、従来のトリミング加工装置は、トリミング加工後に加工した部位の形状を測定して加工した部位の精度を確認する必要がある。このため、形状測定を含め、ワークをトリミング加工する時間が長くなり、生産性の点で十分ではなかった。
【0007】
本発明は、前述した事情に鑑みてなされたものであって、ワークのトリミング加工中に加工部の形状を同時に測定でき、生産性の向上を可能とするトリミング加工装置及びトリミング加工方法を提供することを目的とする。
【課題を解決するための手段】
【0008】
前記課題を解決するために、本発明は以下の手段を提案している。
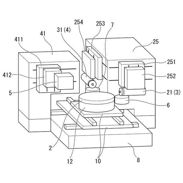
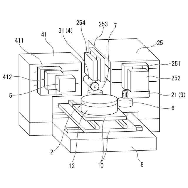
<1>本発明の一態様に係るトリミング加工装置は、ワークを保持し、かつ回転軸を中心に回転可能な加工テーブルと、上記回転軸に交差する第1軸線上において上記ワークをトリミング加工可能に配置され、上記ワークに対する切込み量及び切込み深さを調整可能な第1加工部と、上記第1軸線に交差するとともに上記回転軸に交差する第2軸線上において上記第1加工部でトリミング加工した上記ワークを継続して加工可能に配置され、上記ワークに対する切込み量及び切込み深さを調整可能な第2加工部と、上記ワークのトリミング加工中に上記ワークを測定可能に配置され、上記ワークに対する測定位置を調整可能な測定部と、を備える。
<2>上記<1>に記載のトリミング加工装置では、上記加工テーブルは、上記回転軸に交差する平面を形成するX-Y平面においてX方向、Y方向へ移動可能であってもよい。
<3>上記<1>又は<2>に記載のトリミング加工装置では、上記第1加工部及び上記第2加工部を支持する加工軸コラムと、上記測定部を支持する測定軸コラムが独立していてもよい。
<4>上記<1>~<3>のいずれかに記載のトリミング加工装置では、上記測定部は、上記第1加工部、上記第2加工部でトリミング加工された上記ワークの外周壁及びステップを同時に測定できる光学式ラインセンサであってもよい。
<5>上記<1>~<4>のいずれかに記載のトリミング加工装置は、上記測定部を加工水から保護する保護壁を備えていてもよい。
<6>上記<1>~<5>のいずれかに記載のトリミング加工装置には、上記第1加工部及び上記第2加工部にツルーイングステージが設けられていてもよい。
<7>上記<1>~<6>のいずれかに記載のトリミング加工装置において、上記ツルーイングステージは回転ステージであってもよい。
【0009】
<8>また、本発明の別の態様に係るトリミング加工方法は、ウェーハの回転中に1回目の加工及び測定と2回目の加工を連続で行う。
<9>上記<8>に記載のトリミング加工方法は、上記2回目の加工後に上記ウェーハの研削精度の確認を連続で行ってもよい。
【発明の効果】
【0010】
本発明によれば、ワークのトリミング加工中に加工部の形状を同時に測定できる。
【図面の簡単な説明】
(【0011】以降は省略されています)
この特許をJ-PlatPat(特許庁公式サイト)で参照する
関連特許
株式会社東京精密
プローバ
1か月前
株式会社東京精密
研削装置
1か月前
株式会社東京精密
加工装置
1か月前
株式会社東京精密
加工装置
1か月前
株式会社東京精密
プローバ
1か月前
株式会社東京精密
加工方法
1か月前
株式会社東京精密
搬送装置
1か月前
株式会社東京精密
加工装置
1か月前
株式会社東京精密
研削装置
1か月前
株式会社東京精密
加工装置
1か月前
株式会社東京精密
プローバ
1か月前
株式会社東京精密
プローバ
1か月前
株式会社東京精密
亀裂測定器
1か月前
株式会社東京精密
亀裂測定器
1か月前
株式会社東京精密
レーザ加工装置
1か月前
株式会社東京精密
ダイシング装置
1か月前
株式会社東京精密
半導体製造装置
1か月前
株式会社東京精密
テープ貼付装置
1か月前
株式会社東京精密
レーザ加工装置
1か月前
株式会社東京精密
レーザ加工装置
1か月前
株式会社東京精密
ダイシング装置
1か月前
株式会社東京精密
ハブレスブレード
1か月前
株式会社東京精密
収容ボックスシステム
1か月前
株式会社東京精密
加工装置及び加工方法
1か月前
株式会社東京精密
吸着装置及び研削装置
1か月前
株式会社東京精密
ウェーハの面取り装置
1か月前
株式会社東京精密
ウェーハの面取り装置
1か月前
株式会社東京精密
ケーブルのガイド方法
1か月前
株式会社東京精密
校正方法及び校正装置
1か月前
株式会社東京精密
ウェーハセンシング装置
1か月前
株式会社東京精密
CMP装置及び研磨方法
1か月前
株式会社東京精密
面取り装置及び面取り方法
1か月前
株式会社東京精密
加工方法、及び、加工装置
1か月前
株式会社東京精密
亀裂検出装置及び亀裂検出方法
1か月前
株式会社東京精密
測定装置及び移動体の制御方法
1か月前
株式会社東京精密
内径測定装置及びそのシステム
1か月前
続きを見る
他の特許を見る