TOP
|
特許
|
意匠
|
商標
特許ウォッチ
Twitter
他の特許を見る
公開番号
2025153195
公報種別
公開特許公報(A)
公開日
2025-10-10
出願番号
2024055535
出願日
2024-03-29
発明の名称
搬送装置、印刷装置および粘着剤塗布方法
出願人
セイコーエプソン株式会社
代理人
個人
,
個人
,
個人
主分類
B41J
2/01 20060101AFI20251002BHJP(印刷;線画機;タイプライター;スタンプ)
要約
【課題】均一な厚さを有するとともに、粘着性にムラが無い粘着層を搬送ベルトに形成することができる搬送装置、印刷装置および粘着剤塗布方法を提供すること。
【解決手段】記録媒体を搬送する搬送ベルトと、搬送ベルトの記録媒体側の塗布面に供給された水と樹脂とを含む水性粘着剤の塗布液を塗布面上で均すブレードと、を備え、ブレードは、主として樹脂材料で構成されることを特徴とする搬送装置。また、ブレードは、搬送ベルトの幅方向に延在しており、塗布液を均す際に、搬送ベルトから所定距離離間している。
【選択図】図2
特許請求の範囲
【請求項1】
記録媒体を搬送する搬送ベルトと、
前記搬送ベルトの前記記録媒体側の塗布面に供給された水と樹脂とを含む水性粘着剤の塗布液を前記塗布面上で均すブレードと、を備え、
前記ブレードは、主として樹脂材料で構成されることを特徴とする搬送装置。
続きを表示(約 770 文字)
【請求項2】
前記ブレードは、前記搬送ベルトの幅方向に延在しており、前記塗布液を均す際に、前記搬送ベルトから所定距離離間している請求項1に記載の搬送装置。
【請求項3】
前記ブレードの前記搬送ベルトの幅方向の長さは、100cm以上200cm以下である請求項2に記載の搬送装置。
【請求項4】
前記樹脂材料の比重は、0.5以上2.0以下である請求項1に記載の搬送ベルト。
【請求項5】
前記塗布液の常温における粘度は、1cps以上500cps以下である請求項1に記載の搬送装置。
【請求項6】
前記塗布液中の前記水の含有量は、30重量%以上80重量%以下である請求項1に記載の搬送装置。
【請求項7】
前記塗布液を前記塗布面に供給する塗布液供給部を備える請求項1ないし6のいずれか1項に記載の搬送装置。
【請求項8】
請求項7に記載の搬送装置と、
前記搬送ベルトにより搬送されている前記記録媒体にインクを吐出して印刷を行うインクジェットヘッドと、を備えることを特徴とする印刷装置。
【請求項9】
前記ブレードによる前記塗布液の均しは、前記搬送ベルトを駆動して走行しつつ行われ、前記塗布液を均す際の前記搬送ベルトの走行速度は、印刷の際の前記搬送ベルトの走行速度と実質的に同じである請求項8に記載の印刷装置。
【請求項10】
水と樹脂とを含む水性粘着剤の塗布液を、記録媒体を搬送する搬送ベルトの前記記録媒体側の塗布面に供給する供給工程と、
前記塗布面に供給された前記塗布液を、主として樹脂材料で構成されるブレードにより前記塗布面上で均す均し工程と、を有することを特徴とする粘着剤塗布方法。
発明の詳細な説明
【技術分野】
【0001】
本発明は、搬送装置、印刷装置および粘着剤塗布方法に関する。
続きを表示(約 1,300 文字)
【背景技術】
【0002】
例えば、特許文献1に示すように、記録媒体上にインクを付与して印刷する印刷装置が知られている。特許文献1に記載の印刷装置は、記録媒体を搬送する搬送ベルトと、記録媒体の搬送方向と交わる方向に沿って往復動しつつ、搬送されている記録媒体上にインクを吐出する多数のノズルを有する印刷部と、を備えている。
【0003】
また、搬送ベルトの記録媒体と接する面には、粘着層が形成されている。これにより、記録媒体を粘着して保持しつつ、記録媒体を安定して搬送することができる。
【先行技術文献】
【特許文献】
【0004】
特開2012-116092号公報
【発明の概要】
【発明が解決しようとする課題】
【0005】
しかしながら、特許文献1では、粘着層を構成する粘着剤が、有機溶媒を用いて得られた粘着剤である。このため、粘着剤塗布液の製造時や搬送ベルトへの塗布時の取り扱いに関し、安全性に十分に配慮しなければならず、特に粘着剤塗布液の塗布に際しては、例えば十分な換気が必須であること等、周辺環境等への制約が多い。そこで、水性粘着剤を用いることも考えられるが、従来と同じ方法により水性粘着剤を塗布するだけでは、水性粘着剤を均一にムラなく塗布することができなかったり、粘着性にムラが生じたりするおそれがある。
【課題を解決するための手段】
【0006】
本発明の搬送装置は、記録媒体を搬送する搬送ベルトと、
前記搬送ベルトの前記記録媒体側の塗布面に供給された水と樹脂とを含む水性粘着剤の塗布液を前記塗布面上で均すブレードと、を備え、
前記ブレードは、主として樹脂材料で構成される。
【0007】
本発明の印刷装置は、本発明の搬送装置と、
前記搬送ベルトにより搬送されている前記記録媒体にインクを吐出して印刷を行うインクジェットヘッドと、を備える。
【0008】
本発明の粘着剤塗布方法は、水と樹脂とを含む水性粘着剤の塗布液を、記録媒体を搬送する搬送ベルトの前記記録媒体側の塗布面に供給する供給工程と、
前記塗布面に供給された前記塗布液を、主として樹脂材料で構成されるブレードにより前記塗布面上で均す均し工程と、を有する。
【図面の簡単な説明】
【0009】
図1は、本発明の実施形態に係る搬送装置および印刷装置の概略構成図である。
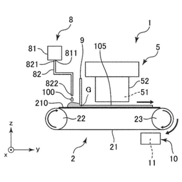
図2は、図1に示す搬送装置が均し工程を実行している状態を示す図である。
図3は、本発明の実施形態に係る粘着剤塗布方法の一例を説明するためのフローチャートである。
図4は、実施例等において用いるブレードの材質および水性粘着剤、その評価結果を示す表1である。
【発明を実施するための形態】
【0010】
以下、本発明の搬送装置、印刷装置および粘着剤塗布方法を添付図面に示す好適な実施形態に基づいて詳細に説明する。
(【0011】以降は省略されています)
この特許をJ-PlatPat(特許庁公式サイト)で参照する
関連特許
個人
箔熱転写装置
1か月前
シヤチハタ株式会社
印判
4か月前
東レ株式会社
凸版印刷版原版
10か月前
三菱製紙株式会社
感熱記録材料
10か月前
シヤチハタ株式会社
反転式印判
9か月前
三光株式会社
感熱記録材料
6か月前
キヤノン株式会社
記録装置
29日前
独立行政法人 国立印刷局
印刷物
7か月前
日本製紙株式会社
感熱記録体
7か月前
独立行政法人 国立印刷局
記録媒体
8か月前
株式会社リコー
液体吐出装置
4か月前
株式会社リコー
画像形成装置
17日前
株式会社リコー
画像形成装置
13日前
独立行政法人 国立印刷局
貼付装置
1か月前
独立行政法人 国立印刷局
貼付機構
2か月前
株式会社リコー
液体吐出装置
7か月前
株式会社リコー
液体吐出装置
8か月前
株式会社リコー
画像形成装置
1か月前
株式会社リコー
印刷システム
17日前
株式会社リコー
液体吐出装置
2か月前
株式会社リコー
液体吐出装置
5か月前
株式会社リコー
液体吐出装置
6か月前
株式会社リコー
液体吐出装置
4か月前
株式会社リコー
液体吐出装置
7か月前
ブラザー工業株式会社
プリンタ
6か月前
フジコピアン株式会社
熱転写記録媒体
11か月前
キヤノン株式会社
画像形成装置
8か月前
キヤノン株式会社
画像形成装置
3か月前
ブラザー工業株式会社
プリンタ
9か月前
キヤノン株式会社
画像形成装置
6か月前
キヤノン株式会社
画像形成装置
10か月前
ブラザー工業株式会社
プリンタ
8か月前
キヤノン株式会社
画像処理装置
4か月前
キヤノン株式会社
印刷システム
7か月前
キヤノン株式会社
画像形成装置
7か月前
ブラザー工業株式会社
液体吐出ヘッド
29日前
続きを見る
他の特許を見る