TOP
|
特許
|
意匠
|
商標
特許ウォッチ
Twitter
他の特許を見る
公開番号
2025153055
公報種別
公開特許公報(A)
公開日
2025-10-10
出願番号
2024055326
出願日
2024-03-29
発明の名称
静電塗工装置および静電塗工方法
出願人
ブラザー工業株式会社
代理人
弁理士法人有古特許事務所
主分類
B05C
11/10 20060101AFI20251002BHJP(霧化または噴霧一般;液体または他の流動性材料の表面への適用一般)
要約
【課題】 液体の吐出量の調整幅を拡大でき、かつ、液体の吐出態様をより正確に制御できる静電塗工装置および静電塗工方法を提供する。
【解決手段】 静電塗工装置1は、貯留空間11およびノズル12を有するシリンジ10と、シリンジ10に対向して配置された対向電極41と、シリンジ10および対向電極41の間に電圧を付与する電圧発生装置42と、貯留空間11に圧力を付与する圧力発生装置22と、貯留空間11内の液体2の性状を計測する計測装置50と、制御装置30と、を備え、制御装置30は、電圧発生装置42により付与する電圧と、圧力発生装置22により付与する圧力とを、互いに同期して変化させて、ノズル12から液体2を吐出させ、計測装置50による計測値に基づいて、電圧の値および前記圧力の値を変更する。
【選択図】 図2
特許請求の範囲
【請求項1】
液体を貯留する貯留空間、および、液体を被記録媒体へ向けて吐出するノズル、を有するシリンジと、
前記シリンジに対向して配置された対向電極と、
前記シリンジおよび前記対向電極の間に電圧を付与する電圧発生装置と、
前記シリンジの前記貯留空間に圧力を付与する圧力発生装置と、
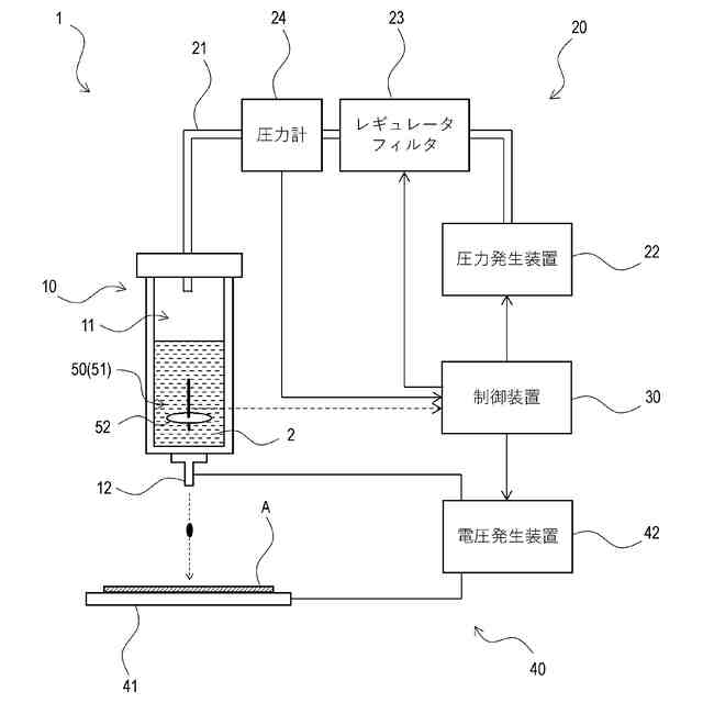
前記貯留空間内の液体の性状を計測する計測装置と、
制御装置と、を備え、
前記制御装置は、
前記電圧発生装置により付与する電圧と、前記圧力発生装置により付与する圧力とを、互いに同期して変化させて、前記ノズルから液体を吐出させ、
前記計測装置による計測値に基づいて、前記電圧の値および前記圧力の値を変更する、
静電塗工装置。
続きを表示(約 920 文字)
【請求項2】
前記計測装置は、液体の粘度を、常時または断続的に計測する、
請求項1に記載の静電塗工装置。
【請求項3】
前記計測装置は、前記貯留空間内に貯留された液体の粘度を直接計測する計測部を有する、
請求項2に記載の静電塗工装置。
【請求項4】
前記計測装置は、前記ノズルからの液体の吐出量を計測する、
請求項1に記載の静電塗工装置。
【請求項5】
前記計測装置は、前記被記録媒体に着弾した液体の重量を計測する、
請求項4に記載の静電塗工装置。
【請求項6】
前記電圧発生装置は、パルス波形状の電圧を発生し、
前記圧力発生装置は、パルス波形状の圧力を発生し、
前記制御装置は、前記計測値に基づいて、前記パルス波形状の電圧についてはパルス幅を変更し、前記パルス波形状の圧力についてはパルス高さまたはパルス幅を変更する、
請求項1に記載の静電塗工装置。
【請求項7】
液体を貯留する貯留空間、および、液体を被記録媒体へ向けて吐出するノズル、を有するシリンジと、前記シリンジに対向して配置された対向電極と、を備える静電塗工装置による静電塗工方法であって、
前記シリンジおよび前記対向電極の間に付与する電圧と、前記シリンジの前記貯留空間に付与する圧力とを、互いに同期して変化させて、前記ノズルから液体を吐出させ、
前記貯留空間内の液体の性状に関する計測値に基づいて、前記電圧の値および前記圧力の値を変更する、
静電塗工方法。
【請求項8】
前記液体の性状として、液体の粘度を、常時または断続的に計測する、
請求項7に記載の静電塗工方法。
【請求項9】
前記貯留空間内に貯留された液体の粘度を直接計測する、
請求項8に記載の静電塗工方法。
【請求項10】
前記液体の性状に関連する情報として、前記ノズルからの液体の吐出量を計測する、
請求項7に記載の静電塗工方法。
(【請求項11】以降は省略されています)
発明の詳細な説明
【技術分野】
【0001】
本開示は、静電気力により液体を吐出させる静電塗工装置および静電塗工方法に関する。
続きを表示(約 1,600 文字)
【背景技術】
【0002】
従来の静電塗工装置として、例えば特許文献1に記載されたような例がある。特許文献1の装置は、インクが貯留されたリザーバー容器(21)内を一定の負圧にして容器下部のノズル(22)にインクのメニスカスを形成する。この状態で、ノズル(22)とゲート板(14)との間に電圧を印加し、静電気力によってノズル(22)からインクを吐出させる。また、特許文献1には、インクの粘度に応じてリザーバー容器(21)内の負圧を調整してもよいことが記載されている。
【先行技術文献】
【特許文献】
【0003】
特開2022-103179号公報
【発明の概要】
【発明が解決しようとする課題】
【0004】
しかしながら、特許文献1では、リザーバー容器(21)内の圧力は、ノズルにてインクのメニスカスを形成するために付与され、インクを吐出させる力は電界による静電気力のみによって与えられる。従って、インクの吐出量の調整幅には限界がある。また、吐出されるインクの種類や環境などの様々の要因がインクの吐出特性に影響を与えるため、このような影響を踏まえてインクの吐出態様をより正確に制御することが望まれる。
【0005】
そこで本開示は、液体の吐出量の調整幅を拡大でき、かつ、液体の吐出態様をより正確に制御することができる静電塗工装置および静電塗工方法を提供することを目的とする。
【課題を解決するための手段】
【0006】
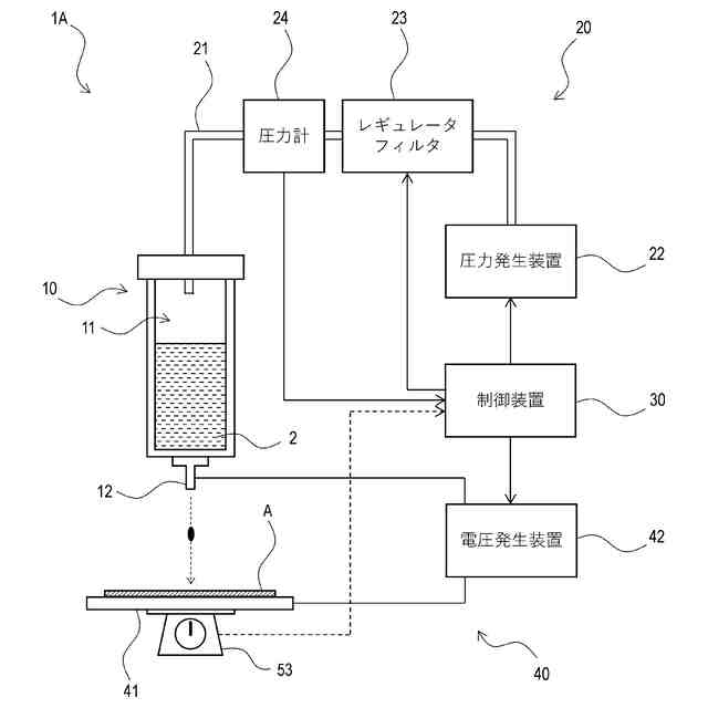
本開示の第1の態様に係る静電塗工装置は、 液体を貯留する貯留空間、および、液体を被記録媒体へ向けて吐出するノズル、を有するシリンジと、前記シリンジに対向して配置された対向電極と、前記シリンジおよび前記対向電極の間に電圧を付与する電圧発生装置と、前記シリンジの前記貯留空間に圧力を付与する圧力発生装置と、前記貯留空間内の液体の性状を計測する計測装置と、制御装置と、を備え、前記制御装置は、前記電圧発生装置により付与する電圧と、前記圧力発生装置により付与する圧力とを、互いに同期して変化させて、前記ノズルから液体を吐出させ、前記計測装置による計測値に基づいて、前記電圧の値および前記圧力の値を変更する。
【0007】
これにより、本開示に係る静電塗工装置は、電圧および圧力を同期的に変化させることで、液体の吐出力の調整幅を拡大できる。また、本開示の液体吐出装置は、計測値に応じて電圧値および圧力値を変更するため、液体の性状に応じて適切な吐出力を付与することができ、液体の吐出態様を正確に制御することができる。
【発明の効果】
【0008】
本開示に係る静電塗工装置および静電塗工方法によれば、液体の吐出量の調整幅を拡大でき、かつ、液体の吐出態様をより正確に制御することができる。
【図面の簡単な説明】
【0009】
図1は、実施の形態に係る静電塗工装置の構成を示す模式図である。
図2は、静電塗工装置の動作例を示すフローチャートである。
図3は、液体の性状変化に伴う圧力および電圧の変更態様を示す模式的なグラフである。
図4は、液体の性状変化に伴う圧力および電圧の変更態様を示す模式的なグラフである。
図5は、変形例に係る静電塗工装置の構成を示す模式図である。
【発明を実施するための形態】
【0010】
以下、本開示に係る静電塗工装置および静電塗工方法の実施の形態を、図面を参照しながら説明する。なお、以下では、全ての図面を通じて同一または対応する要素には同一の参照符号を付することとし、重複した説明を省略する。
(【0011】以降は省略されています)
この特許をJ-PlatPat(特許庁公式サイト)で参照する
関連特許
ブラザー工業株式会社
ホルダ
25日前
ブラザー工業株式会社
ミシン
25日前
ブラザー工業株式会社
空調機
26日前
ブラザー工業株式会社
ミシン
25日前
ブラザー工業株式会社
電子機器
今日
ブラザー工業株式会社
制御装置
26日前
ブラザー工業株式会社
結紮装置
26日前
ブラザー工業株式会社
結紮装置
26日前
ブラザー工業株式会社
印刷媒体
25日前
ブラザー工業株式会社
印刷媒体
25日前
ブラザー工業株式会社
印刷媒体
25日前
ブラザー工業株式会社
スキャナ
21日前
ブラザー工業株式会社
スキャナ
21日前
ブラザー工業株式会社
塗工装置
25日前
ブラザー工業株式会社
制御装置
26日前
ブラザー工業株式会社
塗工装置
25日前
ブラザー工業株式会社
塗布装置
25日前
ブラザー工業株式会社
印刷装置
6日前
ブラザー工業株式会社
回収装置
25日前
ブラザー工業株式会社
印刷装置
18日前
ブラザー工業株式会社
塗工装置
25日前
ブラザー工業株式会社
画像形成装置
25日前
ブラザー工業株式会社
画像形成装置
25日前
ブラザー工業株式会社
画像形成装置
5日前
ブラザー工業株式会社
画像形成装置
25日前
ブラザー工業株式会社
静電塗工装置
25日前
ブラザー工業株式会社
画像形成装置
25日前
ブラザー工業株式会社
画像形成装置
25日前
ブラザー工業株式会社
画像形成装置
26日前
ブラザー工業株式会社
画像形成装置
25日前
ブラザー工業株式会社
画像形成装置
25日前
ブラザー工業株式会社
画像形成装置
25日前
ブラザー工業株式会社
画像形成装置
25日前
ブラザー工業株式会社
分別回収装置
25日前
ブラザー工業株式会社
画像形成装置
26日前
ブラザー工業株式会社
静電塗工装置
25日前
続きを見る
他の特許を見る