TOP
|
特許
|
意匠
|
商標
特許ウォッチ
Twitter
他の特許を見る
10個以上の画像は省略されています。
公開番号
2025152138
公報種別
公開特許公報(A)
公開日
2025-10-09
出願番号
2024053889
出願日
2024-03-28
発明の名称
液体吐出装置、および液体吐出装置の駆動方法
出願人
セイコーエプソン株式会社
代理人
弁理士法人旺知国際特許事務所
主分類
B41J
2/015 20060101AFI20251002BHJP(印刷;線画機;タイプライター;スタンプ)
要約
【課題】設計の自由度を高めて吐出量の補正を可能とする液体吐出装置、および液体吐出装置の駆動方法。
【解決手段】液体吐出装置は、液体を吐出する第1ノズルと、第1ノズルに連通する第1圧力室と、第1圧力室の体積を変更するように駆動される第1駆動素子と、を含む第1吐出部を備える液体吐出ヘッドと、第1ノズルから第1の量の液滴を吐出する際に、第1駆動素子に供給される第1パルスを有する第1駆動信号を生成する第1駆動信号生成回路と、第1駆動素子に供給され、第1パルスとは異なる第2パルスを有する第2駆動信号を生成する第2駆動信号生成回路と、を備え、第1駆動信号は、1駆動周期の開始から第1パルスの開始まで第1の電位を維持する第1開始電位保持要素を有し、第2駆動信号は、1駆動周期の開始から第2パルスの開始まで第2の電位を維持する第2開始電位保持要素を有し、第1の電位と第2の電位とは異なる。
【選択図】図5
特許請求の範囲
【請求項1】
液体を吐出する第1ノズルと、前記第1ノズルに連通する第1圧力室と、駆動信号に応じて前記第1圧力室の体積を変更するように駆動される第1駆動素子と、を含む第1吐出部を備える液体吐出ヘッドと、
前記第1ノズルから第1の量の液滴を吐出する際に、前記第1駆動素子に供給される第1パルスを有する第1駆動信号を生成する第1駆動信号生成回路と、
前記第1駆動素子に供給され、前記第1パルスとは異なる第2パルスを有する第2駆動信号を生成する第2駆動信号生成回路と、
を備え、
前記第1駆動信号は、1駆動周期の開始から前記第1パルスの開始まで第1の電位を維持する第1開始電位保持要素を有し、
前記第2駆動信号は、1駆動周期の開始から前記第2パルスの開始まで第2の電位を維持する第2開始電位保持要素を有し、
前記第1の電位と前記第2の電位とは異なる、
ことを特徴とする液体吐出装置。
続きを表示(約 2,100 文字)
【請求項2】
前記第1パルスは、電位を変化させることで前記第1圧力室の体積を膨張させるように前記第1駆動素子を駆動する膨張要素と、当該膨張要素の後に電位変化させることで膨張した前記第1圧力室の体積を収縮させるように前記第1駆動素子を駆動して前記第1ノズルから第1の量の液滴を吐出させる吐出要素と、を有し、
前記第1開始電位保持要素の開始から前記第1パルスの膨張要素の中間位置までの期間txは、下記の式を満たし、
0.25×TC+n≦tx≦0.75×TC+n
TCは、前記第1吐出部の固有振動周期であり、nは、自然数である、
請求項1に記載の液体吐出装置。
【請求項3】
前記第1開始電位保持要素の開始から前記第1パルスの膨張要素の中間位置までの期間txは、下記の式を満たす、
tx=0.5×Tc+n
TCは、前記第1吐出部の固有振動周期であり、nは、自然数である、
請求項1に記載の液体吐出装置。
【請求項4】
前記第1駆動信号は、前記第1パルスの終了から1駆動周期の終了まで前記第1の電位を維持する第1終了電位保持要素を有する、
請求項1に記載の液体吐出装置。
【請求項5】
前記第1の電位と前記第2の電位との差は、4.0V以下である、
請求項1に記載の液体吐出装置。
【請求項6】
前記第1駆動信号および前記第2駆動信号による最高吐出周波数は、10kHz以上である、
請求項1に記載の液体吐出装置。
【請求項7】
前記第1ノズルから吐出される液滴の量に関する第1吐出量情報を取得する吐出量情報取得部と、
前記第1吐出量情報に基づいて、前記第1駆動信号の波形を指定する第1駆動信号情報を生成し、前記第1駆動信号情報を前記第1駆動信号生成回路に送信するように構成される制御部と、
をさらに備え、
前記第1パルスは、電位を変化させることで前記第1圧力室の体積を膨張させるように前記第1駆動素子を駆動する膨張要素と、当該膨張要素の後に電位変化させることで膨張した前記第1圧力室の体積を収縮させるように前記第1駆動素子を駆動して前記第1ノズルから第1の量の液滴を吐出させる吐出要素と、を有し、
前記制御部は、前記第1吐出量情報に基づいて、前記第1パルスの膨張要素の電位変化幅と、前記第1パルスの吐出要素の電位変化幅と、前記第1の電位とのうちの少なくとも1つを、変更する、
請求項1に記載の液体吐出装置。
【請求項8】
前記液体吐出ヘッドは、液体を吐出する第2ノズルと、前記第2ノズルに連通する第2圧力室と、駆動信号に応じて前記第2圧力室の体積を変更するように駆動される第2駆動素子と、を含む第2吐出部をさらに備え、
前記第2ノズルから第1の量の液滴を吐出する際に、前記第2駆動素子に供給される第3パルスを有する第3駆動信号を生成する第3駆動信号生成回路をさらに備え、
前記第3駆動信号は、1駆動周期の開始から前記第3パルスの開始まで第3の電位を維持する第3開始電位保持要素を有し、
前記第3の電位は、少なくとも前記第1の電位とは異なる、
請求項1に記載の液体吐出装置。
【請求項9】
前記第2パルスは、第1ノズル内の液体を吐出させないように振動させる際に、前記第1駆動素子に供給され、前記第2ノズル内の液体を吐出させないように振動させる際に、前記第2駆動素子に供給される微振動パルスであり、
前記第1駆動信号は、前記第2駆動素子に供給されることなく、前記第1駆動素子に供給され、
前記第3駆動信号は、前記第1駆動素子に供給されることなく、前記第2駆動素子に供給され、
前記第2駆動信号は、前前記第1駆動素子および前記第2駆動素子に供給される、
請求項8に記載の液体吐出装置。
【請求項10】
前記第1パルスは、電位を変化させることで前記第1圧力室の体積を膨張させるように前記第1駆動素子を駆動する膨張要素と、当該膨張要素の後に電位変化させることで膨張した圧力室の体積を収縮させて前記第1ノズルから第1の量の液滴を吐出させる吐出要素と、を有し、
前記第3パルスは、電位を変化させることで前記第2圧力室の体積を膨張させるように前記第2駆動素子を駆動する膨張要素と、当該膨張要素の後に電位変化させることで膨張した前記第2圧力室の体積を収縮させて前記第2ノズルから第1の量の液滴を吐出させる吐出要素と、を有し、
前記第1パルスの膨張要素の電位変化幅と、前記第3パルスの膨張要素の電位変化幅は異なり、
前記第1パルスの吐出要素の電位変化幅と、前記第3パルスの吐出要素の電位変化幅とは異なる、
請求項8に記載の液体吐出装置。
(【請求項11】以降は省略されています)
発明の詳細な説明
【技術分野】
【0001】
本開示は、液体吐出装置、および液体吐出装置の駆動方法に関する。
続きを表示(約 2,300 文字)
【背景技術】
【0002】
印刷用紙等の媒体に対してインク等の液体を吐出する液体吐出装置が従来から提案されている。
【0003】
特許文献1に記載の液体吐出装置は、駆動信号を生成する駆動信号生成部と、駆動信号に含まれる複数の駆動パルスを選択的に組み合わせる駆動パルス選択部と、選択された駆動パルスに基づいてノズルから液滴を吐出させる駆動素子と、を備える。当該装置では、駆動信号に含まれる複数種類のパルスから、印刷する画像に応じたパルスを選択して、ノズルから吐出する液滴の量を切り替えている。
【0004】
液体吐出装置
【先行技術文献】
【特許文献】
【0005】
特開2005-88582号公報
【発明の概要】
【発明が解決しようとする課題】
【0006】
駆動信号は、パルス以外の期間で共通電位を維持している。共通電位を固定しながら、駆動信号に含まれるパルスに要求される吐出量および吐出速度を満たすようにパルスの形状を設計する場合、設計自由度が制限されてしまう。このため、例えば、液滴の吐出量を所望の量にすることが難しく、吐出量の補正が充分ではない。
【課題を解決するための手段】
【0007】
本開示の一態様に係る液体吐出装置は、液体を吐出する第1ノズルと、前記第1ノズルに連通する第1圧力室と、駆動信号に応じて前記第1圧力室の体積を変更するように駆動される第1駆動素子と、を含む第1吐出部を備える液体吐出ヘッドと、前記第1ノズルから第1の量の液滴を吐出する際に、前記第1駆動素子に供給される第1パルスを有する第1駆動信号を生成する第1駆動信号生成回路と、前記第1駆動素子に供給され、前記第1パルスとは異なる第2パルスを有する第2駆動信号を生成する第2駆動信号生成回路と、を備え、前記第1駆動信号は、1駆動周期の開始から前記第1パルスの開始まで第1の電位を維持する第1開始電位保持要素を有し、前記第2駆動信号は、1駆動周期の開始から前記第2パルスの開始まで第2の電位を維持する第2開始電位保持要素を有し、前記第1の電位と前記第2の電位とは異なる。
【0008】
本開示の一態様に係る液体吐出装置の駆動方法は、液体を吐出する第1ノズルと、前記第1ノズルに連通する第1圧力室と、駆動信号に応じて前記第1圧力室の体積を変更するように駆動される第1駆動素子と、を含む第1吐出部を備える液体吐出ヘッドを備える液体吐出装置の駆動方法であって、前記第1ノズルから第1の量の液滴を吐出する際に、前記第1駆動素子に供給される第1パルスを有する第1駆動信号を生成し、前記第1駆動素子に供給され、前記第1パルスとは異なる第2パルスを有する第2駆動信号を生成し、前記第1駆動信号および前記第2駆動信号の生成に際し、前記第1駆動信号が有する1駆動周期の開始から前記第1パルスの開始までの第1開始電位保持要素の第1の電位が、前記第2駆動信号が有する1駆動周期の開始から前記第2パルスの開始までの第2開始電位保持要素の第2の電位と異なるよう設定する。
【図面の簡単な説明】
【0009】
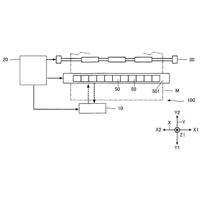
第1実施形態に係る液体吐出装置の構成例を示す模式図である。
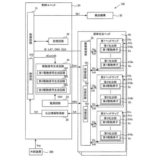
第1実施形態に係る液体吐出装置の電気的構成を示す図である。
図2に示す液体吐出ヘッドの下面図である。
図3に示すヘッドチップの一部を示す断面である。
図3に示す第1ノズル列に供給される駆動信号を説明するための図である。
図3に示す第2ノズル列に供給される駆動信号を説明するための図である。
図3に示す第3ノズル列に供給される駆動信号を説明するための図である。
駆動周期が連続する場合の例を示す図である。
駆動信号の供給について説明するための図である。
駆動信号の供給について説明するための図である。
従来の駆動信号の補正について説明するための図である。
従来の駆動信号における駆動周期と液体の吐出量との関係を示す図である。
従来の駆動信号における周波数ごとの波高値と液体の吐出量との関係を示す図である。
周波数特性について説明するための図である。
周波数特性の吐出量への影響を説明するための図である。
本実施形態の大ドット用駆動信号の補正について説明するための図である。
本実施形態の大ドット用駆動信号の補正における駆動周期と液体の吐出量との関係を示す図である。
駆動期間の接続時に中間電位を変化させた場合の吐出速度を示す図である。
接続時の電位変化幅を変化させた場合の吐出速度を示す図である。
搬送速度80m/minにおける電位変化幅を変化させた場合の着弾ずれを示す図である。
搬送速度40m/minにおける電位変化幅を変化させた場合の着弾ずれを示す図である。
第1変形例における駆動信号を示す図である。
【発明を実施するための形態】
【0010】
以下、添付図面を参照しながら本開示に係る好適な実施形態を説明する。なお、図面において各部の寸法および縮尺は実際と適宜に異なり、理解を容易にするために模式的に示している部分もある。また、本開示の範囲は、以下の説明において特に本開示を限定する旨の記載がない限り、これらの形態に限られない。
(【0011】以降は省略されています)
この特許をJ-PlatPat(特許庁公式サイト)で参照する
関連特許
個人
箔熱転写装置
1か月前
シヤチハタ株式会社
印判
4か月前
東レ株式会社
凸版印刷版原版
10か月前
三菱製紙株式会社
感熱記録材料
10か月前
シヤチハタ株式会社
反転式印判
9か月前
三光株式会社
感熱記録材料
6か月前
キヤノン株式会社
記録装置
27日前
独立行政法人 国立印刷局
印刷物
7か月前
株式会社リコー
画像形成装置
1か月前
独立行政法人 国立印刷局
記録媒体
8か月前
独立行政法人 国立印刷局
貼付機構
2か月前
株式会社リコー
画像形成装置
15日前
株式会社リコー
画像形成装置
11日前
株式会社リコー
液体吐出装置
2か月前
株式会社リコー
液体吐出装置
4か月前
株式会社リコー
液体吐出装置
6か月前
日本製紙株式会社
感熱記録体
7か月前
株式会社リコー
液体吐出装置
8か月前
株式会社リコー
液体吐出装置
4か月前
独立行政法人 国立印刷局
貼付装置
1か月前
株式会社リコー
液体吐出装置
7か月前
株式会社リコー
液体吐出装置
5か月前
株式会社リコー
液体吐出装置
7か月前
株式会社リコー
印刷システム
15日前
キヤノン株式会社
画像形成装置
3か月前
キヤノン株式会社
画像形成装置
6か月前
ブラザー工業株式会社
プリンタ
4か月前
キヤノン株式会社
画像形成装置
7か月前
ブラザー工業株式会社
プリンタ
6か月前
キヤノン株式会社
情報処理装置
9か月前
ブラザー工業株式会社
プリンタ
2か月前
ブラザー工業株式会社
プリンタ
9か月前
キヤノン株式会社
画像形成装置
8か月前
ブラザー工業株式会社
プリンタ
6か月前
キヤノン株式会社
画像形成装置
8か月前
キヤノン株式会社
画像形成装置
8か月前
続きを見る
他の特許を見る