TOP
|
特許
|
意匠
|
商標
特許ウォッチ
Twitter
他の特許を見る
公開番号
2025151842
公報種別
公開特許公報(A)
公開日
2025-10-09
出願番号
2024053443
出願日
2024-03-28
発明の名称
信号発生装置および信号発生装置が実行する信号発生方法
出願人
アンリツ株式会社
代理人
個人
,
個人
主分類
G06F
1/04 20060101AFI20251002BHJP(計算;計数)
要約
【課題】SSCの変調開始のタイミングを従来よりも短い時間で規定する。
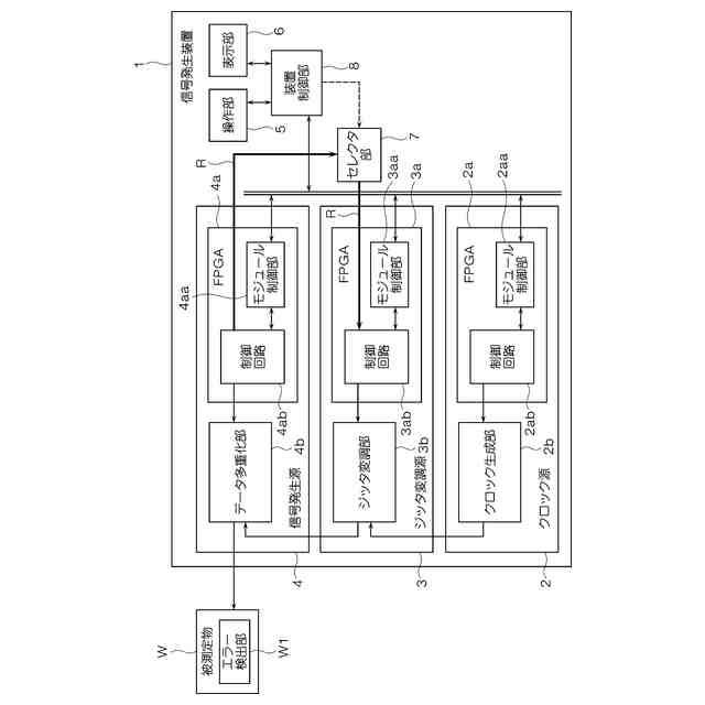
【解決手段】信号発生装置1は、基準周波数のクロックを生成するクロック源2と、基準周波数のクロックに対して変調をかけたジッタクロックを発生するジッタ変調源3と、被測定物Wに入力するための所望の規格で規定された周波数遷移パターンの信号をジッタクロックのタイミングで発生する信号発生源4と、周波数遷移パターンの信号の種類、基準周波数のクロックに対して変調をかける開始時間、基準周波数のクロックに対して変調をかけるときの周波数偏移量を設定する操作部5とを備える。信号発生源4は、基準周波数のクロックに対して変調をかける周波数遷移パターンの信号の切り替わりのタイミングをジッタ変調源3に通知する。ジッタ変調源3は、信号発生源4から通知を受けると、基準周波数のクロックに対して周波数偏移量の変調をかけたジッタクロックを信号発生源4に出力する。
【選択図】図1
特許請求の範囲
【請求項1】
基準周波数のクロックを生成するクロック源(2)と、該クロック源が生成する基準周波数のクロックに対して変調をかけたジッタクロックを発生するジッタ変調源(3)と、被測定物(W)に入力するための所望の規格で規定された周波数遷移パターンの信号を前記ジッタクロックのタイミングで発生する信号発生源(4)と、前記周波数遷移パターンの信号の種類、前記基準周波数のクロックに対して変調をかける開始時間、前記基準周波数のクロックに対して変調をかけるときの周波数偏移量を設定する操作部(5)とを備えた信号発生装置(1)であって、
前記信号発生源は、前記基準周波数のクロックに対して変調をかける前記周波数遷移パターンの信号の切り替わりのタイミングを前記ジッタ変調源に通知し、
前記ジッタ変調源は、前記信号発生源から前記通知を受けたときに、前記基準周波数のクロックに対して前記周波数偏移量の変調をかけたジッタクロックを前記信号発生源に出力することを特徴とする信号発生装置。
続きを表示(約 1,100 文字)
【請求項2】
前記クロック源(2)、前記ジッタ変調源(3)、前記信号発生源(4)は、装置本体(1a)に設けられる複数のスロット(1c)に対して選択的に着脱可能なモジュールで構成されることを特徴とする請求項1に記載の信号発生装置。
【請求項3】
前記モジュールの各間を接続するためのセレクタ部(7)を配置し、
前記基準周波数のクロックに対して変調をかける前記周波数遷移パターンの信号の切り替わりのタイミングで前記ジッタ変調源(3)のモジュールと前記信号発生源(4)のモジュールとの間を接続するように前記セレクタ部を制御する装置制御部(8)を備えたことを特徴とする請求項2に記載の信号発生装置。
【請求項4】
基準周波数のクロックを生成するクロック源(2)と、該クロック源が生成する基準周波数のクロックに対して変調をかけたジッタクロックを発生するジッタ変調源(3)と、被測定物(W)に入力するための所望の規格で規定された周波数遷移パターンの信号を前記ジッタクロックのタイミングで発生する信号発生源(4)とを信号発生装置(1)の装置本体(1a)に配置するステップと、
前記周波数遷移パターンの信号の種類、前記基準周波数のクロックに対して変調をかける開始時間、前記基準周波数のクロックに対して変調をかけるときの周波数偏移量を設定するステップと、
前記基準周波数のクロックに対して変調をかける前記周波数遷移パターンの信号の切り替わりのタイミングを前記信号発生源から前記ジッタ変調源に通知するステップと、
前記ジッタ変調源が前記信号発生源から前記通知を受けたときに、前記基準周波数のクロックに対して前記周波数偏移量の変調をかけたジッタクロックを前記ジッタ変調源から前記信号発生源に出力するステップとを含むことを特徴とする信号発生方法。
【請求項5】
前記クロック源(2)、前記ジッタ変調源(3)、前記信号発生源(4)を、前記装置本体(1a)に設けられる複数のスロット(1c)に対して選択的に着脱可能なモジュールとして配置するステップを含むことを特徴とする請求項4に記載の信号発生方法。
【請求項6】
前記モジュールの各間を接続するためのセレクタ部(7)を配置するステップと、
前記基準周波数のクロックに対して変調をかける前記周波数遷移パターンの信号の切り替わりのタイミングで前記ジッタ変調源(3)のモジュールと前記信号発生源(4)のモジュールとの間を接続するように装置制御部(8)により前記セレクタ部を制御するステップとを含むことを特徴とする請求項5に記載の信号発生方法。
発明の詳細な説明
【技術分野】
【0001】
本発明は、SSC(spread spectrum clocking:スペクトラム拡散クロック)を用いて信号を発生する信号発生装置及び信号発生方法に関する。
続きを表示(約 2,300 文字)
【背景技術】
【0002】
コンピュータとデバイス間の通信に用いられるUSBの規格速度は高速化の一途をたどっている。高速化に伴い信号の品質確保のための手法も複雑化しており、その手法の一つとして、例えば下記特許文献1に開示されるように、スペクトラム拡散クロック(SSC:spread spectrum clocking、以下、SSCとも言う)が知られている。当然ではあるが、SSCのかけ方や周波数についても規格で定められている。規格では製品そのものに対する規定はもちろんのこと、その製品のテスト方法も定めており、USB規格等を用いた製品を製造するすべてのメーカーはこれらに従う必要がある。
【0003】
ここで、例えば3ビットの信号にSSCがかかった状態でテスト対象のデバイスが正常に動作するか否かをテストする場合の一例として、USB4 v2 Gen4のRX側のTrit Error Rateテストの一部を例にとって説明する。図4はUSB4 v2 Gen4で規定された周波数遷移パターンの順序を図で示したものである。USB4 v2 Gen4のRX側のTrit Error Rateテストを行うにあたっては、テスト対象のデバイス(DUT)に対して、図4に示すように、(1)PRBS11(SSC無し)→(2)PRTS7(SSC無し)→(3)PRTS19(SSC無し)→(4)PRTS19(SSC有り)の順序でデータパターンを与える必要がある(エラーレートの測定そのものはこれ以降に行われる)。また、図4において、(3)から(4)の切り替えは500μs以内に行う必要がある。
【先行技術文献】
【特許文献】
【0004】
特許第7376521号公報
【発明の概要】
【発明が解決しようとする課題】
【0005】
ところで、上述したテストを行うにあたって、デバイスメーカが必要とするのは信号発生装置である。信号発生装置は信号を発生させることが役割であるが、それ単体で動作することはできず、別途クロック源を必要とする場合が多い。そして、上記のように周波数の遷移を必要とする場合には、クロック源以外にもクロックに対して変調をかける装置が必要となる。このような装置の一例として、ジッタ変調源があげられる。ジッタとは位相の揺らぎであり、ジッタ変調源は入力されたクロックに対して、規定されたパターンと揺らぎ量のジッタを与え、出力することができる。つまり、クロック源、ジッタ変調源、信号発生源をすべて備えた誤り率測定装置(BERTS:Bit Error Rate Test Set )であれば装置単体で需要を満たすことができる。
【0006】
この種の誤り率測定装置では、クロック源、ジッタ変調源、信号発生源がそれぞれモジュールとして同一の装置に組み込まれている。このため、当然ではあるが、各モジュールはある程度の協調動作が可能である。しかも、誤り率測定装置の制御装置がそれぞれのモジュールを制御するため、ここに技術的課題は存在しない。
【0007】
しかしながら、これは数百msから数秒オーダーでのことであり、図4に示すように、μsオーダーで各モジュールの協調動作を行うことはできない。従来の誤り率測定装置の制御装置は一般的なコンピュータとおおよそ差はなく、ユーザにGUIを提供し、ユーザからの入力に基づいて各モジュールの制御を行っている。つまり、アプリケーションソフトウェアベースであるため、タイミング制御にはそもそも向いていない。以上のことから、図4に示すような出力を可能にするためには新しい機構が必要となる。
【0008】
そこで、本発明は上記問題点に鑑みてなされたものであって、SSCの変調開始のタイミングを従来よりも短い時間で規定することができる信号発生装置および信号発生方法を提供することを目的としている。
【課題を解決するための手段】
【0009】
上記目的を達成するため、本発明の請求項1に記載された信号発生装置は、基準周波数のクロックを生成するクロック源2と、該クロック源が生成する基準周波数のクロックに対して変調をかけたジッタクロックを発生するジッタ変調源3と、被測定物Wに入力するための所望の規格で規定された周波数遷移パターンの信号を前記ジッタクロックのタイミングで発生する信号発生源4と、前記周波数遷移パターンの信号の種類、前記基準周波数のクロックに対して変調をかける開始時間、前記基準周波数のクロックに対して変調をかけるときの周波数偏移量を設定する操作部5とを備えた信号発生装置1であって、
前記信号発生源は、前記基準周波数のクロックに対して変調をかける前記周波数遷移パターンの信号の切り替わりのタイミングを前記ジッタ変調源に通知し、
前記ジッタ変調源は、前記信号発生源から前記通知を受けたときに、前記基準周波数のクロックに対して前記周波数偏移量の変調をかけたジッタクロックを前記信号発生源に出力することを特徴とする。
【0010】
本発明の請求項2に記載された信号発生装置は、請求項1の信号発生装置において、
前記クロック源2、前記ジッタ変調源3、前記信号発生源4は、装置本体1aに設けられる複数のスロット1cに対して選択的に着脱可能なモジュールで構成されることを特徴とする。
(【0011】以降は省略されています)
この特許をJ-PlatPat(特許庁公式サイト)で参照する
関連特許
アンリツ株式会社
物品検査装置
今日
アンリツ株式会社
物品検査装置
2日前
アンリツ株式会社
X線検査装置
1か月前
アンリツ株式会社
物品検査装置
16日前
アンリツ株式会社
物品検査装置
16日前
アンリツ株式会社
測定装置とその測定方法
2日前
アンリツ株式会社
物品検査装置及びX線検査装置
1か月前
アンリツ株式会社
分光器の校正装置及び校正方法
1か月前
アンリツ株式会社
金属検出機及び金属検出システム
1か月前
アンリツ株式会社
誤り率測定装置及び誤り率測定方法
2日前
アンリツ株式会社
分光測定装置及びこれを備えた物品検査装置
2日前
アンリツ株式会社
試験システム及び送信アンテナ相関推定方法
1日前
アンリツ株式会社
分光測定装置及びこれを備えた物品検査装置
16日前
アンリツ株式会社
ネットワーク測定装置とその遅延時間補正方法
1か月前
アンリツ株式会社
検量線生成装置、検量線生成方法及び検量線生成プログラム
今日
アンリツ株式会社
量子コンピュータ制御装置および量子コンピュータ制御方法
29日前
アンリツ株式会社
検量線生成装置、検量線生成方法及び検量線生成プログラム
今日
アンリツ株式会社
量子コンピュータ制御装置、量子コンピュータ制御システムおよび量子コンピュータ制御方法
1か月前
個人
詐欺保険
1か月前
個人
縁伊達ポイン
1か月前
個人
RFタグシート
1か月前
個人
職業自動販売機
14日前
個人
5掛けポイント
21日前
個人
地球保全システム
1か月前
個人
ペルソナ認証方式
29日前
個人
QRコードの彩色
1か月前
個人
自動調理装置
1か月前
個人
情報処理装置
24日前
個人
表変換編集支援システム
2か月前
個人
残土処理システム
1か月前
個人
農作物用途分配システム
1か月前
個人
知的財産出願支援システム
1か月前
個人
インターネットの利用構造
28日前
個人
サービス情報提供システム
16日前
個人
タッチパネル操作指代替具
1か月前
個人
携帯端末障害問合せシステム
1か月前
続きを見る
他の特許を見る