TOP
|
特許
|
意匠
|
商標
特許ウォッチ
Twitter
他の特許を見る
公開番号
2025158371
公報種別
公開特許公報(A)
公開日
2025-10-17
出願番号
2024060853
出願日
2024-04-04
発明の名称
物品検査装置及びX線検査装置
出願人
アンリツ株式会社
代理人
個人
,
個人
主分類
G01N
23/18 20180101AFI20251009BHJP(測定;試験)
要約
【課題】複数の発熱部品を有するX線検査装置において必要な冷却性能を確保しつつ内部構造を複雑化することなく装置を小型化する。
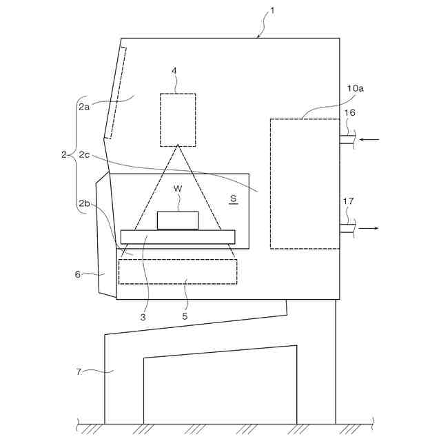
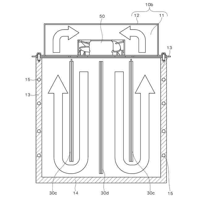
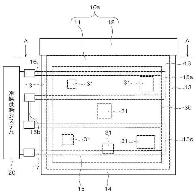
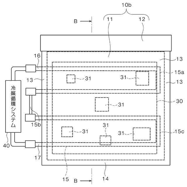
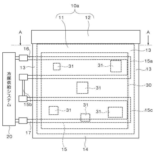
【解決手段】X線検査装置1は、筐体2の内部に、X線発生器4及びX線検出器5と、制御基板30を有する。制御基板30は、筐体の内部に設けられた冷却箱10aに収納される。冷却箱の壁部13に埋め込まれた流通路15には冷却媒体供給システム20によって冷却媒体が流通する。冷却箱の内部全体が、冷却箱の外部より低い一定の温度に保持される。冷却箱内で発熱部品から出た熱は、冷却媒体によって装置外に排出され、冷却箱から筐体内の空気を介して外部の空気に放散される。発熱部品の配置スペースが減少して装置を小型化できる。
【選択図】図2
特許請求の範囲
【請求項1】
筐体(2)の内部に複数の発熱部品(30)を有する物品検査装置(1)であって、
前記発熱部品の少なくとも一部が収納されて前記筐体の内部に設けられた冷却箱(10a,10b)と、
前記冷却箱の壁部(13)に設けられて前記冷却箱の内部の温度を外部の温度よりも低く保持する冷却媒体の流通路(15)と、
を具備することを特徴とする物品検査装置(1)。
続きを表示(約 530 文字)
【請求項2】
前記流通路(15)に冷却媒体を循環させる循環システム(40)を有することを特徴とする請求項1に記載の物品検査装置(1)。
【請求項3】
前記冷却箱(10a,10b)が金属によって構成されており、前記冷却箱の前記壁部(13)の内部に前記流通路(15)が埋め込まれていることを特徴とする請求項1に記載の物品検査装置(1)。
【請求項4】
前記冷却箱(10b)の内部の空気を流動させるファン(50)を設けたことを特徴とする請求項1に記載の物品検査装置(1)。
【請求項5】
筐体(2)の内部に、X線発生器(4)及びX線検出器(5)を含む第1発熱部品と、第2発熱部品(30)とを有しており、前記X線発生器から照射されて物品を透過したX線を前記X線検出器で検出することにより物品の検査を行うX線検査装置(1)であって、
前記第2発熱部品の少なくとも一部が収納されて前記筐体の内部に設けられた冷却箱(10a,10b)と、
前記冷却箱の壁部(13)に設けられて前記冷却箱の内部の温度を外部の温度よりも低く保持する冷却媒体の流通路(15)と、
を具備することを特徴とするX線検査装置(1)。
発明の詳細な説明
【技術分野】
【0001】
本発明は、筐体の内部に複数の発熱部品を有する物品検査装置、又は筐体の内部にX線発生器及びX線検出器を含む複数の発熱部品を備えたX線検査装置に係り、特に、必要な冷却性能を確保しつつ、筐体をコンパクト化できる物品検査装置又はX線検査装置に関するものである。
続きを表示(約 1,800 文字)
【背景技術】
【0002】
下記特許文献1にはX線検査装置の発明が開示されている。この発明に係るX線検査装置1は、第1室R1と第2室R2に分離された筐体4と、第1室の発熱部品であるX線発生器2及び第1制御部9と、第2室の発熱部品であるX線検出器3及び第2制御部11と、筐体の背面側の外に配置された冷却器12を有している。冷却器12からの冷気は、筐体外の外部冷気案内路20を経て第1室R1に供給され、内部冷気案内路21を経て第2室に供給され、X線発生器2及び第1制御部9と、X線検出器3及び第2制御部11を、それぞれ冷却する。第1室からの温気は、筐体外の温気案内路30を経て冷却器の吸込口14に戻る。この発明によれば、複数の熱源に対して冷却器からの冷気を導くことにより、効率よく冷却を行えるものとされている。
【先行技術文献】
【特許文献】
【0003】
特開2022-158264号公報
【発明の概要】
【発明が解決しようとする課題】
【0004】
X線検査装置は、発熱部品であるX線発生器及びX線検出器の他にも、熱源である電子部品を搭載した複数の制御基板を筐体の内部に有している。X線検出器の使用中に、これら制御基板が発熱することにより、筐体内の温度が局所的に上昇し、これが当該制御基板を含めた各種電子部品・機器等の短命化を促してしまうという問題があった。
【0005】
そこで、上記特許文献1に記載されているようなX線検査装置では、複数の制御基板、すなわち第1制御部9及び第2制御部11を筐体内の別の位置に分散して配置し、冷却器12からの冷気を各制御基板に送って冷却するとともに、各制御基板からの熱を筐体に伝導して筐体の外面から外界に放散する筐体放熱も併用し、筐体の内部の温度を平準化し、また低下させる熱対策を採用する場合があった。
【0006】
X線検査装置の分野においては、性能の向上や機能の多様化についてユーザー側から多くの要求が寄せられている。このような要求に応えるためには、筐体内に設けられた制御基板に、より高性能・高機能な電子素子を実装したり、制御基板の数を増やすといった対応が考えられるが、これによって制御基板の発熱量が増大することは避けられない。またユーザー側には、性能等の向上だけでなく、装置全体を小型化したいとの要求もある。
【0007】
しかしながら、筐体内における熱の局所的な集中を避けるために、制御基板を適当な距離をおいて筐体内で分散配置することは、構造上困難な設計が必要となるだけでなく、筐体の小型化という要求にも反する。また、制御基板の発熱量が増大することを前提に考えると、発熱部品である制御基板の配置を筐体内で分散させて筐体放熱で冷却するだけの手法では、筐体の内部の温度を平準化し、低下させることは難しい。
【0008】
このように、従来のX線検査装置において、高機能化したX線検査装置に必要な冷却性能を担保しつつ、しかも筐体を小型化することは、エアコンと筐体放熱を利用した従来の熱対策では困難であるという問題があった。
【0009】
本発明は、以上説明した従来の技術における課題に鑑みてなされたものであり、筐体の内部に複数の発熱部品を有する物品検査装置、又は筐体の内部にX線発生器及びX線検出器を含む複数の発熱部品を有するX線検査装置において、性能の向上に伴って発熱量が増大した場合においても必要な冷却性能を確保することができ、筐体がコンパクト化された物品検査装置又はX線検査装置を提供することを目的としている。
【課題を解決するための手段】
【0010】
請求項1記載された物品検査装置1は、
筐体2の内部に複数の発熱部品30を有する物品検査装置1であって、
前記発熱部品30の少なくとも一部が収納されて前記筐体2の内部に設けられた冷却箱10a,10bと、
前記冷却箱10a,10bの壁部13に設けられて前記冷却箱10a,10bの内部の温度を外部の温度よりも低く保持する冷却媒体の流通路15と、
を具備することを特徴としている。
(【0011】以降は省略されています)
この特許をJ-PlatPat(特許庁公式サイト)で参照する
関連特許
アンリツ株式会社
物品検査装置
12日前
アンリツ株式会社
物品検査装置
28日前
アンリツ株式会社
物品検査装置
28日前
アンリツ株式会社
物品検査装置
14日前
アンリツ株式会社
測定装置とその測定方法
14日前
アンリツ株式会社
誤り率測定装置及び誤り率測定方法
14日前
アンリツ株式会社
試験システム及び送信アンテナ相関推定方法
13日前
アンリツ株式会社
分光測定装置及びこれを備えた物品検査装置
14日前
アンリツ株式会社
分光測定装置及びこれを備えた物品検査装置
28日前
アンリツ株式会社
分光測定装置及びこれを備えた物品検査装置
5日前
アンリツ株式会社
分光測定装置及びこれを備えた物品検査装置
5日前
アンリツ株式会社
検量線生成システム及び検量線生成システムの制御方法
5日前
アンリツ株式会社
量子コンピュータ制御装置および量子コンピュータ制御方法
1か月前
アンリツ株式会社
検量線生成装置、検量線生成方法及び検量線生成プログラム
12日前
アンリツ株式会社
検量線生成装置、検量線生成方法及び検量線生成プログラム
12日前
アンリツ株式会社
検量線生成装置、検量線生成方法及び検量線生成プログラム
5日前
アンリツ株式会社
分光器の校正装置、及びこれを備えた物品検査装置、並びに分光器の校正方法
5日前
アンリツ株式会社
検量線生成装置、検量線生成装置の制御方法及び検量線生成装置の制御プログラム
今日
個人
視触覚センサ
5日前
株式会社イシダ
表示装置
今日
個人
採尿及び採便具
1か月前
日本精機株式会社
検出装置
1か月前
個人
計量機能付き容器
1か月前
日本精機株式会社
発光表示装置
13日前
愛知電機株式会社
外観検査方法
1日前
日本精機株式会社
液面検出装置
今日
甲神電機株式会社
電流検出装置
1か月前
愛知電機株式会社
外観検査装置
1日前
株式会社ミツトヨ
測定器
1か月前
株式会社カクマル
境界杭
20日前
ユニパルス株式会社
トルク変換器
5日前
ユニパルス株式会社
トルク変換器
5日前
ユニパルス株式会社
トルク変換器
5日前
株式会社トプコン
測量装置
12日前
アズビル株式会社
電磁流量計
1か月前
大成建設株式会社
風洞実験装置
1か月前
続きを見る
他の特許を見る