TOP
|
特許
|
意匠
|
商標
特許ウォッチ
Twitter
他の特許を見る
公開番号
2025168829
公報種別
公開特許公報(A)
公開日
2025-11-12
出願番号
2024073622
出願日
2024-04-30
発明の名称
物品検査装置
出願人
アンリツ株式会社
代理人
弁理士法人日誠国際特許事務所
主分類
G01N
21/84 20060101AFI20251105BHJP(測定;試験)
要約
【課題】検査対象の物品に対する測定の再現性を得ることができる物品検査装置を提供すること。
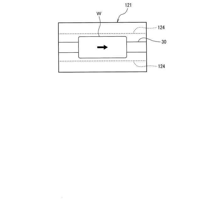
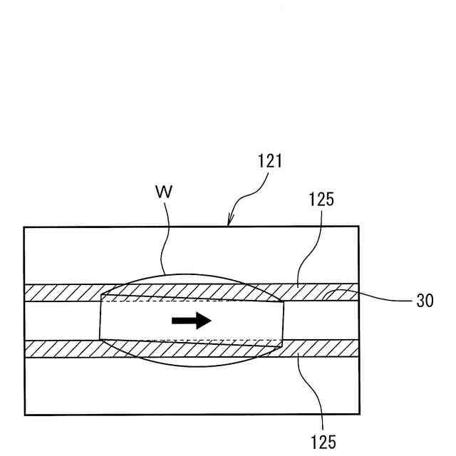
【解決手段】錠剤Wを吸引保持して検査位置に搬送する搬送部と、検査位置において錠剤Wに電磁波を照射して当該電磁波の変化量を測定し、その測定結果に基づき錠剤Wの検査を行う検査部と、錠剤Wの搬送経路に沿って設けられ、検査位置に搬送される錠剤Wをガイドするガイド部と、ガイド部の位置を調整可能な調整機構と、ガイド部と検査部との間の搬送経路を通過する錠剤Wを搬送経路の側方から撮像する撮像部とを備え、ガイド部は、撮像部により撮像された画像121に基づき、調整機構によってガイド部の位置を調整可能に構成されている。
【選択図】図5
特許請求の範囲
【請求項1】
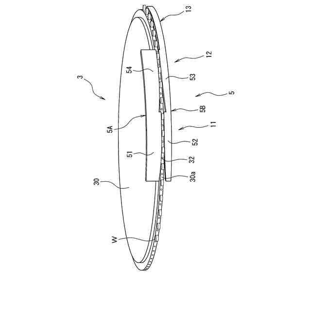
検査対象の物品(W)を吸引保持して検査位置(P2)に搬送する搬送部(3)と、
前記検査位置において前記物品に電磁波を照射して当該電磁波の変化量を測定し、その測定結果に基づき前記物品の検査を行う検査部(4)と、
前記物品の搬送経路に沿って設けられ、前記検査位置に搬送される前記物品をガイドするガイド部(5)と、
前記ガイド部の位置を調整可能なガイド調整部(50)と、
前記ガイド部と前記検査部との間の搬送経路を通過する前記物品を、前記搬送経路の側方から撮像する撮像部(7)と、を備え、
前記ガイド部は、前記撮像部により撮像された画像に基づき、前記ガイド調整部によって前記ガイド部の位置を調整可能に構成されている、物品検査装置。
続きを表示(約 300 文字)
【請求項2】
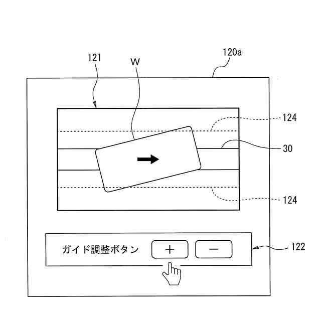
前記撮像部により撮像された画像を表示する表示部(120)と、
前記ガイド部の位置を調整する調整操作を受け付ける操作部(120)と、を更に備える請求項1に記載の物品検査装置。
【請求項3】
前記表示部によって表示される前記画像には、前記ガイド部の位置の調整を補助する補助画像が併せて表示される請求項2に記載の物品検査装置。
【請求項4】
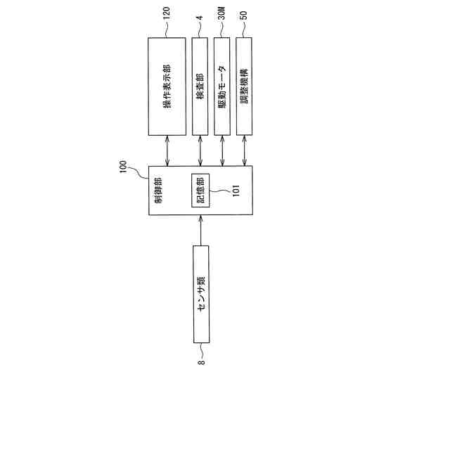
前記ガイド調整部を制御する制御部(100)を、更に備え、
前記制御部は、前記撮像部により撮像された画像に基づき前記ガイド調整部を制御して前記ガイド部の位置を調整する請求項1に記載の物品検査装置。
発明の詳細な説明
【技術分野】
【0001】
本発明は、物品検査装置に関する。
続きを表示(約 1,500 文字)
【背景技術】
【0002】
検査対象の成形品に光等の電磁波を照射してその光等の電磁波の変化量を測定し、その測定結果に基づき当該成形品を検査する物品検査装置の一例として、検査対象の錠剤を吸引保持して搬送する搬送部と、錠剤に対して光を照射して錠剤を検査する検査部と、搬送部に沿って設けられ、搬送部に搬送される錠剤に摺接することにより錠剤の位置を修正して検査部に対する錠剤の姿勢を整えるガイド部と、を設けた物品検査装置が知られている(特許文献1参照)。
【先行技術文献】
【特許文献】
【0003】
特開2023-056863号公報
【発明の概要】
【発明が解決しようとする課題】
【0004】
ところで、検査対象の成形品に光等の電磁波を照射してその光の変化量を測定する物品検査装置にあっては、光等の電磁波を照射する位置、成形品の位置、及び、光等の電磁波の変化量を測定する測定器の位置が定まって変化がない程、測定結果の再現性が高い。
【0005】
しかしながら、特許文献1に記載の物品検査装置のように検査対象の錠剤を搬送しながら測定する場合、搬送のばらつきによって錠剤の位置や姿勢が定まらず、その結果、測定の再現性が得られないおそれがある。
【0006】
また、特許文献1に記載の物品検査装置のように錠剤の姿勢を整えるガイド部を備えていても、例えば、検査対象の錠剤の種別が変更された場合や、当該ガイド部の位置がずれた場合には、やはり錠剤の位置や姿勢が定まらないおそれがあり、結果として測定の再現性が得られないおそれがある。
【0007】
本発明は、上述のような事情に鑑みてなされたもので、検査対象の物品に対する測定の再現性を得ることができる物品検査装置を提供することを目的としている。
【課題を解決するための手段】
【0008】
本発明に係る物品検査装置は、検査対象の物品を吸引保持して検査位置に搬送する搬送部と、前記検査位置において前記物品に電磁波を照射して当該電磁波の変化量を測定し、その測定結果に基づき前記物品の検査を行う検査部と、前記物品の搬送経路に沿って設けられ、前記検査位置に搬送される前記物品をガイドするガイド部と、前記ガイド部の位置を調整可能なガイド調整部と、前記ガイド部と前記検査部との間の搬送経路を通過する前記物品を、前記搬送経路の側方から撮像する撮像部と、を備え、前記ガイド部は、前記撮像部により撮像された画像に基づき、前記ガイド調整部によって前記ガイド部の位置を調整可能に構成されている。
【0009】
この構成により、本発明に係る物品検査装置は、検査位置に搬送される物品をガイドするガイド部の位置を調整可能なガイド調整部と、ガイド部と検査部との間の搬送経路を通過する物品を搬送経路の側方から撮像する撮像部とを備え、撮像部により撮像された画像に基づきガイド調整部によってガイド部の位置を調整可能に構成されているので、検査位置に搬送される物品の姿勢及び位置が決められた姿勢及び位置からずれている場合には、撮像部により撮像された画像に基づきガイド部の位置が調整されることで、検査位置に搬送される物品を決められた姿勢及び位置に正すことができる。これにより、検査対象の物品に対する測定の再現性を得ることができる。
【0010】
本発明に係る物品検査装置は、前記撮像部により撮像された画像を表示する表示部と、前記ガイド部の位置を調整する調整操作を受け付ける操作部と、を更に備えることが好ましい。
(【0011】以降は省略されています)
この特許をJ-PlatPat(特許庁公式サイト)で参照する
関連特許
アンリツ株式会社
X線検査装置
1か月前
アンリツ株式会社
物品検査装置
28日前
アンリツ株式会社
物品検査装置
28日前
アンリツ株式会社
物品検査装置
14日前
アンリツ株式会社
物品検査装置
12日前
アンリツ株式会社
測定装置とその測定方法
14日前
アンリツ株式会社
物品検査装置及びX線検査装置
1か月前
アンリツ株式会社
誤り率測定装置及び誤り率測定方法
14日前
アンリツ株式会社
試験システム及び送信アンテナ相関推定方法
13日前
アンリツ株式会社
分光測定装置及びこれを備えた物品検査装置
14日前
アンリツ株式会社
分光測定装置及びこれを備えた物品検査装置
5日前
アンリツ株式会社
分光測定装置及びこれを備えた物品検査装置
5日前
アンリツ株式会社
分光測定装置及びこれを備えた物品検査装置
28日前
アンリツ株式会社
検量線生成システム及び検量線生成システムの制御方法
5日前
アンリツ株式会社
検量線生成装置、検量線生成方法及び検量線生成プログラム
12日前
アンリツ株式会社
検量線生成装置、検量線生成方法及び検量線生成プログラム
12日前
アンリツ株式会社
検量線生成装置、検量線生成方法及び検量線生成プログラム
5日前
アンリツ株式会社
量子コンピュータ制御装置および量子コンピュータ制御方法
1か月前
アンリツ株式会社
分光器の校正装置、及びこれを備えた物品検査装置、並びに分光器の校正方法
5日前
アンリツ株式会社
検量線生成装置、検量線生成装置の制御方法及び検量線生成装置の制御プログラム
今日
アンリツ株式会社
量子コンピュータ制御装置、量子コンピュータ制御システムおよび量子コンピュータ制御方法
1か月前
株式会社イシダ
表示装置
今日
個人
視触覚センサ
5日前
個人
採尿及び採便具
1か月前
日本精機株式会社
検出装置
1か月前
個人
計量機能付き容器
1か月前
個人
高精度同時多点測定装置
1か月前
個人
アクセサリー型テスター
1か月前
日本精機株式会社
液面検出装置
今日
愛知電機株式会社
外観検査装置
1日前
甲神電機株式会社
電流検出装置
1か月前
株式会社ミツトヨ
測定器
1か月前
株式会社カクマル
境界杭
20日前
日本精機株式会社
発光表示装置
13日前
愛知電機株式会社
外観検査方法
1日前
ユニパルス株式会社
トルク変換器
5日前
続きを見る
他の特許を見る