TOP
|
特許
|
意匠
|
商標
特許ウォッチ
Twitter
他の特許を見る
公開番号
2025176955
公報種別
公開特許公報(A)
公開日
2025-12-05
出願番号
2024083381
出願日
2024-05-22
発明の名称
分光測定装置及びこれを備えた物品検査装置
出願人
アンリツ株式会社
代理人
弁理士法人日誠国際特許事務所
主分類
G01N
21/27 20060101AFI20251128BHJP(測定;試験)
要約
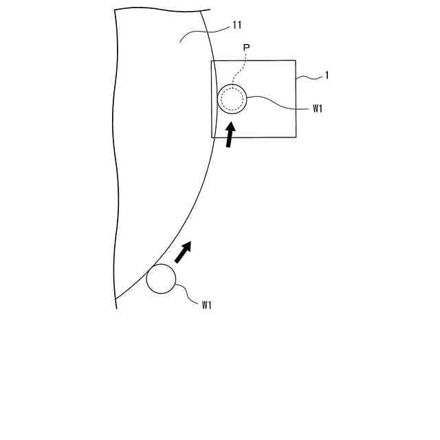
【課題】光検出部で取得される光量を適正な光量に調整可能な分光測定装置及び物品検査装置を提供すること。
【解決手段】光源30から錠剤Wに光を照射する光源部3と、光源部3から照射され錠剤Wを透過した透過光の分光特性を分光器42で測定する光検出部4と、を備え、光源部3は、錠剤Wに対する相対的な距離D1を調整可能に構成され、光検出部4は、錠剤Wに対する相対的な距離D2を調整可能に構成されている。
【選択図】図1
特許請求の範囲
【請求項1】
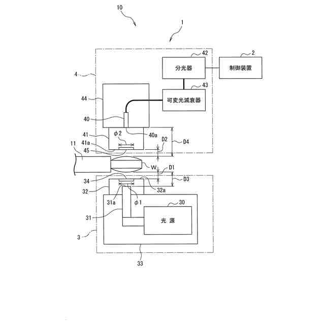
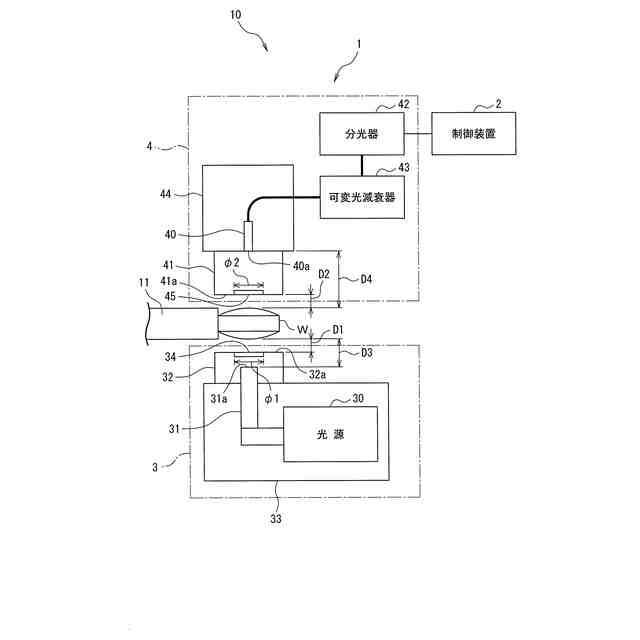
光源(30)から物品(W)に光を照射する光源部(3)と、
前記光源部から照射され前記物品を透過した透過光の分光特性を分光器(42)で測定する光検出部(4)と、を備え、
前記光源部及び前記光検出部は、前記物品に対する相対的な距離(D1、D2)を調整対象として調整可能に構成されている、分光測定装置。
続きを表示(約 1,500 文字)
【請求項2】
前記光検出部は、前記物品に対向する受光端(41a)を有する受光部材(41)と、前記受光部材を通過した光が入射する入射端面(40a)を有する受光ファイバ(40)と、を含み、
前記受光ファイバは、前記入射端面の前記物品に対する相対的な距離(D4)を調整対象として調整可能に構成されている請求項1に記載の分光測定装置。
【請求項3】
前記光検出部は、前記物品に対向する受光端(41a)を有する受光部材(41)と、前記受光部材を通過した光が入射する入射端面(40a)を有する受光ファイバ(40)と、を含み、
前記受光部材は、前記受光端において前記物品からの光が入射する開口の大きさである受光径(φ2)を調整対象として調整可能に構成されている請求項1に記載の分光測定装置。
【請求項4】
前記光検出部は、前記分光器に伝送される前記透過光を減衰可能であってその減衰量を調整対象として変更可能な可変光減衰器(43)を有する請求項1に記載の分光測定装置。
【請求項5】
前記光源部は、前記物品に対向する投光端(32a)を有する投光部材(32)と、前記光源から前記投光部材に前記光源の光を導くとともに当該光が出射する出射端面(31a)を有するライトガイド(31)と、を含み、
前記ライトガイドは、前記出射端面の前記物品に対する相対的な距離(D3)を調整対象として調整可能に構成されている請求項1に記載の分光測定装置。
【請求項6】
前記光源部は、前記物品に対向する投光端(32a)を有する投光部材(32)と、前記光源から前記投光部材に前記光源の光を導くとともに当該光が出射する出射端面(31a)を有するライトガイド(31)と、を含み、
前記投光部材は、前記投光端において前記光源からの光が出射する開口の大きさである投光径(φ1)を調整対象として調整可能に構成されている請求項1に記載の分光測定装置。
【請求項7】
前記光源は、照射する光の光量を調整対象として調整可能に構成されている請求項1に記載の分光測定装置。
【請求項8】
請求項1から請求項7の何れか1項に記載の分光測定装置(1)と、
前記分光器で測定された分光特性に基づき前記物品の品質を検査する検査部(20)と、
前記分光測定装置に前記物品を搬送する搬送部(11)と、を備え、
前記搬送部の搬送速度を調整することにより前記分光器の露光時間を調整対象として調整可能に構成されている物品検査装置。
【請求項9】
前記調整対象の調整を行う制御部(2、5)を更に備え、
前記制御部は、前記調整対象の調整を所定の調整間隔で行いつつ、各調整間隔ごとに前記分光器で得られたスペクトルを記録し、記録されたスペクトルにおいて最も光量が大きい波長のカウント値が所定の閾値以下となったときのスペクトルに対応する前記調整対象の調整値を光量調整値とする請求項8に記載の物品検査装置。
【請求項10】
請求項1から請求項7の何れか1項に記載の分光測定装置(1)と、
前記調整対象の調整を行う制御部(2、5)と、を備え、
前記制御部は、前記調整対象の調整を所定の調整間隔で行いつつ、各調整間隔ごとに前記分光器で得られたスペクトルを記録し、記録されたスペクトルにおいて最も光量が大きい波長のカウント値が所定の閾値以下となったときのスペクトルに対応する前記調整対象の調整値を光量調整値とする物品検査装置。
発明の詳細な説明
【技術分野】
【0001】
本発明は、分光測定装置及び物品検査装置に関する。
続きを表示(約 1,200 文字)
【背景技術】
【0002】
特許文献1には、成形品及び成形品を搬送する回転体を挟んで回転体の回転軸の方向である上下方向に沿って対向するように配置された光源及び受光素子であるセンサを備え、光源から放たれた光又は電磁波のうち成形品を透過した透過光を信号光としてセンサに入射させ、その信号光を分析することで、成形品に異物が混入していないか、及び/又は、成形品の成分その他の品質が適正であるか否を検査する検査装置が開示されている。
【先行技術文献】
【特許文献】
【0003】
特開2019-112199号公報
【発明の概要】
【発明が解決しようとする課題】
【0004】
ところで、成形品の透過率は、成形品の物性によって大きく異なることがある。このため、上述した特許文献1に記載の検査装置のような透過測定を行う装置の場合、測定対象の成形品が変わると、変更後の成形品の物性によっては測定データが光検出部の測定可能範囲を外れてしまうおそれがある。
【0005】
測定対象の成形品が変わっても、光検出部の測定範囲内に測定データを収めるために、光検出部で取得される光量を調整可能であることが望ましい。
【0006】
本発明は、上述のような事情に鑑みてなされたもので、光検出部で取得される光量を適正な光量に調整可能な分光測定装置及び物品検査装置を提供することを目的としている。
【課題を解決するための手段】
【0007】
本発明に係る分光測定装置は、光源から物品に光を照射する光源部と、前記光源部から照射され前記物品を透過した透過光の分光特性を分光器で測定する光検出部と、を備え、前記光源部及び前記光検出部は、前記物品に対する相対的な距離を調整対象として調整可能に構成されている。
【0008】
この構成により、本発明に係る分光測定装置は、光源部及び光検出部が物品に対する相対的な距離を調整可能に構成されているので、光源部及び光検出部の少なくとも何れか一方の物品に対する相対的な距離を変更することで、光検出部で取得される光量を適正な光量に調整することができる。
【0009】
本発明に係る分光測定装置において、前記光検出部は、前記物品に対向する受光端を有する受光部材と、前記受光部材を通過した光が入射する入射端面を有する受光ファイバと、を含み、前記受光ファイバは、前記入射端面の前記物品に対する相対的な距離を調整対象として調整可能に構成されていることが好ましい。
【0010】
この構成により、本発明に係る分光測定装置は、光検出部の受光ファイバが入射端面の物品に対する相対的な距離を調整可能に構成されているので、受光ファイバの入射端面の物品に対する相対的な距離を調整することによっても光検出部で取得される光量を適正な光量に調整することができる。
(【0011】以降は省略されています)
この特許をJ-PlatPat(特許庁公式サイト)で参照する
関連特許
アンリツ株式会社
X線検査装置
1か月前
アンリツ株式会社
物品検査装置
28日前
アンリツ株式会社
物品検査装置
28日前
アンリツ株式会社
物品検査装置
14日前
アンリツ株式会社
物品検査装置
12日前
アンリツ株式会社
測定装置とその測定方法
14日前
アンリツ株式会社
物品検査装置及びX線検査装置
1か月前
アンリツ株式会社
誤り率測定装置及び誤り率測定方法
14日前
アンリツ株式会社
試験システム及び送信アンテナ相関推定方法
13日前
アンリツ株式会社
分光測定装置及びこれを備えた物品検査装置
14日前
アンリツ株式会社
分光測定装置及びこれを備えた物品検査装置
5日前
アンリツ株式会社
分光測定装置及びこれを備えた物品検査装置
5日前
アンリツ株式会社
分光測定装置及びこれを備えた物品検査装置
28日前
アンリツ株式会社
検量線生成システム及び検量線生成システムの制御方法
5日前
アンリツ株式会社
検量線生成装置、検量線生成方法及び検量線生成プログラム
12日前
アンリツ株式会社
検量線生成装置、検量線生成方法及び検量線生成プログラム
12日前
アンリツ株式会社
検量線生成装置、検量線生成方法及び検量線生成プログラム
5日前
アンリツ株式会社
量子コンピュータ制御装置および量子コンピュータ制御方法
1か月前
アンリツ株式会社
分光器の校正装置、及びこれを備えた物品検査装置、並びに分光器の校正方法
5日前
アンリツ株式会社
検量線生成装置、検量線生成装置の制御方法及び検量線生成装置の制御プログラム
今日
アンリツ株式会社
量子コンピュータ制御装置、量子コンピュータ制御システムおよび量子コンピュータ制御方法
1か月前
株式会社イシダ
表示装置
今日
個人
視触覚センサ
5日前
個人
採尿及び採便具
1か月前
日本精機株式会社
検出装置
1か月前
個人
計量機能付き容器
1か月前
愛知電機株式会社
外観検査方法
1日前
株式会社カクマル
境界杭
20日前
株式会社ミツトヨ
測定器
1か月前
愛知電機株式会社
外観検査装置
1日前
甲神電機株式会社
電流検出装置
1か月前
日本精機株式会社
液面検出装置
今日
日本精機株式会社
発光表示装置
13日前
株式会社トプコン
測量装置
12日前
ユニパルス株式会社
トルク変換器
5日前
ユニパルス株式会社
トルク変換器
5日前
続きを見る
他の特許を見る