TOP
|
特許
|
意匠
|
商標
特許ウォッチ
Twitter
他の特許を見る
10個以上の画像は省略されています。
公開番号
2025163871
公報種別
公開特許公報(A)
公開日
2025-10-30
出願番号
2024067467
出願日
2024-04-18
発明の名称
量子コンピュータ制御装置および量子コンピュータ制御方法
出願人
アンリツ株式会社
代理人
弁理士法人有我国際特許事務所
主分類
G06N
10/40 20220101AFI20251023BHJP(計算;計数)
要約
【課題】量子コンピュータの制御チャネルの情報を容易に確認することができる量子コンピュータ制御装置を提供する。
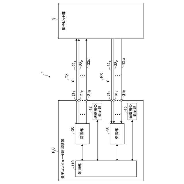
【解決手段】量子ビット部3を制御するための制御装置100であって、量子ビット部に接続され、量子ビット部を制御するための制御信号を送信用の制御チャネルTXを通して送信する送信部20と、量子ビット部に接続され、量子ビット部から読み出された読み出し信号を受信用の制御チャネルRXを通して受信する受信部30と、送信用および受信用の制御チャネルごとに表示器13、16を有し、送信用および受信用の制御チャネルのチャネル情報を表示する表示部12と、チャネル情報を対応する表示器にチャネル情報の種別に対応する表示態様で表示させる制御部110と、を備える。
【選択図】図1
特許請求の範囲
【請求項1】
量子ビット部を制御するための制御装置(100)であって、
前記量子ビット部に接続され、前記量子ビット部を制御するための制御信号を送信用の制御チャネルを通して送信する送信部(20)と、
前記量子ビット部に接続され、前記量子ビット部から読み出された読み出し信号を受信用の制御チャネルを通して受信する受信部(30)と、
前記送信用および前記受信用の制御チャネルごとに表示器(13
1
,...,13
N
,16
1
,...,16
M
)を有し、前記送信用および前記受信用の制御チャネルのチャネル情報を表示する表示部(12、15)と、
前記チャネル情報を対応する前記表示器に前記チャネル情報の種別に対応する表示態様で表示させる制御部(110)と、
を備える、制御装置。
続きを表示(約 1,200 文字)
【請求項2】
前記チャネル情報は、対応する前記制御チャネルを指定する情報である、請求項1に記載の制御装置。
【請求項3】
前記チャネル情報は、対応する前記制御チャネルの動作状況を示す情報である、請求項1に記載の制御装置。
【請求項4】
前記チャネル情報は、対応する前記制御信号または前記読み出し信号の種別を示す情報である、請求項1に記載の制御装置。
【請求項5】
前記チャネル情報は、対応する前記制御チャネルを使用しているユーザを特定する情報である、請求項1に記載の制御装置。
【請求項6】
前記チャネル情報は、対応する前記制御チャネルでの異常の発生の有無を示す情報である、請求項1に記載の制御装置。
【請求項7】
前記表示態様は、前記表示器の表示色、輝度、および点灯態様の組み合わせにより特定され、前記点灯態様は、点灯または点滅である、請求項1に記載の制御装置。
【請求項8】
量子ビット部を制御するための複数の制御装置(100、200)を含む制御システム(2)であって、
前記各制御装置は、
前記量子ビット部に接続され、前記量子ビット部を制御するための制御信号を送信用の制御チャネルを通して送信する送信部(20)と、
前記量子ビット部に接続され、前記量子ビット部から読み出された読み出し信号を受信用の制御チャネルを通して受信する受信部(30)と、
前記送信用および前記受信用の制御チャネルごとに表示器(13
1
,...,13
N
,16
1
,...,16
M
)を有し、前記送信用および前記受信用の制御チャネルのチャネル情報を表示する表示部(12、15)と、
前記チャネル情報を対応する前記表示器に前記チャネル情報の種別に対応する表示態様で表示させる制御部(110)と、
を備える、制御システム。
【請求項9】
量子ビットを制御するための制御装置(100)において、
前記量子ビットを制御するための制御信号を送信用の制御チャネルを通して前記量子ビットに送信する送信ステップと、
前記量子ビットから読み出された読み出し信号を受信用の制御チャネルを通して前記量子ビットから受信する受信ステップと、
前記送信用および前記受信用の制御チャネルごとに設けられた表示器(13
1
,...,13
N
,16
1
,...,16
M
)に、前記送信用および前記受信用の制御チャネルのチャネル情報を表示する表示ステップと、
を含み、
前記表示ステップでは、前記チャネル情報を対応する前記表示器に前記チャネル情報の種別に対応する表示態様で表示させる、制御方法。
発明の詳細な説明
【技術分野】
【0001】
本発明は、量子コンピュータ制御装置および量子コンピュータ制御方法に関する。
続きを表示(約 1,600 文字)
【背景技術】
【0002】
量子コンピュータは、個別の量子ビットに対して、あるいは連携させた複数の量子ビットに対してゲート操作を順番に施すことによって計算を行うようになっている。このゲート操作を制御するために、量子コンピュータ制御装置が用いられている(例えば、特許文献1参照)。
【0003】
特許文献1には、ゲート操作を行うためにアナログ回路、発振回路、およびベースバンド回路を1台の制御装置内に納め、ベースバンド回路に対するアナログ回路と発振回路とを統合することで、制御装置のユーザビリティ、スケーラビリティ、ロバスト性を高めることが開示されている。
【0004】
現状では量子コンピュータが扱える量子ビット数は、数十程度であるが、今後は扱うことのできる量子ビット数の増加が見込まれている。量子コンピュータの大規模化に伴って、量子コンピュータ制御装置を複数台組み合わせて1台の量子コンピュータを制御する必要性が生まれている。
【先行技術文献】
【特許文献】
【0005】
特開2023-067604号公報
【発明の概要】
【発明が解決しようとする課題】
【0006】
量子コンピュータでは量子ビットに対してゲート操作を順番に施すことで計算を行うが、計算に必要な量子ビット数は、1台の制御装置で制御できる量子ビット数を上回ることもある。その場合には、複数台の制御装置を組み合わせて制御システムを構成し、1台の量子コンピュータを制御することになる。そのため、複数の制御装置からなる制御システムの全体としてゲート操作を行う時間を管理しなければならない。
【0007】
しかしながら、量子ビット数が多くなると、量子ビットと制御装置を繋ぐ制御チャネルの配線が複雑になり、配線作業が煩雑で誤配線も起こりやすくなっていた。また、制御チャネルの動作状況が分からず、量子コンピュータの誤動作の原因を特定することが難しかった。
【0008】
本発明は、上述のような課題を解決するためになされたものであって、量子コンピュータの制御チャネルの情報を容易に確認することができる量子コンピュータ制御装置および量子コンピュータ制御方法を提供することを目的とする。
【課題を解決するための手段】
【0009】
本発明に係る量子コンピュータ制御装置(以下、制御装置ともいう)は、上記目的達成のため、量子ビット部を制御するための制御装置(100)であって、前記量子ビット部に接続され、前記量子ビット部を制御するための制御信号を送信用の制御チャネルを通して送信する送信部(20)と、前記量子ビット部に接続され、前記量子ビット部から読み出された読み出し信号を受信用の制御チャネルを通して受信する受信部(30)と、前記送信用および前記受信用の制御チャネルごとに表示器(13
1
,...,13
N
,16
1
,...,16
M
)を有し、前記送信用および前記受信用の制御チャネルのチャネル情報を表示する表示部(12、15)と、前記チャネル情報を対応する前記表示器に前記チャネル情報の種別に対応する表示態様で表示させる制御部(110)と、を備えることを特徴とする。
【0010】
上述のように、本発明の制御装置は、表示部が、送信用および受信用の制御チャネルごとに表示器を有し、送信用および受信用の制御チャネルのチャネル情報を表示し、制御部が、チャネル情報を対応する表示器にチャネル情報の種別に対応する表示態様で表示させるようになっている。この構成により、量子コンピュータの制御チャネルの情報を容易に確認することができる。
(【0011】以降は省略されています)
この特許をJ-PlatPat(特許庁公式サイト)で参照する
関連特許
アンリツ株式会社
物品検査装置
今日
アンリツ株式会社
物品検査装置
2日前
アンリツ株式会社
物品検査装置
16日前
アンリツ株式会社
物品検査装置
16日前
アンリツ株式会社
X線検査装置
1か月前
アンリツ株式会社
測定装置とその測定方法
2日前
アンリツ株式会社
物品検査装置及びX線検査装置
1か月前
アンリツ株式会社
誤り率測定装置及び誤り率測定方法
2日前
アンリツ株式会社
試験システム及び送信アンテナ相関推定方法
1日前
アンリツ株式会社
分光測定装置及びこれを備えた物品検査装置
2日前
アンリツ株式会社
分光測定装置及びこれを備えた物品検査装置
16日前
アンリツ株式会社
検量線生成装置、検量線生成方法及び検量線生成プログラム
今日
アンリツ株式会社
検量線生成装置、検量線生成方法及び検量線生成プログラム
今日
アンリツ株式会社
量子コンピュータ制御装置および量子コンピュータ制御方法
29日前
アンリツ株式会社
量子コンピュータ制御装置、量子コンピュータ制御システムおよび量子コンピュータ制御方法
1か月前
個人
詐欺保険
1か月前
個人
縁伊達ポイン
1か月前
個人
RFタグシート
1か月前
個人
5掛けポイント
21日前
個人
職業自動販売機
14日前
個人
地球保全システム
1か月前
個人
QRコードの彩色
1か月前
個人
ペルソナ認証方式
29日前
個人
情報処理装置
24日前
個人
自動調理装置
1か月前
個人
農作物用途分配システム
1か月前
個人
残土処理システム
1か月前
個人
表変換編集支援システム
2か月前
個人
知的財産出願支援システム
1か月前
個人
インターネットの利用構造
28日前
個人
タッチパネル操作指代替具
1か月前
個人
サービス情報提供システム
16日前
個人
行動時間管理システム
2か月前
個人
携帯端末障害問合せシステム
1か月前
個人
スケジュール調整プログラム
1か月前
個人
パスワード管理支援システム
2か月前
続きを見る
他の特許を見る