TOP
|
特許
|
意匠
|
商標
特許ウォッチ
Twitter
他の特許を見る
公開番号
2025151686
公報種別
公開特許公報(A)
公開日
2025-10-09
出願番号
2024053231
出願日
2024-03-28
発明の名称
バッテリ制御装置
出願人
トヨタ自動車株式会社
代理人
個人
,
個人
主分類
H02J
7/00 20060101AFI20251002BHJP(電力の発電,変換,配電)
要約
【課題】バッテリセンサの異常を簡単な構成で正確に検出することのできるバッテリ制御装置を提供する。
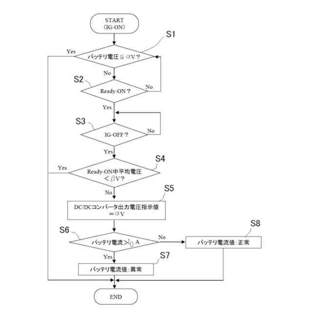
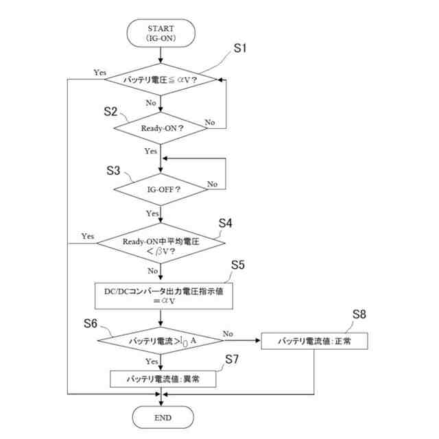
【解決手段】直流コンバータから給電される電流で充電を行い、かつ所定の電気機器に給電するバッテリの電流を検出するセンサを有し、センサの検出値に基づいてセンサの異常を検出するバッテリ制御であって、コントローラは、直流コンバータのバッテリに対する出力電圧をバッテリの開放電圧に基づいて予め定めた電圧に設定する指示を行う電圧指示部(ステップS5)と、電圧指示部が予め定めた電圧の指示を行っている状態でバッテリの電流値が予め定めた電流値を超えているか否かを判断する電流判断部(ステップS6)と、バッテリの電流値が予め定めた電流値を超えている場合に異常の判定を行う異常判定部(ステップS7,S8)とを備えている。
【選択図】図3
特許請求の範囲
【請求項1】
直流コンバータから給電される電流で充電を行い、かつ所定の電気機器に給電するバッテリの電流を検出するセンサを有し、前記センサの検出値に基づいて前記センサの異常を検出するバッテリ制御装置であって、
前記直流コンバータを制御しかつ前記センサの異常の判定を行うコントローラを有し、
前記コントローラは、
前記直流コンバータの前記バッテリに対する出力電圧を前記バッテリの開放電圧に基づいて予め定めた電圧に設定する指示を行う電圧指示部と、
前記電圧指示部が前記予め定めた電圧の指示を行っている状態で前記バッテリの電流値が予め定めた電流値を超えているか否かを判断する電流判断部と、
前記バッテリの電流値が前記予め定めた電流値を超えている場合に異常の判定を行う異常判定部とを備えている
ことを特徴とするバッテリ制御装置。
発明の詳細な説明
【技術分野】
【0001】
本発明は、各種の電装品などの電気機器に給電するバッテリを制御する装置に関し、特に電動車両に搭載されて、高圧バッテリから直流コンバータを介して充電されるバッテリについてのセンサの異常を検出することの可能な装置に関するものである。
続きを表示(約 2,100 文字)
【背景技術】
【0002】
電動車両における電源回路の異常を検出する装置が特許文献1に記載されている。その構成を簡単に説明すると、発電機がバッテリを充電できる発電状態でかつバッテリが充電状態になっている場合、また発電機が非発電状態でかつバッテリが放電状態になっている場合には、正常の判断を成立させ、それ以外の状態であれば、異常の判断を成立させるように構成されている。
【先行技術文献】
【特許文献】
【0003】
特開2001-069681号公報
【発明の概要】
【発明が解決しようとする課題】
【0004】
最近では、地球環境の維持・改善の観点から、車両が製造当初の性能を維持すること、またその診断を行うことが求められるようになってきており、その要請は、エンジンを駆動力源としたいわゆるエンジン車両だけでなく、電動機を駆動力源として備えたいわゆる電動車両においても同様である。上記の特許文献1に記載された異常検出装置は、発電機の発電状態を診断するようには構成されていないので、オンボードでの自己診断に使用する信号を得るために発電機に故障検出手段を追加することが考えられる。しかしながら、そのような構成では、追加して設ける機器が増えるので、構成の簡素化やそれに伴う軽量化や低コスト化の点で好ましくない。
【0005】
また従来、特許文献1に記載されているように、電源回路の異常の検出を、内燃機関を停止した状態でのバッテリの充電電流に基づいて行っている。しかしながら、昨今の電動車両では、内燃機関を停止するなどの発電機を停止している状態であってもバッテリに充電電流が流れることがあるので、この種の車両においては、発電の停止時のバッテリの放充電電流によっては異常を検出もしくは判定することができず、またオンボード自己診断を行うことが困難である。
【0006】
本発明は、上述した事情を背景としてなされたものであって、直流コンバータを介して給電されて充電するバッテリのセンサの異常を簡単な構成で正確に検出することのできるバッテリ制御装置を提供することを目的とするものである。
【課題を解決するための手段】
【0007】
本発明は、上記の目的を達成するために、直流コンバータから給電される電流で充電を行い、かつ所定の電気機器に給電するバッテリの電流を検出するセンサを有し、前記センサの検出値に基づいて前記センサの異常を検出するバッテリ制御装置であって、前記直流コンバータを制御しかつ前記センサの異常の判定を行うコントローラを有し、前記コントローラは、前記直流コンバータの前記バッテリに対する出力電圧を前記バッテリの開放電圧に基づいて予め定めた電圧に設定する指示を行う電圧指示部と、前記電圧指示部が前記予め定めた電圧の指示を行っている状態で前記バッテリの電流値が予め定めた電流値を超えているか否かを判断する電流判断部と、前記バッテリの電流値が前記予め定めた電流値を超えている場合に異常の判定を行う異常判定部とを備えていることを特徴とするものである。
【発明の効果】
【0008】
本発明によれば、直流コンバータからバッテリに対する出力電圧を、バッテリの開放電圧に基づいて予め定めた電圧に設定する指示を行っている状態で、バッテリの電流値を検出してその電流値が予め定めた電流値を超えているか否かを判断する。すなわち、直流コンバータの出力電圧によって、バッテリ電流を放電側に意図的に設定する。これに対して、バッテリ電流が放電側となるように設定した状態でのバッテリ電流値を予め定めた電流値と比較することによりバッテリ電流が放電側か充電側かが判別される。したがって、予め定めた電流値を放電側の電流値すなわち小さい電流値としておくことにより、検出した電流値が予め定めた電流値を超えていることによりセンサの異常を判定することができる。すなわち、本発明によれば、既存の電流センサなどの検出器の検出信号を使用し、また直流コンバータの出力電圧制御を新たに加えるだけで、センサの異常を検出でき、簡単な構成で、また正確にセンサの異常の検出を行うことができる。また、検出した電流値または異常の判断に基づく信号を車両におけるオンボード自己診断のための信号としても使用できる。
【図面の簡単な説明】
【0009】
本発明の実施形態の一例を模式的に示すブロック図である。
そのコントローラの機能的構成を示すブロック図である。
コントローラで実行される制御の一例を説明するためのフローチャートである。
【発明を実施するための形態】
【0010】
つぎに、本発明の実施形態を添付の図面を参照して説明する。なお、以下に説明する実施形態は本発明を実施した場合の一例に過ぎないのであって、本発明を限定するものではない。
(【0011】以降は省略されています)
この特許をJ-PlatPat(特許庁公式サイト)で参照する
関連特許
個人
単極モータ
2日前
株式会社アイシン
ロータ
6日前
株式会社アイシン
ロータ
2日前
日本精機株式会社
サージ保護回路
9日前
西部電機株式会社
充電装置
9日前
西部電機株式会社
充電装置
9日前
トヨタ自動車株式会社
固定子
7日前
株式会社デンソー
回転機
今日
トヨタ自動車株式会社
製造装置
7日前
個人
連続ガウス加速器形磁力増幅装置
9日前
個人
太陽エネルギー収集システム
7日前
株式会社ダイヘン
充電装置
6日前
株式会社ダイヘン
充電装置
6日前
株式会社ダイヘン
充電装置
6日前
株式会社アイシン
ステータ
6日前
株式会社ダイヘン
充電装置
6日前
東京瓦斯株式会社
通信装置
8日前
株式会社ミツバ
ブラシレスモータ
8日前
株式会社アイシン
ステータ
6日前
株式会社アイシン
ステータ
6日前
株式会社アイシン
ステータ
6日前
カヤバ株式会社
筒型リニアモータ
8日前
株式会社kaisei
発電システム
2日前
トヨタ自動車株式会社
被膜形成装置
7日前
株式会社ダイヘン
電力変換装置
9日前
株式会社ミツバ
回転電機
6日前
東京瓦斯株式会社
給電システム
8日前
株式会社デンソー
電力変換装置
1日前
ASTI株式会社
電力変換装置
7日前
株式会社ダイヘン
電力システム
9日前
株式会社アイシン
回転電機
9日前
株式会社アイシン
保護装置
7日前
シャープ株式会社
表示装置
7日前
キヤノン株式会社
無線電力伝送システム
7日前
株式会社ダイヘン
インバータ装置
1日前
大和ハウス工業株式会社
システム
8日前
続きを見る
他の特許を見る