TOP
|
特許
|
意匠
|
商標
特許ウォッチ
Twitter
他の特許を見る
10個以上の画像は省略されています。
公開番号
2025150885
公報種別
公開特許公報(A)
公開日
2025-10-09
出願番号
2024052038
出願日
2024-03-27
発明の名称
鳥害防止具
出願人
ヨツギ株式会社
代理人
アクシス国際弁理士法人
主分類
H02G
7/00 20060101AFI20251002BHJP(電力の発電,変換,配電)
要約
【課題】遠隔からでもより容易に取り付けることができる鳥害防止具を提供する。
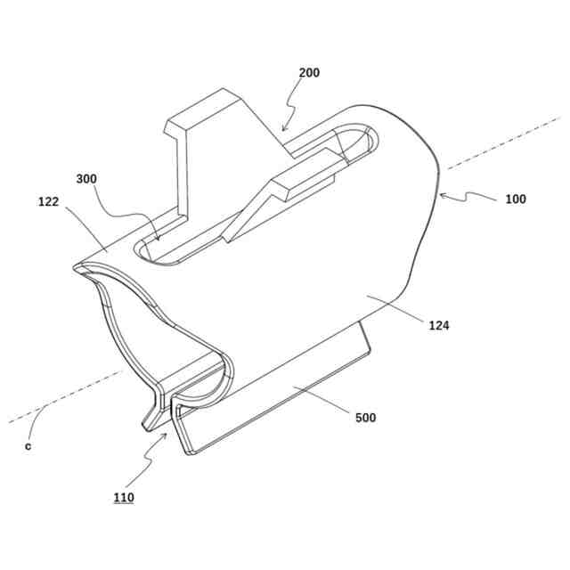
【解決手段】鳥害防止具1は、周方向の一部に軸方向に延びる不連続部分110を有する筒状の少なくとも1つのクリップ部100と、周方向に係る不連続部分110の対向位置に配置されるとともに、周方向に互いに離間してクリップ部100の周壁120からクリップ部100の径方向に係る外方に向けて突出された一対の把持部200と、周方向に係る一対の把持部200の内側で軸方向に延びる少なくとも1つのリブ部300と、クリップ部100から放射状に突出する複数の鳥障害用突起400とを備えている。
【選択図】図1
特許請求の範囲
【請求項1】
周方向の一部に軸方向に延びる不連続部分を有する筒状の少なくとも1つのクリップ部と、
前記周方向に係る前記不連続部分の対向位置に配置されるとともに、前記周方向に互いに離間して前記クリップ部の周壁から前記クリップ部の径方向に係る外方に向けて突出された一対の把持部と、
前記周方向に係る前記一対の把持部の内側で前記軸方向に延びる少なくとも1つのリブ部と、
前記クリップ部から放射状に突出する複数の鳥障害用突起と
を備えている、鳥害防止具。
続きを表示(約 1,400 文字)
【請求項2】
前記少なくとも1つのリブ部は、前記一対の把持部の外側の前記周壁を前記周方向に延長した延長面に対して、前記クリップ部の内側に向けて突出されており、
前記クリップ部は、前記周方向に係るそれぞれの一端が前記リブ部を介して互いに接続され、前記周方向に係る他端の間に前記不連続部分が設けられた第1周壁及び第2周壁を含み、
前記リブ部は、一端が前記第1周壁に接続された第1側壁と、一端が前記第2周壁に接続された第2側壁と、前記第1側壁の他端と前記第2側壁の他端とを接続する接続部とを有し、前記第1側壁及び前記第2側壁は前記一対の把持部と同一直線上で延びており、
前記第1周壁及び第2周壁の少なくとも一方の前記他端からは、前記径方向に見たときに前記不連続部分に重なるように前記周方向に突出片が延びており、
前記一対の把持部の上端よりも下方において、前記周方向に係る前記一対の把持部のそれぞれの外面からは過挿入抑止突起が突出されている、
請求項1に記載の鳥害防止具。
【請求項3】
前記少なくとも1つのリブ部は、前記一対の把持部の外側の前記周壁を前記周方向に延長した延長面に対して、前記クリップ部の内側に向けて突出されている、
請求項1に記載の鳥害防止具。
【請求項4】
前記クリップ部は、前記周方向に係るそれぞれの一端が前記リブ部を介して互いに接続され、前記周方向に係る他端の間に前記不連続部分が設けられた第1周壁及び第2周壁を含み、
前記リブ部は、一端が前記第1周壁に接続された第1側壁と、一端が前記第2周壁に接続された第2側壁と、前記第1側壁の他端と前記第2側壁の他端とを接続する接続部とを有し、前記第1側壁及び前記第2側壁は前記一対の把持部と同一直線上で延びている、
請求項1に記載の鳥害防止具。
【請求項5】
前記クリップ部は、前記周方向に係るそれぞれの一端が前記リブ部を介して互いに接続され、前記周方向に係る他端の間に前記不連続部分が設けられた第1周壁及び第2周壁を含み、
前記第1周壁及び第2周壁の少なくとも一方の前記他端からは、前記径方向に見たときに前記不連続部分に重なるように前記周方向に突出片が延びている、
請求項1に記載の鳥害防止具。
【請求項6】
前記一対の把持部の上端よりも下方において、前記周方向に係る前記一対の把持部のそれぞれの外面からは過挿入抑止突起が突出されている、
請求項1に記載の鳥害防止具。
【請求項7】
前記軸方向に係る前記リブ部の延在長さは、前記軸方向に係る前記クリップ部の全長よりも短い、
請求項1から6までのいずれか1項に記載の鳥害防止具。
【請求項8】
前記少なくとも1つのリブ部は、前記軸方向に並べて配置された複数のリブ部を含んでいる、
請求項7に記載の鳥害防止具。
【請求項9】
前記リブ部は、前記軸方向に係る前記クリップ部の全長にわたって延在されている、
請求項1から6までのいずれか1項に記載の鳥害防止具。
【請求項10】
前記リブ部の少なくとも一部の肉厚は、前記クリップ部の前記周壁の肉厚よりも薄い、
請求項1から6までのいずれか1項に記載の鳥害防止具。
(【請求項11】以降は省略されています)
発明の詳細な説明
【技術分野】
【0001】
本発明は、電線等の架空線に取り付けられる鳥害防止具に関する。
続きを表示(約 1,600 文字)
【背景技術】
【0002】
電線等の架空線に鳥獣類が止まることがある。鳥獣類が架空線に止まると糞や羽等によって周囲が汚損される。また大形の鳥獣類が止まったり、多数の鳥獣類が止まると、架空線の損傷及び短絡事故につながるおそれがある。
【0003】
このような、いわゆる鳥害等を防止するために、鳥害防止具を用いることが知られている。
【0004】
例えば、特許文献1には、電線に着脱自在に装着され、弾性変形可能な筒状のクリップ部であって、周壁にその軸線方向に延びる不連続部分を有する複数のクリップ部を備えた電線用鳥害防止具が記載されている。クリップ部の不連続部分には、軸線方向に垂直な方向に突出する一対のフランジ部が設けられている。各フランジ部は、軸線方向の両端部に、軸線方向に互いに近接する方向に傾斜し、かつ軸線に垂直な方向に、軸線から離反するにつれて拡開する挿入案内部を構成している。作業者が、クリップ部の挿入案内部とは反対側の部分を把持した状態で、挿入案内部を電線の外周面に当接させ、クリップ部から電線に向かう方向に力を加えることで、フランジ部を離反させるようにクリップ部が弾性変形し、不連続部分が拡開される。これにより、電線が不連続部分を通過してクリップ部に挿入される。
【先行技術文献】
【特許文献】
【0005】
特開2013-158332号公報
【発明の概要】
【発明が解決しようとする課題】
【0006】
ところで、近年、例えば絶縁操作棒(ヤットコ)等の器具を用いて鳥害防止具の取付作業を遠隔より行うことがある。遠隔からは、特許文献1のような鳥害防止具の取付作業を行うことが難しいことがある。
【0007】
本発明は、上記のような課題を解決するためになされたものであり、その目的の一つは、遠隔からでもより容易に取り付けることができる鳥害防止具を提供することである。
【課題を解決するための手段】
【0008】
本発明に係る鳥害防止具は、周方向の一部に軸方向に延びる不連続部分を有する筒状の少なくとも1つのクリップ部と、周方向に係る前記不連続部分の対向位置に配置されるとともに、周方向に互いに離間してクリップ部の周壁からクリップ部の径方向に係る外方に向けて突出された一対の把持部と、周方向に係る前記一対の把持部の内側で軸方向に延びる少なくとも1つのリブ部と、クリップ部から放射状に突出する複数の鳥障害用突起とを備える。
【発明の効果】
【0009】
本発明の鳥害防止具の一実施形態によれば、少なくとも1つのリブ部が、周方向に係る一対の把持部の内側で軸方向に延びるので、把持部を把持することでクリップ部の不連続部分をより容易に拡開させることができ、遠隔からでもより容易に取り付けることができる。
【図面の簡単な説明】
【0010】
本発明の実施形態である鳥害防止具の構成を示す外観図である。
図1の鳥害防止具の正面図である。
軸方向における図1の鳥害防止具の上部の構成を示す部分拡大断面図である。
図1の鳥害防止具の下部の構成を示す部分拡大正面図である。
図1の鳥害防止具の上部の構成を示す部分拡大正面図である。
図5の一対の把持部をヤットコで把持する前の部分拡大正面図である。
図1の鳥害防止具のクリップ部の構成を示す部分拡大外観図である。
図1の鳥害防止具のクリップ部の別の態様の構成を示す部分拡大外観図である。
図1の鳥害防止具のクリップ部の別の態様の構成を示す部分拡大外観図である。
図1の鳥害防止具の別の態様の上部の構成を示す部分拡大正面図である。
図1の鳥害防止具の別の態様の構成を示す側面図である。
【発明を実施するための形態】
(【0011】以降は省略されています)
この特許をJ-PlatPat(特許庁公式サイト)で参照する
関連特許
ヨツギ株式会社
鳥害防止具
2日前
ヨツギ株式会社
接続部用被覆材
12日前
個人
電源装置
23日前
個人
バッテリ内蔵直流電源
22日前
株式会社アイシン
ロータ
1日前
株式会社FUJI
制御盤
12日前
日本精機株式会社
サージ保護回路
4日前
オムロン株式会社
電源回路
16日前
オムロン株式会社
電源回路
16日前
オムロン株式会社
電源回路
16日前
西部電機株式会社
充電装置
4日前
西部電機株式会社
充電装置
4日前
トヨタ自動車株式会社
回転子
8日前
トヨタ自動車株式会社
回転子
23日前
トヨタ自動車株式会社
固定子
2日前
大豊工業株式会社
モータ
22日前
ミサワホーム株式会社
居住設備
12日前
トヨタ自動車株式会社
製造装置
2日前
個人
連続ガウス加速器形磁力増幅装置
4日前
東京応化工業株式会社
発電装置
16日前
株式会社アイシン
ステータ
1日前
株式会社アイシン
ステータ
1日前
株式会社アイシン
ステータ
1日前
株式会社ダイヘン
充電装置
1日前
株式会社ダイヘン
充電装置
1日前
株式会社ダイヘン
充電装置
1日前
株式会社アイシン
ステータ
1日前
株式会社ダイヘン
充電装置
1日前
カヤバ株式会社
筒型リニアモータ
3日前
株式会社リコー
拡張アンテナ装置
15日前
個人
太陽エネルギー収集システム
2日前
東京瓦斯株式会社
通信装置
3日前
株式会社ミツバ
ブラシレスモータ
3日前
ニチコン株式会社
AC入力検出回路
8日前
トヨタ自動車株式会社
ロータ
10日前
トヨタ自動車株式会社
被膜形成装置
2日前
続きを見る
他の特許を見る