TOP
|
特許
|
意匠
|
商標
特許ウォッチ
Twitter
他の特許を見る
10個以上の画像は省略されています。
公開番号
2025140116
公報種別
公開特許公報(A)
公開日
2025-09-29
出願番号
2024039298
出願日
2024-03-13
発明の名称
接続部用被覆材
出願人
ヨツギ株式会社
代理人
アクシス国際弁理士法人
主分類
H01R
4/70 20060101AFI20250919BHJP(基本的電気素子)
要約
【課題】変形抵抗を小さくでき、作業性を向上できる接続部用被覆材を提供する。
【解決手段】カバー110と、カバー110の内面に設けられた粘着層120と、粘着層120の内面に設けられた保護フィルム130とを備え、保護フィルム130を介して粘着層120及びカバー110によりケーブルの接続部を被覆するための接続部用被覆材100であって、保護フィルム130は、粘着層120と部分的に付着されている。
【選択図】図4
特許請求の範囲
【請求項1】
カバーと、
前記カバーの内面に設けられた粘着層と、
前記粘着層の内面に設けられた保護フィルムと
を備え、
前記保護フィルムを介して前記粘着層及び前記カバーによりケーブルの接続部を被覆するための接続部用被覆材であって、
前記保護フィルムは、前記粘着層と部分的に付着されている、
接続部用被覆材。
続きを表示(約 380 文字)
【請求項2】
前記保護フィルムは、前記粘着層と付着された付着部と、前記粘着層と非付着な非付着部とを有しており、
前記付着部は、前記ケーブルの長手方向に延びるように線状に延在されている、
請求項1に記載の接続部用被覆材。
【請求項3】
前記非付着部と前記粘着層との間に介在するように前記粘着層の内面に設けられ、前記保護フィルムよりも薄いか又は柔軟な素材により構成された中間フィルムをさらに備えている、請求項2に記載の接続部用被覆材。
【請求項4】
前記保護フィルムは蛇腹状である、
請求項1に記載の接続部用被覆材。
【請求項5】
前記保護フィルムは互いに離間して設けられた複数の凸部を有しており、前記凸部の頂部が前記粘着層に付着されている、
請求項1に記載の接続部用被覆材。
発明の詳細な説明
【技術分野】
【0001】
本発明は、ケーブルの接続部用被覆材に関する。
続きを表示(約 1,800 文字)
【背景技術】
【0002】
特許文献1~5に示されているように、絶縁や防水のために、例えば、高圧電線等のケーブルの接続部を被覆材で被覆することが従来より行われている。特に特許文献1には、分岐接続部(分岐部)を覆うためのシール材と、シール材を介して分岐接続部を覆うための(すなわち、シール材を更に外側から覆う)保護シートとを備えたシートが記載されている。シール材の主面のうち、分岐接続部との接触部分に対応する箇所には、PET、ポリエチレン、ポリエステル等で構成されたフィルムが配置されている。
【先行技術文献】
【特許文献】
【0003】
特開2013-187068号公報
特開2018-181632号公報
実用新案登録第2516302号公報
特許第5503710号公報
特開2002-252918号公報
【発明の概要】
【発明が解決しようとする課題】
【0004】
特許文献1のシートでは、シール材の主面のうち、分岐部との接触部分に対応する箇所にフィルムが配置されている。このようなシートを分岐接続部の周囲に巻きつけようとしたとき、フィルムによってシール材及び保護シートの変形が阻害されて、シートを環状に変形させる際の変形抵抗が大きくなる。このため、従来構成では、作業性が低下している。
【0005】
本発明は、上記のような課題を解決するためになされたものであり、その目的の一つは、変形抵抗を小さくでき、作業性を向上できる接続部用被覆材を提供することである。
【課題を解決するための手段】
【0006】
本発明に係る接続部用被覆材は、カバーと、前記カバーの内面に設けられた粘着層と、前記粘着層の内面に設けられた保護フィルムとを備え、前記保護フィルムを介して前記粘着層及び前記カバーによりケーブルの接続部を被覆するための接続部用被覆材であって、前記保護フィルムは、前記粘着層と部分的に付着されている。
【発明の効果】
【0007】
本発明の分岐接続部用被覆材の一実施形態によれば、保護フィルムが全面的に粘着層と付着されている場合と比較して保護フィルムによる粘着層及びカバーの変形阻害を小さくできる。これにより、変形抵抗を小さくでき、作業性を向上できる。
【図面の簡単な説明】
【0008】
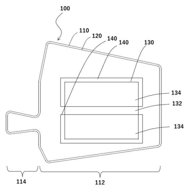
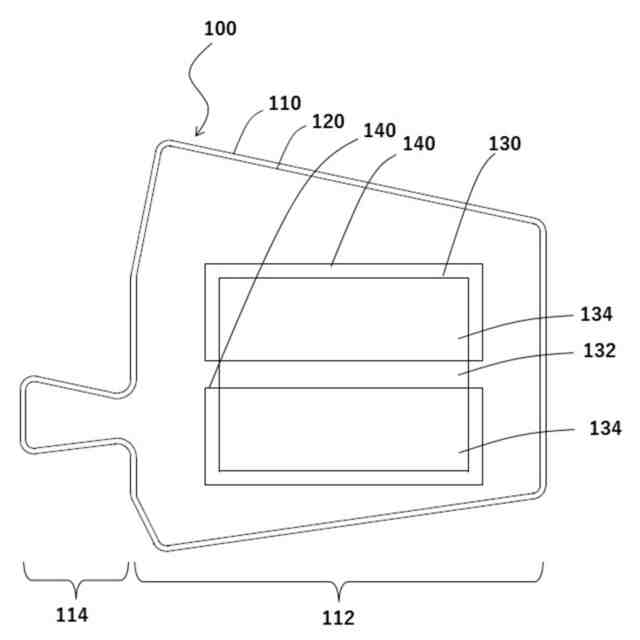
本発明の実施形態である接続部用被覆材の構成であって、ケーブルの接続部を被覆する前の状態を示す正面図である。
図1の接続部用被覆材の斜視図である。
図1の接続部用被覆材がケーブルの接続部を被覆した後の状態を示す正面図である。
図1の接続部用被覆材を説明するための正面図である。
図1の接続部用被覆材の別の態様の保護フィルムを説明するための正面図である。
図5の接続部用被覆材の断面図である。
図1の接続部用被覆材の別の態様の保護フィルムを説明するための正面図である。
図7の接続部用被覆材の断面図である。
図1の接続部用被覆材の別の態様の構成であって、ケーブルの接続部を被覆する前の状態を示す正面図である。
【発明を実施するための形態】
【0009】
以下、本発明を実施するための形態について、図面を参照して説明する。本発明は各実施の形態に限定されるものではなく、その要旨を逸脱しない範囲で構成要素を変形して具体化できる。また、各実施形態に開示されている複数の構成要素の適宜な組み合わせにより、種々の発明を形成できる。例えば、実施の形態に示される全構成要素からいくつかの構成要素を削除してもよい。さらに、異なる実施形態の構成要素を適宜組み合わせてもよい。
【0010】
図1は本発明の実施形態である接続部用被覆材100の構成であって、ケーブル10の接続部11を被覆する前の状態を示す正面図であり、図2は図1の接続部用被覆材100の斜視図であり、図3は図1の接続部用被覆材100がケーブル10の接続部11を被覆した後の状態を示す正面図であり、図4は図1の接続部用被覆材100を説明するための正面図である。
(【0011】以降は省略されています)
この特許をJ-PlatPat(特許庁公式サイト)で参照する
関連特許
ヨツギ株式会社
鳥害防止具
5日前
日本発條株式会社
積層体
15日前
個人
フレキシブル電気化学素子
4日前
ローム株式会社
半導体装置
13日前
ローム株式会社
半導体装置
13日前
ローム株式会社
半導体装置
13日前
ローム株式会社
半導体装置
6日前
ローム株式会社
半導体装置
11日前
株式会社ユーシン
操作装置
4日前
個人
防雪防塵カバー
15日前
太陽誘電株式会社
全固体電池
11日前
株式会社GSユアサ
蓄電装置
15日前
個人
半導体パッケージ用ガラス基板
14日前
株式会社ホロン
冷陰極電子源
11日前
株式会社GSユアサ
蓄電装置
11日前
オムロン株式会社
電磁継電器
5日前
太陽誘電株式会社
コイル部品
4日前
株式会社GSユアサ
蓄電設備
4日前
株式会社GSユアサ
蓄電設備
4日前
TDK株式会社
電子部品
11日前
日本特殊陶業株式会社
保持装置
15日前
日本特殊陶業株式会社
保持装置
13日前
日東電工株式会社
積層体
5日前
トヨタ自動車株式会社
バッテリ
5日前
ローム株式会社
電子装置
15日前
日本特殊陶業株式会社
保持装置
11日前
日本特殊陶業株式会社
保持装置
11日前
トヨタ自動車株式会社
蓄電装置
4日前
トヨタ自動車株式会社
二次電池
15日前
ノリタケ株式会社
熱伝導シート
4日前
サクサ株式会社
電池の固定構造
4日前
ローム株式会社
半導体装置
15日前
東レエンジニアリング株式会社
実装装置
5日前
ヒロセ電機株式会社
電気コネクタ
15日前
株式会社カネカ
正極活物質
15日前
古河電気工業株式会社
端子
4日前
続きを見る
他の特許を見る