TOP
|
特許
|
意匠
|
商標
特許ウォッチ
Twitter
他の特許を見る
公開番号
2025150821
公報種別
公開特許公報(A)
公開日
2025-10-09
出願番号
2024051940
出願日
2024-03-27
発明の名称
物体検知装置
出願人
株式会社SOKEN
,
株式会社デンソー
,
国立大学法人 名古屋工業大学
代理人
弁理士法人ゆうあい特許事務所
主分類
G01S
15/32 20060101AFI20251002BHJP(測定;試験)
要約
【課題】物体の形状の判定精度を向上させることができる物体検知装置を提供すること。
【解決手段】
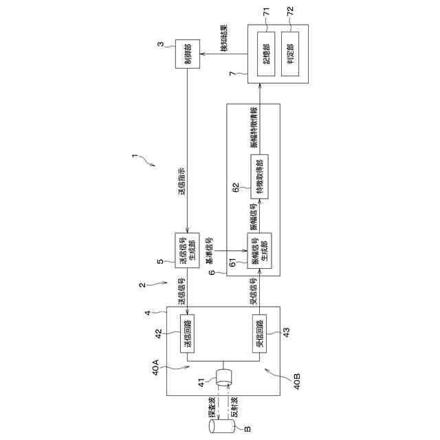
物体検知装置は、物体に向けて超音波を送信する送信部40Aと、物体からの反射波を受信して受信信号を出力する受信部40Bと、振幅信号を生成する振幅信号生成部61と、物体の形状を判定する物体判定部7と、を備える。送信部が送信する超音波は、時間経過に伴って周波数が変化する変化領域を有する。受信部は、重畳反射波を受信して、重畳反射波に応じた受信信号を出力する。振幅信号生成部は、受信部が重畳反射波を受信して出力した受信信号に基づいて振幅信号を生成する。振幅信号生成部は、受信部が重畳反射波を受信して出力した受信信号に基づいて振幅信号を生成する。物体判定部は、振幅信号生成部が生成した重畳反射波に基づく振幅信号に基づいて物体の形状を判定する物体検知装置。
【選択図】図4
特許請求の範囲
【請求項1】
超音波の送受信によって物体を検知する物体検知装置であって、
前記物体に向けて前記超音波を送信する送信部(40A)と、
前記物体からの反射波を受信して、前記反射波に応じた受信信号を出力する受信部(40B)と、
前記受信信号の振幅信号を生成する振幅信号生成部(61)と、
前記振幅信号に基づいて、前記物体の形状を判定する物体判定部(7)と、を備え、
前記送信部が送信する前記超音波は、時間経過に伴って周波数が変化する変化領域を有し、
前記受信部は、前記物体における高さの異なる複数の部位それぞれで反射された複数の前記反射波が重なり合った領域を含む重畳反射波を受信して、前記重畳反射波に応じた前記受信信号を出力し、
前記振幅信号生成部は、前記受信部が前記重畳反射波を受信して出力した前記受信信号に基づいて前記振幅信号を生成し、
前記物体判定部は、前記振幅信号生成部が生成した前記重畳反射波に基づく前記振幅信号に基づいて前記物体の形状を判定する物体検知装置。
続きを表示(約 1,800 文字)
【請求項2】
前記振幅信号の振幅特徴を検出し、前記振幅特徴に関する情報である振幅特徴情報を出力する特徴取得部(62)を備え、
前記振幅信号生成部は、前記重畳反射波に基づく前記振幅信号を前記特徴取得部に出力し、
前記特徴取得部は、前記振幅信号に基づいて、前記振幅信号の受信タイミング毎の振幅強度の大きさを示す情報を予め定められた階調の輝度値に変換して並べた画像である振幅画像を生成し、生成した前記振幅画像に関する情報を前記振幅特徴情報として前記物体判定部に出力し、
前記物体判定部は、前記振幅特徴情報に基づいて前記物体の形状を判定する請求項1に記載の物体検知装置。
【請求項3】
前記特徴取得部は、前記振幅画像における前記受信タイミング毎の振幅強度の大きさを示す情報が並ぶ方向を信号方向としたとき、生成した前記振幅画像を前記信号方向と直交する方向に複数並べて1つの連結振幅画像を生成し、生成した前記連結振幅画像を前記振幅特徴情報として出力する請求項2に記載の物体検知装置。
【請求項4】
前記受信部は、繰り返し受信する前記重畳反射波毎に前記受信信号を出力し、
前記振幅信号生成部は、前記受信部が前記重畳反射波を受信する毎に出力した前記受信信号に基づいて前記振幅信号を繰り返し前記特徴取得部に出力し、
前記特徴取得部は、前記振幅信号生成部から繰り返し取得する前記振幅信号毎に前記振幅画像を生成し、前記振幅画像における前記受信タイミング毎の振幅強度の大きさを示す情報が並ぶ方向を信号方向としたとき、前記受信部が前記重畳反射波を受信した順に対応させて、前記振幅画像を前記信号方向と直交する方向に複数並べて1つの連結振幅画像を生成し、生成した前記連結振幅画像を前記振幅特徴情報として出力する請求項2に記載の物体検知装置。
【請求項5】
前記振幅信号に基づいて前記受信部と前記物体との距離である測距距離を算出し、前記測距距離に関する情報である測距距離情報を出力する距離算出部(63)を備え、
前記物体判定部は、前記振幅特徴情報および前記測距距離情報に基づいて前記物体の形状を判定する請求項2ないし4のいずれか1つに記載の物体検知装置。
【請求項6】
前記物体判定部は、前記物体の形状に応じた前記振幅特徴を機械学習することにより生成した学習モデルを記憶しており、前記振幅特徴情報および前記学習モデルに基づいて前記物体の形状を判定する請求項2ないし4のいずれか1つに記載の物体検知装置。
【請求項7】
前記振幅信号の振幅特徴を検出し、前記振幅特徴に関する情報である振幅特徴情報を出力する特徴取得部(62)と、
前記振幅信号に基づいて前記受信部と前記物体との距離である測距距離を算出し、前記測距距離に関する情報である測距距離情報を出力する距離算出部(63)と、を備え、
前記振幅信号生成部は、前記重畳反射波に基づく前記振幅信号を前記特徴取得部に出力し、
前記特徴取得部は、前記振幅信号に基づいて、前記振幅信号における振幅波形の特徴部分を示す波形特徴を前記振幅特徴情報として前記物体判定部に出力し、
前記物体判定部は、前記振幅特徴情報および前記測距距離情報に基づいて前記物体の形状を判定する請求項1に記載の物体検知装置。
【請求項8】
前記物体判定部は、前記測距距離に応じた前記波形特徴を示す特徴変化を機械学習することにより生成された学習モデルを記憶しており、複数の前記振幅特徴情報および複数の前記測距距離情報に基づいて前記特徴変化を抽出し、抽出した前記特徴変化および前記学習モデルに基づいて前記物体の形状を判定する請求項7に記載の物体検知装置。
【請求項9】
前記物体判定部は、前記物体毎の前記測距距離と前記波形特徴との対応関係を示す特徴マップを記憶しており、前記振幅特徴情報と、前記測距距離情報と、前記特徴マップと、に基づいて前記物体の形状を判定する請求項7に記載の物体検知装置。
【請求項10】
該物体検知装置は、車両に適用されており、
前記送信部および前記受信部は、バンパに設けられており、
前記送信部および前記受信部の取付位置は、前記バンパにおける車高方向の中央より下方側に設定されている請求項1に記載の物体検知装置。
発明の詳細な説明
【技術分野】
【0001】
本開示は、物体検知装置に関する。
続きを表示(約 1,600 文字)
【背景技術】
【0002】
従来、障害物の高さに応じて反射波の強度特性が異なることを利用して、検出した障害物が背高障害物であるか否かを判定する走行制御コント―ラが開示されている(例えば、特許文献1参照)。特許文献1に記載の走行制御コント―ラは、障害物で反射された反射波を受信するソナーからの出力信号に基づいて、障害物が背高障害物であるか否かを判定する。
【0003】
特許文献1によれば、例えば、障害物が背低障害物である縁石である場合、ソナーから送信された送信波のうち、路面方向(すなわち斜め下方向)に送信した送信波が縁石で反射し、その反射波がさらに路面で反射する。ソナーは、縁石および路面で反射された反射波を受信する。また、ソナーから水平方向に送信した送信波は、縁石の上方を通過する。このため、ソナーは、この水平方向に送信された送信波の反射波を受信することはない。したがって、このときソナーが受信する反射波の強度特性は、障害物検知閾値を越えるピークを1つ有する。
【0004】
これに対して、例えば、障害物が背高障害物である壁である場合、ソナーから水平方向に送信された送信波は、壁に反射される。このため、ソナーは、壁で反射された反射波をそのまま受信する。したがって、ソナーは、障害物が壁である場合、斜め下方向に送信した送信波の反射波と、水平方向に送信した送信波の反射波との2つの反射波を短時間の間に受信する。このため、このときソナーが受信する反射波の強度特性は、障害物検知閾値を越えるピークを2つ有する。
【0005】
これらのことから、特許文献1に記載の走行制御コント―ラは、障害物で反射された反射波のピークが1つであるか2つであるかに基づいて、障害物が背高障害物であるか否かを判定する。
【先行技術文献】
【特許文献】
【0006】
特許第5846316号公報
【発明の概要】
【発明が解決しようとする課題】
【0007】
しかしながら、空気のゆらぎによって反射波のSN比が低下する場合がある。また、斜め下方向に発射した送信波の反射波と水平方向に発射した送信波の反射波との2つの反射波が重なることで、ピークが1つになる場合がある。これらの場合、反射波のピークの数によって障害物の高さなど、物体の形状を判定すると、物体の形状を誤って判定する虞がある。
【0008】
このように、反射波のピークの数による判定方法では、物体を誤判定するおそれがある。
【0009】
本発明は上記点に鑑みて、物体の形状の判定精度を向上させることができる物体検知装置を提供することを目的とする。
【課題を解決するための手段】
【0010】
本開示の1つの観点によれば、
超音波の送受信によって物体を検知する物体検知装置は、
物体に向けて超音波を送信する送信部(40A)と、
物体からの反射波を受信して、反射波に応じた受信信号を出力する受信部(40B)と、
受信信号の振幅信号を生成する振幅信号生成部(61)と、
振幅信号に基づいて、物体の形状を判定する物体判定部(7)と、を備え、
送信部が送信する超音波は、時間経過に伴って周波数が変化する変化領域を有し、
受信部は、物体における高さの異なる複数の部位それぞれで反射された複数の反射波が重なり合った領域を含む重畳反射波を受信して、重畳反射波に応じた受信信号を出力し、
振幅信号生成部は、受信部が重畳反射波を受信して出力した受信信号に基づいて振幅信号を生成し、
物体判定部は、振幅信号生成部が生成した重畳反射波に基づく振幅信号に基づいて物体の形状を判定する。
(【0011】以降は省略されています)
この特許をJ-PlatPat(特許庁公式サイト)で参照する
関連特許
株式会社SOKEN
センサ装置
20日前
株式会社SOKEN
電力変換装置
9日前
株式会社SOKEN
実設備仮想化装置
9日前
株式会社SOKEN
試験方法及び試験装置
10日前
株式会社SOKEN
推定装置及び表示装置
26日前
株式会社SOKEN
3Dモデル生成用画像取得装置
1か月前
株式会社SOKEN
燃料蓄圧装置および燃料供給システム
12日前
株式会社デンソー
検出装置、検出装置の製造方法
1か月前
個人
メジャー文具
1か月前
日本精機株式会社
検出装置
11日前
個人
採尿及び採便具
17日前
個人
アクセサリー型テスター
1か月前
個人
高精度同時多点測定装置
1か月前
個人
計量機能付き容器
6日前
ユニパルス株式会社
ロードセル
1か月前
株式会社ミツトヨ
測定器
23日前
甲神電機株式会社
電流検出装置
11日前
アズビル株式会社
圧力センサ
1か月前
アズビル株式会社
電磁流量計
26日前
株式会社ヨコオ
ソケット
1か月前
ダイキン工業株式会社
監視装置
1か月前
株式会社ヨコオ
ソケット
1か月前
トヨタ自動車株式会社
監視装置
1か月前
大成建設株式会社
風洞実験装置
6日前
株式会社チノー
放射光測温装置
1か月前
エイブリック株式会社
磁気センサ回路
1か月前
愛知電機株式会社
軸部材の外観検査装置
20日前
個人
計量具及び計量機能付き容器
6日前
日本特殊陶業株式会社
ガスセンサ
4日前
大和製衡株式会社
組合せ計量装置
20日前
大和製衡株式会社
組合せ計量装置
20日前
長崎県
形状計測方法
1か月前
個人
非接触による電磁パルスの測定方法
9日前
日本信号株式会社
距離画像センサ
9日前
株式会社東芝
重量測定装置
1か月前
TDK株式会社
ガスセンサ
1か月前
続きを見る
他の特許を見る