TOP
|
特許
|
意匠
|
商標
特許ウォッチ
Twitter
他の特許を見る
公開番号
2025149330
公報種別
公開特許公報(A)
公開日
2025-10-08
出願番号
2024049912
出願日
2024-03-26
発明の名称
全固体電池およびその製造方法
出願人
カナデビア株式会社
代理人
弁理士法人 HARAKENZO WORLD PATENT & TRADEMARK
主分類
H01M
10/0583 20100101AFI20251001BHJP(基本的電気素子)
要約
【課題】エネルギー密度の低下を生じにくくする積層型の全固体電池を提供する。
【解決手段】全固体電池は、正極層(31)と、負極層(32)とが積層された複数の積層体(3)と、正極集電体(4)と、負極集電体(6)と、を備える。積層された複数の積層体(3)間で、正極層(31)同士および負極層(32)同士が対向する。正極集電体(4)は、第1の積層体(3)の正極層(31)と、第1の積層体(3)に積層された、第2の積層体(3)の正極層(31)とに接触するように、第1および第2の積層体(3)の一方の側面(3a)に沿って折り返される。負極集電体(6)は、第2の積層体(3)の負極層(32)と、第2の積層体(3)に積層された第3の積層体(3)の負極層(32)とに接触するように、一方の側面(3a)と異なる側の、第2および第3の積層体(3)の他方の側面(3b)に沿って折り返される。
【選択図】図2
特許請求の範囲
【請求項1】
第1電極層と、前記第1電極層の極性と反対の極性を有する第2電極層と、前記第1電極層および前記第2電極層の間に介在する固体電解質層とが積層された複数の積層体と、
前記第1電極層と接触するように設けられた第1集電体と、
前記第2電極層と接触するように設けられた第2集電体と、を備え、
前記複数の積層体は、各積層体が備える前記第1電極層同士および前記第2電極層同士が対向するように積層され、
前記第1集電体は、前記複数の積層体のうちの第1の積層体が備える前記第1電極層と、当該第1の積層体に積層された、前記複数の積層体のうちの第2の積層体が備える前記第1電極層とに接触するように、当該第1および第2の積層体の第1側面に沿って折り返され、
前記第2集電体は、前記複数の積層体のうちの前記第2の積層体が備える前記第2電極層と、当該第2の積層体に積層された、前記複数の積層体のうちの第3の積層体が備える前記第2電極層とに接触するように、前記第1側面と異なる側の、当該第2および第3の積層体の第2側面に沿って折り返される、全固体電池。
続きを表示(約 950 文字)
【請求項2】
前記第1集電体は、前記第1および第2の積層体における2つの前記第1電極層に接触する構成を単位として複数設けられ、
前記第2集電体は、前記第2および第3の積層体における2つの前記第2電極層に接触する構成を単位として複数設けられている、請求項1に記載の全固体電池。
【請求項3】
前記第1集電体および前記第2集電体は、複数の折り返し構造を有しており、それぞれ単一に形成されている、請求項1に記載の全固体電池。
【請求項4】
前記第1集電体は、前記第1電極層に接触する部分から前記第1電極層の側方に突出する第1タブを有し、
前記第2集電体は、前記第2電極層に接触する部分から前記第2電極層の側方に突出する第2タブを有する、請求項1から3のいずれか1項に記載の全固体電池。
【請求項5】
第1電極層と、前記第1電極層の極性と反対の極性を有する第2電極層と、前記第1電極層および前記第2電極層の間に介在する固体電解質層とが積層された積層体と、前記第1電極層と接触するように設けられた第1集電体と、前記第2電極層と接触するように設けられた第2集電体と、を備える全固体電池を製造する全固体電池の製造方法であって、
前記積層体を前記第1電極層同士および前記第2電極層同士が重なるように複数積層する積層工程と、
前記第1集電体を、前記積層工程において配置される前の前記積層体における最下層の前記第1電極層の下に配置する第1配置工程と、
前記第2集電体を、前記積層工程において配置された後の当該積層体における最上層の前記第2電極層の上に配置する第2配置工程と、
前記第1集電体を、前記積層工程において当該積層体の上に積層した前記積層体における最上層の前記第1電極層の上に、当該2つの前記積層体の第1側面に沿って折り返して重ねる第1折り返し工程と、
前記第2集電体を、前記積層工程において当該2つの前記積層体の上に積層した前記積層体における最上層の前記第2電極層の上に、前記第1側面と異なる側の、当該2つの前記積層体の第2側面に沿って折り返して重ねる第2折り返し工程と、を含む、全固体電池の製造方法。
発明の詳細な説明
【技術分野】
【0001】
本発明は、全固体電池等に関する。
続きを表示(約 2,100 文字)
【背景技術】
【0002】
固体電解質層を含む全固体電池の高容量化を目的として、正極層、固体電解質層および負極層が積層された複数の積層体(電池単体)を並列接続するように積層することがある。このような積層構造では、各積層体の同極性の電極層同士が重なるように積層体が積層される。また、当該積層構造では、各積層体に設けられた正極および負極のそれぞれの集電体が、同極性のもの同士で接続される。
【0003】
例えば、特許文献1には、同極性の集電体から突出するように設けられたタブ部を重ねて導電部材に溶接により接続することが記載されている。接続については、材料を加熱溶融する溶接以外に、材料を超音波により固相接続する超音波接合により行なわれることがある。
【先行技術文献】
【特許文献】
【0004】
特開2016-115491号公報
【発明の概要】
【発明が解決しようとする課題】
【0005】
しかしながら、上記のように接続される接続部分ではエネルギー密度の低下が生じやすいという問題がある。
【0006】
本発明の一態様は、エネルギー密度の低下を生じにくくする積層型の全固体電池を提供することを目的とする。
【課題を解決するための手段】
【0007】
上記の課題を解決するために、本発明の一態様に係る全固体電池は、第1電極層と、前記第1電極層の極性と反対の極性を有する第2電極層と、前記第1電極層および前記第2電極層の間に介在する固体電解質層とが積層された複数の積層体と、前記第1電極層と接触するように設けられた第1集電体と、前記第2電極層と接触するように設けられた第2集電体と、を備え、前記複数の積層体は、各積層体が備える前記第1電極層同士および前記第2電極層同士が対向するように積層され、前記第1集電体は、前記複数の積層体のうちの第1の積層体が備える前記第1電極層と、当該第1の積層体に積層された、前記複数の積層体のうちの第2の積層体が備える前記第1電極層とに接触するように、当該第1および第2の積層体の第1側面に沿って折り返され、前記第2集電体は、前記複数の積層体のうちの前記第2の積層体が備える前記第2電極層と、当該第2の積層体に積層された、前記複数の積層体のうちの第3の積層体が備える前記第2電極層とに接触するように、前記第1側面と異なる側の、当該第2および第3の積層体の第2側面に沿って折り返される。
【0008】
上記の課題を解決するために、本発明の一態様に係る全固体電池の製造方法は、第1電極層と、前記第1電極層の極性と反対の極性を有する第2電極層と、前記第1電極層および前記第2電極層の間に介在する固体電解質層とが積層された積層体と、前記第1電極層と接触するように設けられた第1集電体と、前記第2電極層と接触するように設けられた第2集電体と、を備える全固体電池を製造する全固体電池の製造方法であって、前記積層体を前記第1電極層同士および前記第2電極層同士が重なるように複数積層する積層工程と、前記第1集電体を、前記積層工程において配置される前の前記積層体における最下層の前記第1電極層の下に配置する第1配置工程と、前記第2集電体を、前記積層工程において配置された後の当該積層体における最上層の前記第2電極層の上に配置する第2配置工程と、前記第1集電体を、前記積層工程において当該積層体の上に積層した前記積層体における最上層の前記第1電極層の上に、当該2つの前記積層体の第1側面に沿って折り返して重ねる第1折り返し工程と、前記第2集電体を、前記積層工程において当該2つの前記積層体の上に積層した前記積層体における最上層の前記第2電極層の上に、前記第1側面と異なる側の、当該2つの前記積層体の第2側面に沿って折り返して重ねる第2折り返し工程と、を含む。
【発明の効果】
【0009】
本発明の一態様によれば、エネルギー密度の低下を生じにくくする積層型の全固体電池を提供することができる。
【図面の簡単な説明】
【0010】
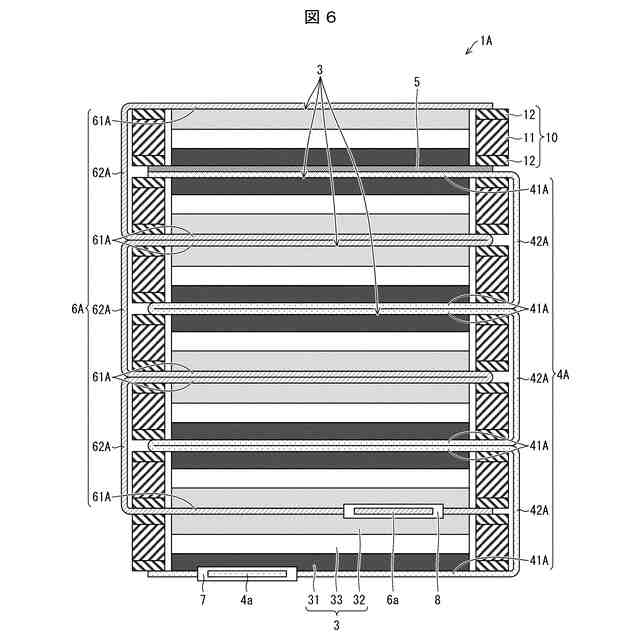
本発明の実施形態1,2に係る全固体電池の構成を示す平面図である。
本発明の実施形態1に係る全固体電池が有する電池ユニットの構造を示す側面図である。
本発明の実施形態1に係る全固体電池の構造を示す他の側面図である。
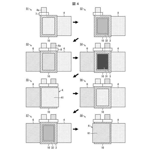
本発明の実施形態1に係る全固体電池の製造工程を示す図である。
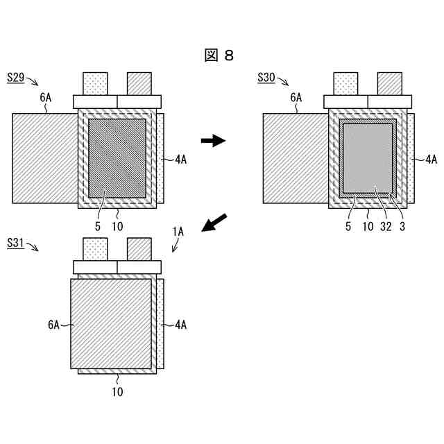
図4に示す製造工程に続く全固体電池の製造工程を示す図である。
本発明の実施形態2に係る全固体電池が有する電池ユニットの構造を示す図である。
本発明の実施形態2に係る全固体電池の製造工程を示す図である。
図7に示す製造工程に続く全固体電池の製造工程を示す図である。
【発明を実施するための形態】
(【0011】以降は省略されています)
この特許をJ-PlatPat(特許庁公式サイト)で参照する
関連特許
カナデビア株式会社
サクション基礎
3日前
カナデビア株式会社
封止装置および電池製造方法
9日前
カナデビア株式会社
全固体電池およびその製造方法
4日前
カナデビア株式会社
電池製造装置および電池製造方法
5日前
カナデビア株式会社
電池製造装置および電池製造方法
9日前
カナデビア株式会社
情報処理装置および情報管理システム
2日前
カナデビア株式会社
積層型電池および積層型電池の製造方法
3日前
カナデビア株式会社
全固体電池の製造方法および電池製造装置
3日前
カナデビア株式会社
線形摩擦接合方法および線形摩擦接合装置
4日前
カナデビア株式会社
吸収転換触媒及び炭化水素化合物の製造方法
1か月前
カナデビア株式会社
診断装置、診断方法、および診断プログラム
1か月前
カナデビア株式会社
情報処理装置、学習方法、および学習プログラム
5日前
カナデビア株式会社
情報処理装置、学習方法、および学習プログラム
2日前
カナデビア株式会社
全固体電池の製造方法、および、全固体電池の製造装置
2か月前
カナデビア株式会社
異常検知システム、異常検知方法、及び制御プログラム
13日前
カナデビア株式会社
樹脂シートの押出成形装置及び樹脂シートの押出成形方法
1か月前
カナデビア株式会社
制御装置、水電解システム、制御方法および制御プログラム
3日前
カナデビア株式会社
情報処理装置、情報処理プログラム、情報処理システムおよび情報端末装置
2日前
カナデビア株式会社
情報処理装置、形状差分モデルの生成方法、推定方法、および推定プログラム
2か月前
カナデビア株式会社
スケジュール管理装置、スケジュール管理方法、及びスケジュール管理プログラム
11日前
国立大学法人 奈良先端科学技術大学院大学
データ作成システムおよびデータ作成方法
23日前
個人
フレキシブル電気化学素子
2日前
日本発條株式会社
積層体
13日前
ローム株式会社
半導体装置
9日前
ローム株式会社
半導体装置
11日前
ローム株式会社
半導体装置
11日前
ローム株式会社
半導体装置
4日前
ローム株式会社
半導体装置
11日前
個人
防雪防塵カバー
13日前
株式会社ユーシン
操作装置
2日前
太陽誘電株式会社
全固体電池
9日前
オムロン株式会社
電磁継電器
3日前
株式会社GSユアサ
蓄電装置
9日前
個人
半導体パッケージ用ガラス基板
12日前
株式会社ホロン
冷陰極電子源
9日前
株式会社GSユアサ
蓄電装置
13日前
続きを見る
他の特許を見る