TOP
|
特許
|
意匠
|
商標
特許ウォッチ
Twitter
他の特許を見る
公開番号
2025148652
公報種別
公開特許公報(A)
公開日
2025-10-08
出願番号
2024048881
出願日
2024-03-26
発明の名称
非接触受電装置および非接触電力伝送システム
出願人
長野日本無線株式会社
代理人
個人
主分類
H02J
50/10 20160101AFI20251001BHJP(電力の発電,変換,配電)
要約
【課題】小型化を図りつつ、受電時における発熱に起因する破損や動作不良を好適に回避し得る非接触受電装置を提供する。
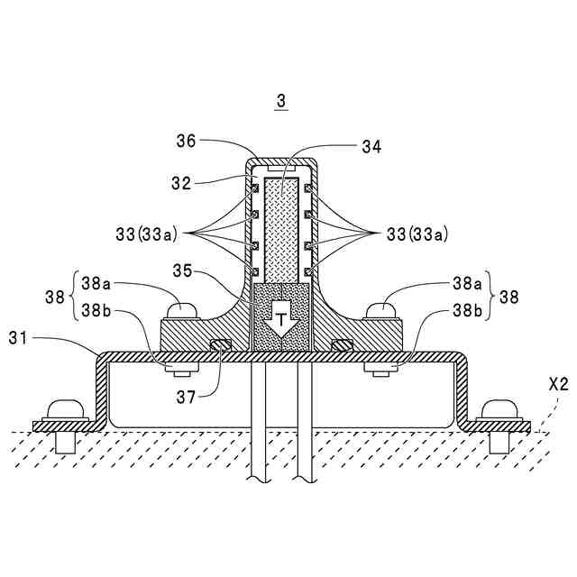
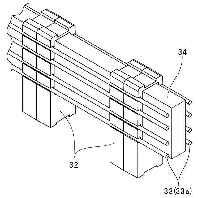
【解決手段】受電用コイル33、受電用コイル33に挿通させられたコア34、および受電用コイル33を支持する基台31を備えた非接触受電装置3であって、コア34を基台31に対して離間させた状態で支持すると共に、受電用コイル33をコア34に対して離間させた状態で支持する支持部材32と、基台31に固定されると共に、受電用コイル33およびコア34を覆うカバー36と、絶縁性材料で形成されると共に、受電用コイル33に接することなくコア34と基台31との間に配設されてコア34の熱を基台31に伝熱する伝熱部材35とを備えている。
【選択図】図6
特許請求の範囲
【請求項1】
受電用コイル、当該受電用コイルに挿通させられたコア、および当該受電用コイルを支持する基台を備えた非接触受電装置であって、
前記コアを前記基台に対して離間させた状態で支持する第1の支持部材と、
前記受電用コイルを前記コアに対して離間させた状態で支持する第2の支持部材と、
前記基台に固定されると共に、前記受電用コイルおよび前記コアを覆うカバーと、
絶縁性材料で形成されると共に、前記受電用コイルに接することなく前記コアと前記基台との間に配設されて当該コアの熱を当該基台に伝熱する伝熱部材とを備えている非接触受電装置。
続きを表示(約 250 文字)
【請求項2】
前記伝熱部材は、弾性材料で形成されると共に、圧縮変形させられた状態で前記コアと前記基台との間に配設されている請求項1記載の非接触受電装置。
【請求項3】
前記基台は、金属で形成されている請求項1記載の非接触受電装置。
【請求項4】
前記基台は、金属で形成されている請求項2記載の非接触受電装置。
【請求項5】
請求項1から4のいずれかに記載の非接触受電装置と、送電用コイルを有する非接触送電装置とを備えた非接触電力伝送システム。
発明の詳細な説明
【技術分野】
【0001】
本発明は、受電用コイルを備えて構成された非接触受電装置、および、そのような非接触受電装置を備えて構成された非接触電力伝送システムに関するものである。
続きを表示(約 2,400 文字)
【背景技術】
【0002】
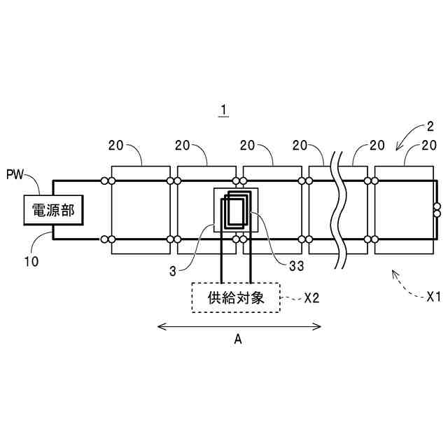
この種の非接触受電装置を備えた非接触電力伝送システムとして、移動体に対する非接触給電(非接触電力伝送)が可能なレール式非接触電力伝送システム(以下、単に「電力伝送システム」ともいう)が下記の特許文献に開示されている。この電力伝送システムは、一例として、床面や天井などに設置されたレールの案内に従って移動する搬送車や扉などの移動体に対して電力を供給可能に構成されている。具体的には、この電力伝送システムは、レールの一端側に配設された送電電源、レールの延伸方向に沿って配置されたコイル部材(レール式非接触電力伝送モジュール:以下、単に「電力伝送モジュール」ともいう)、およびレールの他端側に配設された短絡回路などで構成される送電回路と、移動体に取り付けられると共に送電回路から送電される電力を受電して移動体に伝送する受電コイル(受電回路)とを備えている。
【0003】
この場合、上記の電力伝送モジュールは、往復分のコイル部材、および両コイル部材に対して直列接続されたコンデンサを備えている。また、この電力伝送システムでは、複数の電力伝送モジュールがレールの延在方向に沿って連結されると共に、各電力伝送モジュールにおけるコイル部材および短絡回路によって1ループの送電コイルが形成されている。また、この電力伝送システムでは、受電コイルが移動体に取り付けられた状態で送電コイル内に配置され、送電コイル(レール)に対して受電コイルが移動体と共に移動させられる構成が採用されている。これにより、この電力伝送システムでは、レールの延伸方向(すなわち、送電回路の延在方向)に沿って移動する移動体に対して受電コイルによって電力を伝送(供給)することが可能となっている。
【先行技術文献】
【特許文献】
【0004】
特開2019-187060号公報(第4-8頁、第1-6図)
【発明の概要】
【発明が解決しようとする課題】
【0005】
ところが、上記特許文献に開示されている電力伝送システム(非接触電力伝送システム)、およびその受電コイル(非接触受電装置)には、以下のような改善すべき課題が存在する。
【0006】
具体的には、出願人は、上記特許文献に開示の電力伝送システムの構成を採用した試験装置を製作し、レールの案内に従って自走する搬送車に対する給電を試みた。この場合、この種の電力伝送システムの導入に際しては、他の設備の存在や、設置場所の構造的な制約により、電力伝送システムを設置するための広い設置スペースを確保するのが困難となることがある。また、移動体と共に移動させられる非接触受電装置(受電コイル等)が過剰に大きいと、移動体と共に非接触受電装置を移動させるのに要する電力量が増加する結果、非接触受電装置を介して移動体に給電した電力の一部が無駄に消費されることとなる。このため、この種の電力伝送システムの実用化においては、構成要素の小型化が必要となっている。
【0007】
したがって、出願人が試作した試験装置では、送受電効率の向上を図るべく、送電周波数がMHz帯の高周波を使用すると共に、非接触受電装置による受電効率の向上を図るべく、受電用コイル内に磁性コアを配設することで、非接触電力伝送システムおよび非接触受電装置の小型化を実現した。また、出願人は、試験装置の試作にあたり、送電用コイルや受電用コイルに対する異物(塵埃や水分等)の付着に起因する伝送効率の低下、および感電事故の発生などを回避する必要があることから、送電用コイルを絶縁性材料(樹脂材料等)でモールドすると共に、受電用コイルやコアを絶縁性材料で形成されたカバーで覆った。これにより、試験装置では、実用化が可能な程度に十分に小型化され、かつ十分な安全性が確保された。
【0008】
しかしながら、この種の非接触電力伝送システムによる電力の伝送時には、受電用コイルやコアが発熱するが、上記の試験装置における非接触受電装置のようにコイルやコアがカバーによって覆われている状態においては、この熱を外部に放熱するのが困難であることから過剰な温度上昇を招いてしまう。この結果、構成部品の破損を招いたり、コアにおける損失が増加して受電効率が低下したりするおそれがある。特に、上記のような高周波を使用する構成においては、コアの発熱が顕著となる。ここで、上記の試験装置における非接触受電装置では、非接触送電装置からの受電の妨げとなるヒートシンク等の放熱器を発熱体(コイルやコア)取り付けることができない。また、一般的な電子機器においては、カバー(ケーシング)内に存在する要素の過剰な温度上昇を回避するときに、発熱体の周囲において好適な対流現象を生じさせるようにカバーの容積を大きくする手法を採用することができるが、受電コイルを送電コイルに対して十分に接近させる必要がある非接触受電装置においては、そのような手法によってコイルやコアの発熱の課題を解決することはできない。
【0009】
なお、コア等の発熱に起因する上記の課題は、上記の試験装置のように高周波を使用する装置に限らず、防塵・防水のためにコイルやコアをカバーで覆う構成を採用したときには、同様の課題が生じる。
【0010】
本発明は、かかる改善すべき課題を解決すべくなされたものであり、小型化を図りつつ、受電時における発熱に起因する破損や動作不良を回避し得る非接触受電装置および非接触電力伝送システムを提供することを主目的とする。
【課題を解決するための手段】
(【0011】以降は省略されています)
この特許をJ-PlatPat(特許庁公式サイト)で参照する
関連特許
長野日本無線株式会社
コネクタ部品の接続方法及び装置
2か月前
長野日本無線株式会社
非接触送電装置および非接触電力伝送システム
19日前
長野日本無線株式会社
非接触受電装置および非接触電力伝送システム
27日前
長野日本無線株式会社
非接触受電装置および非接触電力伝送システム
27日前
個人
単極モータ
21日前
キヤノン電子株式会社
モータ
5日前
株式会社アイシン
ロータ
25日前
株式会社アイシン
ロータ
21日前
西部電機株式会社
充電装置
28日前
日星電気株式会社
ケーブル組立体
13日前
コーセル株式会社
電源装置
6日前
日本精機株式会社
サージ保護回路
28日前
西部電機株式会社
充電装置
28日前
トヨタ自動車株式会社
回転子
1か月前
トヨタ自動車株式会社
固定子
26日前
株式会社デンソー
回転機
19日前
トヨタ自動車株式会社
製造装置
26日前
個人
連続ガウス加速器形磁力増幅装置
28日前
株式会社ダイヘン
充電装置
25日前
株式会社アイシン
ステータ
25日前
株式会社アイシン
ステータ
25日前
株式会社ミツバ
ブラシレスモータ
27日前
東京瓦斯株式会社
通信装置
27日前
株式会社アイシン
ステータ
25日前
株式会社アイシン
ステータ
25日前
個人
太陽エネルギー収集システム
26日前
株式会社ダイヘン
充電装置
25日前
株式会社ダイヘン
充電装置
25日前
カヤバ株式会社
筒型リニアモータ
27日前
株式会社ダイヘン
充電装置
25日前
個人
二次電池繰返パルス放電器用印刷基板
11日前
ニチコン株式会社
AC入力検出回路
1か月前
トヨタ自動車株式会社
被膜形成装置
26日前
株式会社kaisei
発電システム
21日前
株式会社ダイヘン
電力システム
28日前
株式会社デンソー
電力変換装置
1か月前
続きを見る
他の特許を見る