TOP
|
特許
|
意匠
|
商標
特許ウォッチ
Twitter
他の特許を見る
10個以上の画像は省略されています。
公開番号
2025148653
公報種別
公開特許公報(A)
公開日
2025-10-08
出願番号
2024048882
出願日
2024-03-26
発明の名称
非接触受電装置および非接触電力伝送システム
出願人
長野日本無線株式会社
代理人
個人
主分類
H01F
38/14 20060101AFI20251001BHJP(基本的電気素子)
要約
【課題】小型化を図りつつ、その製造コストを十分に低減し得る非接触受電装置を提供する。
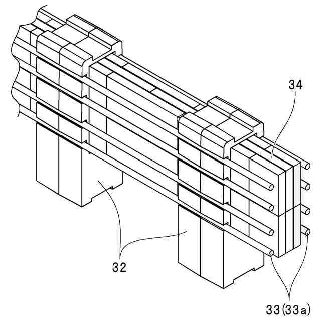
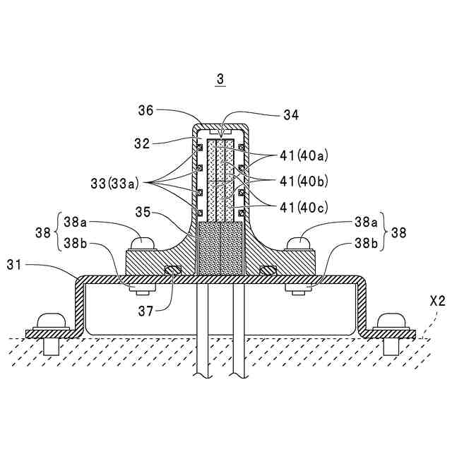
【解決手段】受電用コイル33、および受電用コイル33に挿通させられた長尺のコア34を備え、コア34は、短辺の長さと長辺の長さとの比が1対N(Nは、2以上の自然数)の矩形状の複数の磁性体片41,41・・を備え、少なくともコア34の長尺方向において複数の磁性体片41,41・・が並んだ状態で互いに位置決めされて構成されている。また、コア34は、短辺の長さと長辺の長さとの比が1対N(Nは、2以上の自然数)の矩形状に形成されている。
【選択図】図6
特許請求の範囲
【請求項1】
受電用コイル、および当該受電用コイルに挿通させられた長尺のコアを備えた非接触受電装置であって、
前記コアは、矩形状の複数の磁性体片を備え、少なくとも当該コアの前記長尺方向において当該複数の磁性体片が並んだ状態で互いに位置決めされて構成されている非接触受電装置。
続きを表示(約 530 文字)
【請求項2】
前記磁性体片は、短辺の長さと長辺の長さとの比が1対N(Nは、2以上の自然数)の矩形状に形成されている請求項1記載の非接触受電装置。
【請求項3】
前記コアは、少なくとも前記長尺方向において並んだ前記複数の磁性体片で構成される磁性体層が複数積層された状態で互いに位置決めされて構成されている請求項1記載の非接触受電装置。
【請求項4】
前記コアは、いずれかの前記磁性体層において前記長尺方向で隣合う2つの前記磁性体片の双方に対して他のいずれかの前記磁性体層における前記磁性体片が当該両磁性体層の積層方向で重なるように形成されている請求項3記載の非接触受電装置。
【請求項5】
前記コアは、前記各磁性体層が両面粘着シートで貼り合わされて互いに位置決めされている請求項3記載の非接触受電装置。
【請求項6】
前記コアは、前記各磁性体層が両面粘着シートで貼り合わされて互いに位置決めされている請求項4記載の非接触受電装置。
【請求項7】
請求項1から6のいずれかに記載の非接触受電装置と、送電用コイルを有する非接触送電装置とを備えた非接触電力伝送システム。
発明の詳細な説明
【技術分野】
【0001】
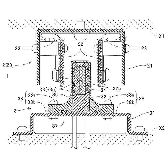
本発明は、受電用コイルを備えて構成された非接触受電装置、および、そのような非接触受電装置を備えて構成された非接触電力伝送システムに関するものである。
続きを表示(約 2,400 文字)
【背景技術】
【0002】
この種の非接触受電装置を備えた非接触電力伝送システムとして、移動体に対する非接触給電(非接触電力伝送)が可能なレール式非接触電力伝送システム(以下、単に「電力伝送システム」ともいう)が下記の特許文献に開示されている。この電力伝送システムは、一例として、床面や天井などに設置されたレールの案内に従って移動する搬送車や扉などの移動体に対して電力を供給可能に構成されている。具体的には、この電力伝送システムは、レールの一端側に配設された送電電源、レールの延伸方向に沿って配置されたコイル部材(レール式非接触電力伝送モジュール:以下、単に「電力伝送モジュール」ともいう)、およびレールの他端側に配設された短絡回路などで構成される送電回路と、移動体に取り付けられると共に送電回路から送電される電力を受電して移動体に伝送する受電コイル(受電回路)とを備えている。
【0003】
この場合、上記の電力伝送モジュールは、往復分のコイル部材、および両コイル部材に対して直列接続されたコンデンサを備えている。また、この電力伝送システムでは、複数の電力伝送モジュールがレールの延在方向に沿って連結されると共に、各電力伝送モジュールにおけるコイル部材および短絡回路によって1ループの送電コイルが形成されている。また、この電力伝送システムでは、受電コイルが移動体に取り付けられた状態で送電コイル内に配置され、送電コイル(レール)に対して受電コイルが移動体と共に移動させられる構成が採用されている。これにより、この電力伝送システムでは、レールの延伸方向(すなわち、送電回路の延在方向)に沿って移動する移動体に対して受電コイルによって電力を伝送(供給)することが可能となっている。
【先行技術文献】
【特許文献】
【0004】
特開2019-187060号公報(第4-8頁、第1-6図)
【発明の概要】
【発明が解決しようとする課題】
【0005】
ところが、上記特許文献に開示されている電力伝送システム(非接触電力伝送システム)、およびその受電コイル(非接触受電装置)には、以下のような改善すべき課題が存在する。
【0006】
具体的には、出願人は、上記特許文献に開示の電力伝送システムの構成を採用した試験装置を製作し、レールの案内に従って自走する搬送車に対する給電を試みた。この場合、この種の電力伝送システムの導入に際しては、他の設備の存在や、設置場所の構造的な制約により、電力伝送システムを設置するための広い設置スペースを確保するのが困難となることがある。また、移動体と共に移動させられる非接触受電装置(受電コイル等)が過剰に大きいと、移動体と共に非接触受電装置を移動させるのに要する電力量が増加する結果、非接触受電装置を介して移動体に給電した電力の一部が無駄に消費されることとなる。このため、この種の電力伝送システムの実用化においては、構成要素の小型化が必要となっている。しかしながら、各構成要素を単純に小型化したときには、電力の伝送効率が低下する。
【0007】
したがって、出願人が試作した試験装置では、受電用コイル内に磁性コアを配設したうえで導線(巻線)の巻回数を減らすと共に、送電用コイルの導線(巻線)と受電用コイルの導線(巻線)とが十分に接近した状態となるように構成することで、伝送効率の低下を招くことなく各構成要素の小型化を図っている。この場合、レールの延在方向に沿って配設された送電用コイルに対して移動体と共に受電用コイルが移動させられる電力伝送システム(給電に際して送電用コイルに対する受電用コイルの位置が変動する電力伝送システム)では、送電用コイルがレールに沿って長い長丸状となっている。また、伝送効率の向上を図るべく、受電用コイルの導線(巻線)の全長において、送電用コイルの導線(巻線)に対して十分に接近した状態となる部位を長くする(磁界の結合に寄与しない部位の長さを短くする)には、受電用コイルについても送電用コイルの延在方向に沿った長丸状とする必要がある。したがって、受電用コイル内に挿入するコアについては、受電用コイルの巻形に合わせて長尺とするのが好ましい。
【0008】
しかしながら、長尺のコアは、割れや歪み(曲がり)が生じないように製造するのが困難であることから、短尺のコアと比較して、その製造コストが高騰する。また、この種の電力伝送システムでは、求められる仕様(給電すべき電力量や、許容される設置スペースの制限)によって受電コイルの巻径や巻数が異なるため、受電用コイルに挿入するコアについても、その大きさや形状を受電用コイルに合わせて変更する必要がある。このため、求められる仕様に応じた各種の電力伝送システムを提供するには、大きさや形状が異なる各種のコアを製造する必要があり、コアの製造コストの低減が困難となる。
【0009】
このように、出願人が試作した試験装置の構成では、受電用コイル内に磁性コアを配設したうえで導線(巻線)の巻回数を減らすことで伝送効率の低下を招くことなく小型化することができたものの、長尺のコアの製造コストの低減が困難であることから、この試験装置の構成を採用した非接触電力伝送システムの製造コストの低減が困難となっているため、この点を改善するのが好ましい。
【0010】
本発明は、かかる改善すべき課題を解決すべくなされたものであり、小型化を図りつつ、その製造コストを十分に低減し得る非接触受電装置および非接触電力伝送システムを提供することを主目的とする。
【課題を解決するための手段】
(【0011】以降は省略されています)
この特許をJ-PlatPat(特許庁公式サイト)で参照する
関連特許
長野日本無線株式会社
非接触送電装置および非接触電力伝送システム
1か月前
長野日本無線株式会社
非接触受電装置および非接触電力伝送システム
1か月前
東ソー株式会社
絶縁電線
27日前
APB株式会社
蓄電セル
25日前
個人
フレキシブル電気化学素子
1か月前
ローム株式会社
半導体装置
1か月前
マクセル株式会社
電源装置
19日前
ローム株式会社
半導体装置
26日前
株式会社ユーシン
操作装置
1か月前
日新イオン機器株式会社
イオン源
1か月前
株式会社東芝
端子台
19日前
株式会社GSユアサ
蓄電装置
20日前
太陽誘電株式会社
コイル部品
1か月前
株式会社GSユアサ
蓄電装置
20日前
オムロン株式会社
電磁継電器
1か月前
三菱電機株式会社
回路遮断器
6日前
株式会社ホロン
冷陰極電子源
1か月前
株式会社GSユアサ
蓄電設備
1か月前
株式会社GSユアサ
蓄電装置
12日前
株式会社GSユアサ
蓄電設備
1か月前
日新イオン機器株式会社
基板処理装置
22日前
トヨタ自動車株式会社
バッテリ
25日前
日東電工株式会社
積層体
1か月前
ノリタケ株式会社
熱伝導シート
1か月前
トヨタ自動車株式会社
冷却構造
27日前
トヨタ自動車株式会社
蓄電装置
1か月前
日本特殊陶業株式会社
保持装置
11日前
北道電設株式会社
配電具カバー
25日前
サクサ株式会社
電池の固定構造
1か月前
トヨタ自動車株式会社
バッテリ
1か月前
日本特殊陶業株式会社
保持装置
28日前
トヨタ自動車株式会社
蓄電装置
20日前
株式会社トクヤマ
シリコンエッチング液
1か月前
トヨタ自動車株式会社
密閉型電池
21日前
株式会社トクヤマ
シリコンエッチング液
1か月前
日本製紙株式会社
導電性フィルム
1か月前
続きを見る
他の特許を見る