TOP
|
特許
|
意匠
|
商標
特許ウォッチ
Twitter
他の特許を見る
10個以上の画像は省略されています。
公開番号
2025157710
公報種別
公開特許公報(A)
公開日
2025-10-16
出願番号
2024059873
出願日
2024-04-03
発明の名称
非接触送電装置および非接触電力伝送システム
出願人
長野日本無線株式会社
代理人
個人
主分類
H02J
50/40 20160101AFI20251008BHJP(電力の発電,変換,配電)
要約
【課題】電力を安定供給可能とする。
【解決手段】送電用コイルの周方向で隣接するコイル形成ユニット20,20のうちの一方におけるコネクタ23b1と他方のコイル形成ユニット20におけるコネクタ23b2とを接続して両コイル形成ユニット20,20の導体パターン22p,22pを相互に接続することで両導体パターン22p,22pを接続する導体路Lが形成されるように接続用部材23(部材23-1,23-2)が構成されると共に、隣接するコイル形成ユニット20,20の一方における導体パターン22pと導体路Lの部位P2における中央部位との距離が、その導体パターン22pと部位P4における中央部位との距離よりも長くなり、他方のコイル形成ユニット20における導体パターン22pと導体路Lの部位P7における中央部位との距離がその導体パターン22pと部位P5における中央部位との距離よりも長くなるように形成されている。
【選択図】図10
特許請求の範囲
【請求項1】
送電用コイル、および当該送電用コイルが固定された基台を備えた非接触送電装置であって、
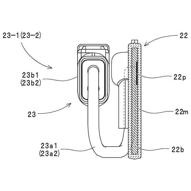
前記送電用コイルの周方向における一部を構成する直線状の導体パターンが形成されたコイル用基板を備えると共に当該コイル用基板が前記基台に固定されたコイル形成ユニットを複数備え、当該各コイル形成ユニットが前記周方向に沿って配設されると共に、当該各コイル形成ユニットにおける前記コイル用基板の前記導体パターンが接続用部材を介して相互に接続されて構成され、
前記接続用部材は、前記導体パターンの長手方向における一端部に基端部が接続された第1ケーブル、および当該第1ケーブルの先端部に接続された第1コネクタを有する第1部材と、前記導体パターンの前記長手方向における他端部に基端部が接続された第2ケーブル、および当該第2ケーブルの先端部に接続された第2コネクタを有する第2部材とを備え、
前記周方向で隣接する前記コイル形成ユニットのうちの一方のコイル形成ユニットにおける前記第1コネクタと当該隣接するコイル形成ユニットのうちの他方のコイル形成ユニットにおける前記第2コネクタとを接続することによって当該一方のコイル形成ユニットにおける前記導体パターンと当該他方のコイル形成ユニットにおける前記導体パターンとを相互に接続した状態において、当該一方のコイル形成ユニットにおける前記第1部材と当該他方のコイル形成ユニットにおける前記第2部材とで構成される導体路が、
前記一方のコイル形成ユニットにおける前記コイル用基板の基板面に沿ってそれぞれ位置する部位であって、前記第1ケーブルの前記基端部と当該コイル用基板の前記導体パターンから離間する向きに沿って当該基端部から離間する先端部側部位との間の第1部位、当該第1部位の前記先端部側部位と前記導体パターンの前記他端部に接近する向きに沿って当該先端部側部位から離間する先端部側部位との間の第2部位、当該第2部位の前記先端部側部位と前記導体パターンに対して接近する向きに沿って当該先端部側部位から離間する先端部側部位との間の第3部位、および当該第3部位の前記先端部側部位と前記導体パターンの前記一端部に接近する向きに沿って当該先端部側部位から離間する先端部側部位との間の第4部位と、
前記他方のコイル形成ユニットにおける前記コイル用基板の基板面に沿ってそれぞれ位置する部位であって、前記第4部位の前記先端部側部位と前記導体パターンの前記一端部に接近する向きに沿って当該先端部側部位から離間する先端部側部位との間の第5部位、当該第5部位の前記先端部側部位と前記導体パターンから離間する向きに沿って当該先端部側部位から離間する先端部側部位との間の第6部位、当該第6部位の前記先端部側部位と前記導体パターンの前記他端部に接近する向きに沿って当該先端部側部位から離間する先端部側部位との間の第7部位、および当該第7部位の前記先端部側部位と前記導体パターンに対して接近する向きに沿って当該先端部側部位から離間する前記第2ケーブルの前記基端部との間の第8部位とを備えると共に、
前記一方のコイル形成ユニットにおける前記導体パターンと前記第2部位における中央部位との距離が当該導体パターンと前記第4部位における中央部位との距離よりも長くなり、かつ前記他方のコイル形成ユニットにおける前記導体パターンと前記第7部位における中央部位との距離が当該導体パターンと前記第5部位における中央部位との距離よりも長くなるように形成されている非接触送電装置。
続きを表示(約 400 文字)
【請求項2】
前記コイル形成ユニットは、前記周方向に沿って配設されて1つの前記基台に固定された複数の前記コイル用基板を備えて構成されると共に、隣接する当該コイル用基板の前記導体パターンが前記接続用部材によって相互に接続されている請求項1記載の非接触送電装置。
【請求項3】
前記コイル形成ユニットは、前記基板面が平行となるように対向配置されて1つの前記基台に固定された複数の前記コイル用基板を備えている請求項1記載の非接触送電装置。
【請求項4】
前記コイル形成ユニットは、前記基板面が平行となるように対向配置されて1つの前記基台に固定された複数の前記コイル用基板を備えている請求項2記載の非接触送電装置。
【請求項5】
請求項1から4のいずれかに記載の非接触送電装置と、受電用コイルを有する非接触受電装置とを備えた非接触電力伝送システム。
発明の詳細な説明
【技術分野】
【0001】
本発明は、複数のコイル形成ユニットが接続されて構成された送電用コイルを有する非接触送電装置、および、そのような非接触送電装置を備えて構成された非接触電力伝送システムに関するものである。
続きを表示(約 3,600 文字)
【背景技術】
【0002】
この種の非接触送電装置を備えた非接触電力伝送システムとして、移動体に対する非接触給電(非接触電力伝送)が可能なレール式非接触電力伝送システム(以下、単に「電力伝送システム」ともいう)が下記の特許文献に開示されている。この電力伝送システムは、一例として、床面や天井などに設置されたレールの案内に従って移動する搬送車や扉などの移動体に対して電力を供給可能に構成されている。具体的には、この電力伝送システムは、レールの一端側に配設された送電電源、レールの延伸方向に沿って配置されたコイル部材(レール式非接触電力伝送モジュール:以下、単に「電力伝送モジュール」ともいう)、およびレールの他端側に配設された短絡回路などで構成される送電回路(送電用コイル)と、移動体に取り付けられると共に送電回路から送電される電力を受電して移動体に伝送する受電コイル(受電回路)とを備えている。
【0003】
この場合、上記の電力伝送モジュールは、往復分のコイル部材、および両コイル部材に対して直列接続されたコンデンサを備えている。また、この電力伝送システムでは、複数の電力伝送モジュールがレールの延在方向に沿って連結されると共に、各電力伝送モジュールにおけるコイル部材および短絡回路によって1ループの送電コイルが形成されている。また、この電力伝送システムでは、受電コイルが移動体に取り付けられた状態で送電コイル内に配置され、送電コイル(レール)に対して受電コイルが移動体と共に移動させられる構成が採用されている。これにより、この電力伝送システムでは、レールの延伸方向(すなわち、送電回路の延在方向)に沿って移動する移動体に対して受電コイルによって電力を伝送(供給)することが可能となっている。
【先行技術文献】
【特許文献】
【0004】
特開2019-187060号公報(第4-8頁、第1-6図)
【発明の概要】
【発明が解決しようとする課題】
【0005】
ところが、上記特許文献に開示されている電力伝送システム(非接触電力伝送システム)、およびその送電用コイル(送電回路:非接触送電装置)には、以下のような改善すべき課題が存在する。
【0006】
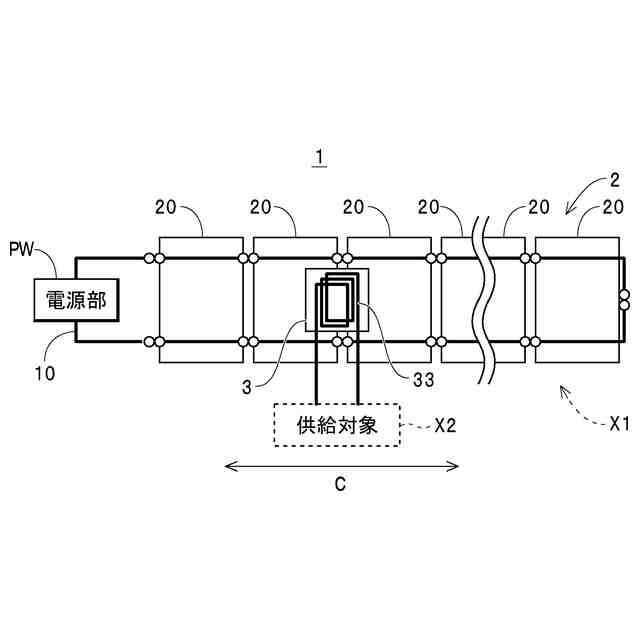
具体的には、上記の電力伝送システムでは、基板上の導体性パターン(導体パターン)で構成されたコイル部材を有する電力伝送モジュールを複数備え、電力の供給対象である移動体を移動させるべき範囲内に各電力伝送モジュールを並べて配置して各コイル部材を接続することで、非接触送電装置(送電用コイル)が形成されるように構成されている。この場合、この電力伝送システムにおける非接触送電装置では、隣接する電力伝送モジュールにおけるコイル部材が、引っ掛け型の端子、汎用の配線、または導電性のテープなどで構成された接続部によって接続されると共に、末端に配置された電力伝送モジュールのコイル部材に短絡回路が接続されることで、1ループの送電用コイルが形成されている。
【0007】
一方、この種の電力伝送システムにおいて、非接触送電装置から非接触受電装置に対して効率良く電力を伝送するには、伝送時に送電用コイルの周囲に発生する磁界(磁束)の向きを考慮して送電用コイルに対する受電用コイルの位置や姿勢を規定する必要がある。この場合、各電力伝送モジュールにおける基板上の導体パターン(コイル部材)が接続部によって接続されることによって送電用コイルが形成されている上記の非接触送電装置では、採用される接続部の種類によっては、導体パターンを流れる電流の向き(導体パターンの延在方向)と、接続部を流れる電流の向き(接続部を構成する端子、配線および導体パターンの延在方向)とが同一方向とはならず、これにより、導体パターンを電流が流れることで発生する磁界(磁束)の向きと、接続部を電流が流れることで発生する磁界(磁束)の向きとが相違する状態となることがある。
【0008】
このような構成では、レールに沿って移動体(供給対象)と共に受電用コイルを移動させたときに、受電用コイルが導体パターンの長手方向における中央部に位置しているとき(接続部から離間しているとき)と、受電用コイルが接続部の近傍に位置しているとき(導体パターンの端部に位置しているとき)とで、受電コイルにおける磁界の結合の度合いが相違し、受電用コイルに生じる誘導起電力が相違することとなる。この結果、移動体の位置(すなわち、送電用コイルに対する受電用コイルの位置)によって電力の伝送効率が変化するため、移動体(供給対象)に対して安定して電力を供給するのが困難となる。したがって、この点を解決する必要がある。
【0009】
本発明は、かかる解決すべき課題を解決すべくなされたものであり、送電用コイルに対する受電用コイルの位置によらず、供給対象に対して電力を安定供給可能な非接触送電装置および非接触電力伝送システムを提供することを主目的とする。
【課題を解決するための手段】
【0010】
本発明に係る非接触送電装置は、送電用コイル、および当該送電用コイルが固定された基台を備えた非接触送電装置であって、前記送電用コイルの周方向における一部を構成する直線状の導体パターンが形成されたコイル用基板を備えると共に当該コイル用基板が前記基台に固定されたコイル形成ユニットを複数備え、当該各コイル形成ユニットが前記周方向に沿って配設されると共に、当該各コイル形成ユニットにおける前記コイル用基板の前記導体パターンが接続用部材を介して相互に接続されて構成され、前記接続用部材は、前記導体パターンの長手方向における一端部に基端部が接続された第1ケーブル、および当該第1ケーブルの先端部に接続された第1コネクタを有する第1部材と、前記導体パターンの前記長手方向における他端部に基端部が接続された第2ケーブル、および当該第2ケーブルの先端部に接続された第2コネクタを有する第2部材とを備え、前記周方向で隣接する前記コイル形成ユニットのうちの一方のコイル形成ユニットにおける前記第1コネクタと当該隣接するコイル形成ユニットのうちの他方のコイル形成ユニットにおける前記第2コネクタとを接続することによって当該一方のコイル形成ユニットにおける前記導体パターンと当該他方のコイル形成ユニットにおける前記導体パターンとを相互に接続した状態において、当該一方のコイル形成ユニットにおける前記第1部材と当該他方のコイル形成ユニットにおける前記第2部材とで構成される導体路が、前記一方のコイル形成ユニットにおける前記コイル用基板の基板面に沿ってそれぞれ位置する部位であって、前記第1ケーブルの前記基端部と当該コイル用基板の前記導体パターンから離間する向きに沿って当該基端部から離間する先端部側部位との間の第1部位、当該第1部位の前記先端部側部位と前記導体パターンの前記他端部に接近する向きに沿って当該先端部側部位から離間する先端部側部位との間の第2部位、当該第2部位の前記先端部側部位と前記導体パターンに対して接近する向きに沿って当該先端部側部位から離間する先端部側部位との間の第3部位、および当該第3部位の前記先端部側部位と前記導体パターンの前記一端部に接近する向きに沿って当該先端部側部位から離間する先端部側部位との間の第4部位と、前記他方のコイル形成ユニットにおける前記コイル用基板の基板面に沿ってそれぞれ位置する部位であって、前記第4部位の前記先端部側部位と前記導体パターンの前記一端部に接近する向きに沿って当該先端部側部位から離間する先端部側部位との間の第5部位、当該第5部位の前記先端部側部位と前記導体パターンから離間する向きに沿って当該先端部側部位から離間する先端部側部位との間の第6部位、当該第6部位の前記先端部側部位と前記導体パターンの前記他端部に接近する向きに沿って当該先端部側部位から離間する先端部側部位との間の第7部位、および当該第7部位の前記先端部側部位と前記導体パターンに対して接近する向きに沿って当該先端部側部位から離間する前記第2ケーブルの前記基端部との間の第8部位とを備えると共に、前記一方のコイル形成ユニットにおける前記導体パターンと前記第2部位における中央部位との距離が当該導体パターンと前記第4部位における中央部位との距離よりも長くなり、かつ前記他方のコイル形成ユニットにおける前記導体パターンと前記第7部位における中央部位との距離が当該導体パターンと前記第5部位における中央部位との距離よりも長くなるように形成されている。
(【0011】以降は省略されています)
この特許をJ-PlatPat(特許庁公式サイト)で参照する
関連特許
個人
電気を重力で発電装置
11日前
キヤノン電子株式会社
モータ
18日前
キヤノン電子株式会社
モータ
10日前
日星電気株式会社
ケーブル組立体
26日前
コーセル株式会社
電源装置
19日前
トヨタ自動車株式会社
モータ
10日前
株式会社デンソー
回転機
1か月前
個人
二次電池繰返パルス放電器用印刷基板
24日前
株式会社デンソー
電力変換装置
25日前
株式会社デンソー
電力変換装置
1か月前
株式会社ミツバ
回転電機
1か月前
株式会社デンソー
非接触受電装置
27日前
トヨタ自動車株式会社
固定子の加熱装置
21日前
株式会社ダイヘン
インバータ装置
1か月前
ローム株式会社
モータドライバ回路
5日前
トヨタ自動車株式会社
ステータの製造装置
11日前
日産自動車株式会社
ロータシャフト
5日前
日産自動車株式会社
ロータシャフト
5日前
山洋電気株式会社
モータ
24日前
個人
非対称鏡像力を有する4層PWB電荷搬送体
5日前
トヨタ紡織株式会社
ロータの製造装置
19日前
株式会社明治ゴム化成
ワイヤレス給電用部品
20日前
トヨタ自動車株式会社
可変界磁ロータ
13日前
株式会社アイシン
電力変換装置
10日前
株式会社TMEIC
電力変換装置
1か月前
個人
電線盗難防止方法及び電線盗難防止装置
18日前
株式会社マキタ
電動作業機
18日前
株式会社豊田自動織機
電力供給システム
10日前
ニデック株式会社
回転電機
10日前
トヨタ自動車株式会社
車両照合システム
18日前
ルネサスエレクトロニクス株式会社
半導体装置
10日前
大阪瓦斯株式会社
充放電中継装置
11日前
大阪瓦斯株式会社
充放電中継装置
11日前
豊田合成株式会社
車両用非接触充電装置
10日前
株式会社ダイフク
非接触給電設備
26日前
大和ハウス工業株式会社
電力供給システム
1か月前
続きを見る
他の特許を見る