TOP
|
特許
|
意匠
|
商標
特許ウォッチ
Twitter
他の特許を見る
10個以上の画像は省略されています。
公開番号
2025147485
公報種別
公開特許公報(A)
公開日
2025-10-07
出願番号
2024047750
出願日
2024-03-25
発明の名称
収納箱の扉の係止構造
出願人
河村電器産業株式会社
代理人
弁理士法人信栄事務所
主分類
E05C
9/04 20060101AFI20250930BHJP(錠;鍵;窓または戸の付属品;金庫)
要約
【課題】一対の扉の閉状態をより強固に固定することのできる収納箱の扉の係止構造を提供する。
【解決手段】収納箱100は、筐体10と、筐体10に取り付けられた、観音開き式の一対の扉50とを備え、扉50の左扉51は、開閉操作部62と、開閉操作部62が操作されることにより先端位置が移動可能な鎖錠棒60と、を有し、扉50の右扉52は、鎖錠棒60が貫通可能な右扉側ガイド部83を有し、筐体10は、鎖錠棒60が貫通可能な固定部20を有し、左扉51および右扉52が閉じられた閉状態において、開閉操作部62が操作されることにより、鎖錠棒60の先端位置が移動して、鎖錠棒60が右扉側ガイド部83および固定部20を貫通する。
【選択図】図11
特許請求の範囲
【請求項1】
筐体と、前記筐体に取り付けられた、観音開き式の一対の扉である第1扉および第2扉と、を備える収納箱の扉の係止構造であって、
前記第1扉は、開閉操作部と、前記開閉操作部が操作されることにより先端位置が移動可能な鎖錠棒と、を有し、
前記第2扉は、前記鎖錠棒が貫通可能な第2扉側ガイド部を有し、
前記筐体は、前記鎖錠棒が貫通可能な固定部を有し、
前記第1扉および前記第2扉が閉じられた閉状態において、前記開閉操作部が操作されることにより前記先端位置が移動して、前記鎖錠棒が前記第2扉側ガイド部および前記固定部を貫通する、収納箱の扉の係止構造。
続きを表示(約 620 文字)
【請求項2】
前記第1扉は、前記鎖錠棒が貫通している第1扉側ガイド部を有する、請求項1に記載の収納箱の扉の係止構造。
【請求項3】
前記第2扉は、前記閉状態において前記第1扉側に延在している延在部を有し、
前記第1扉側ガイド部は、前記閉状態において、前記第1扉の背面側に突出し、前記第2扉の前記延在部に当接する、請求項2に記載の収納箱の扉の係止構造。
【請求項4】
前記第2扉側ガイド部は、前記延在部と一体的に形成されている、請求項3に記載の収納箱の扉の係止構造。
【請求項5】
前記鎖錠棒は、第1鎖錠棒と、第2鎖錠棒とを含み、
前記第2扉側ガイド部は、前記第2扉の上部に設けられた第2扉側上ガイド部と、前記第2扉の下部に設けられた第2扉側下ガイド部とを含み、
前記固定部は、前記筐体の上部に設けられた上固定部と、前記筐体の下部に設けられた下固定部とを含み、
前記第1鎖錠棒は、前記閉状態において前記開閉操作部が操作されることにより、前記第1鎖錠棒の先端位置が上方へ移動して、前記第2扉側上ガイド部および前記上固定部を貫通し、
前記第2鎖錠棒は、前記閉状態において前記開閉操作部が操作されることにより、前記第2鎖錠棒の先端位置が下方へ移動して、前記第2扉側下ガイド部および前記下固定部を貫通する、請求項1または請求項2に記載の収納箱の扉の係止構造。
発明の詳細な説明
【技術分野】
【0001】
本開示は、収納箱の扉の係止構造に関する。
続きを表示(約 2,000 文字)
【背景技術】
【0002】
従来、蓄電池や分電盤などを収納する収納箱の扉の係止構造に関する技術が開発されている。例えば、特許文献1には、観音開き式の一対の扉が設けられたキャビネットの扉ロック構造であって、一方の扉に平面ハンドルを設け、他方の扉に、本体の開口部上下端部に係止して扉をロックする鎖錠棒を設け、鎖錠棒の中央に設けられた回動板が、鎖錠棒を伸縮させ、平面ハンドルの背部に設けられてベロが係止する係止片を有する扉ロック構造が開示されている。この扉ロック構造では、鎖錠棒が本体に係止して他方の扉がロック状態にあるときに、一方の扉が閉扉されて平面ハンドルのロック操作が成されると、ベロが係止片に係止して一方の扉もロックされる。
【先行技術文献】
【特許文献】
【0003】
特開2015-200169号公報
【発明の概要】
【発明が解決しようとする課題】
【0004】
ところで、特許文献1に開示されている扉ロック構造では、平面ハンドルを有する一方の扉は、当該扉の中央付近に設けられた回動板によってのみ他方の扉に固定される。このため、一対の扉の閉状態をより強固に固定することのできる構造が求められる。
【課題を解決するための手段】
【0005】
本開示の一側面に係る収納箱の扉の係止構造は、
筐体と、前記筐体に取り付けられた、観音開き式の一対の扉である第1扉および第2扉と、を備える収納箱の扉の係止構造であって、
前記第1扉は、開閉操作部と、前記開閉操作部が操作されることにより先端位置が移動可能な鎖錠棒と、を有し、
前記第2扉は、前記鎖錠棒が貫通可能な第2扉側ガイド部を有し、
前記筐体は、前記鎖錠棒が貫通可能な固定部を有し、
前記第1扉および前記第2扉が閉じられた閉状態において、前記開閉操作部が操作されることにより前記先端位置が移動して、前記鎖錠棒が前記第2扉側ガイド部および前記固定部を貫通する。
【発明の効果】
【0006】
本開示によれば、一対の扉の閉状態をより強固にすることができる。
【図面の簡単な説明】
【0007】
図1は、本開示の実施形態に係る係止構造を有する収納箱の構成を示す斜視図である。
図2は、図1に示す筐体の詳細な構成を示す図である。
図3は、図1に示す左扉の背面の構成を示す図である。
図4は、図3に示す左扉の詳細な構成を示す部分拡大図である。
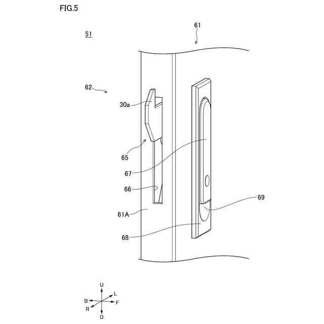
図5は、図4に示す回動板を回動させるための構成を説明するための部分拡大図(その1)である。
図6は、図4に示す回動板を回動させるための構成を説明するための部分拡大図(その2)である。
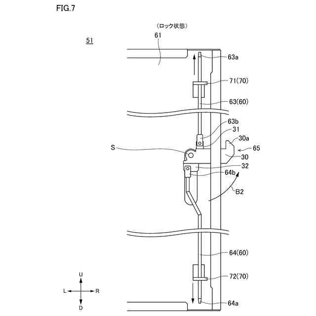
図7は、ロック解除状態からロック状態へ変化する際の第1鎖錠棒および第2鎖錠棒の動きを説明するための図である。
図8は、図1に示す右扉の前面の構成を示す斜視図である。
図9は、図8に示す右扉の詳細な構成を示す部分拡大図である。
図10は、閉状態における右扉側上ガイド部と上固定部との位置関係を示す部分拡大図である。
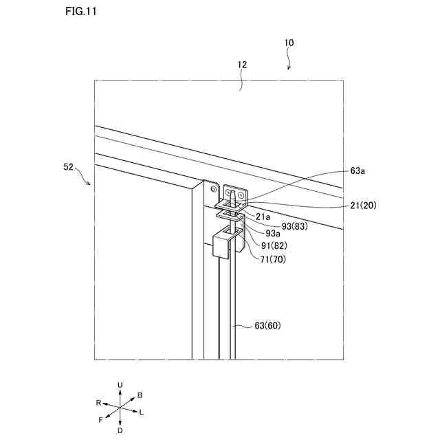
図11は、ロック状態における第1鎖錠棒の位置を説明するための図である。
図12は、ロック状態における第2鎖錠棒の位置を説明するための図である。
【発明を実施するための形態】
【0008】
本開示の収納箱の扉の係止構造の具体例を、以下に図面を参照しつつ説明する。なお、本発明はこれらの例示に限定されるものではなく、特許請求の範囲によって示され、特許請求の範囲と均等の意味および範囲内でのすべての変更が含まれることが意図される。
【0009】
以下の説明では、「前」、「後」、「左」、「右」、「上」および「下」という語句を用いることがあるが、これらの方向は、説明の便宜上、設定された相対的な方向である。各図において、「F」が「前」であり、「B」が「後」であり、「L」が「左」であり、「R」が「右」であり、「U」が「上」であり、「D」が「下」である。
【0010】
[全体構成]
図1は、本開示の実施形態に係る係止構造を有する収納箱100の構成を示す斜視図である。図1に示すように、収納箱100は、分電盤などの電気機器を内部に収納する筐体10と、筐体10の前側に取り付けられた、観音開き式の一対の扉50とを備える。筐体10は、下側に位置する底板11と、上側に位置する天板12と、左側に位置する左側板13と、右側に位置する右側板14と、後側に位置する背面板15とを有する。扉50は、左側板13に連結された左扉(第1扉)51と、右側板14に連結された右扉(第2扉)52とを有する。
(【0011】以降は省略されています)
この特許をJ-PlatPat(特許庁公式サイト)で参照する
関連特許
株式会社ベスト
軸釣装置
18日前
株式会社ソリック
ドア装置
26日前
株式会社セリュール
電子錠、電気錠装置
10日前
トヨタ自動車株式会社
車両
29日前
積水ハウス株式会社
引き戸
1か月前
株式会社ベスト
扉及び個室
1か月前
株式会社セリュール
電子錠、電気錠装置
10日前
コイト電工株式会社
蝶番の取付構造
1か月前
朝日電装株式会社
車両用ロック装置
2日前
株式会社アイシン
ドア支持装置
1か月前
株式会社ベスト
軸釣装置の上吊り手段
10日前
株式会社アイシン
車両用ドア装置
1か月前
スガツネ工業株式会社
上吊式引戸
15日前
株式会社アイシン
車両用ドア装置
1か月前
芝浦電子工業株式会社
遠隔解錠システム
23日前
株式会社アイシン
車両用ドア装置
1か月前
ミネベアショウワ株式会社
引戸用ストライク
25日前
株式会社LIXIL
シリンダ錠
1か月前
富士電機株式会社
制御装置、制御方法
23日前
株式会社アイシン
キックセンサ
15日前
大和ハウス工業株式会社
間仕切り機構
1か月前
トヨタ自動車株式会社
方法
29日前
株式会社アイシン
車両用ドア装置
15日前
ミネベアミツミ株式会社
ドアラッチ装置
1か月前
株式会社ノムラテック
錠装置
2日前
三和シヤッター工業株式会社
建具
1か月前
株式会社アルファ
ハンドル装置
15日前
敷島金属工業株式会社
ダイヤル錠
1か月前
三和シヤッター工業株式会社
錠装置の取付構造
23日前
ショウタイム24株式会社
オートロック解除システム
23日前
日本自動ドア株式会社
自動ドア開閉装置
23日前
日立建機株式会社
作業機械
16日前
株式会社LIXIL
窓用ステー及び開き窓
1か月前
有限会社ヒューマン日商電機
木製ドアストッパー
18日前
株式会社LIXIL
ドア開閉装置及びドア
2日前
スガツネ工業株式会社
ヒンジ装置
1か月前
続きを見る
他の特許を見る