TOP
|
特許
|
意匠
|
商標
特許ウォッチ
Twitter
他の特許を見る
10個以上の画像は省略されています。
公開番号
2025163890
公報種別
公開特許公報(A)
公開日
2025-10-30
出願番号
2024067509
出願日
2024-04-18
発明の名称
錠装置の取付構造
出願人
三和シヤッター工業株式会社
代理人
個人
,
個人
主分類
E05B
9/08 20060101AFI20251023BHJP(錠;鍵;窓または戸の付属品;金庫)
要約
【課題】
耐風圧性能が向上された錠装置の取付構造を提供する。
【解決手段】
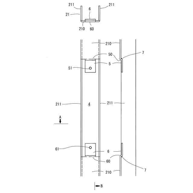
前面プレート31を備えた錠箱30の取付構造において、扉体2の戸先側縦フレーム21の見込壁210の所定部位には開口4が形成されており、開口4の上下に位置して取付片5、6が設けてあり、各取付片5、6には螺子孔51、61が形成されており、錠箱30を開口4に挿入した状態で、前面プレート31の上側延出片310、下側延出片311を、それぞれ上下の取付片5、6に当接させて螺子Sで固定されており、取付片5、6は見込壁210と一体形成されており、取付片5、6の基端側部位は、見込壁210に対して内側に折り曲げることで折り曲げ部位50、60となっており、上下の取付片5、6には、当該取付片5、6の変形を抑制する補強手段(肉盛溶接7、プレート8、9)が設けてある。
【選択図】図5
特許請求の範囲
【請求項1】
前面プレートを備えた錠箱の取付構造において、
扉体の戸先側縦フレームの見込壁の所定部位には開口が形成されており、前記開口の上下に位置して取付片が設けてあり、各取付片には螺子孔が形成されており、
前記錠箱を前記開口に挿入した状態で、前面プレートの上側延出片、下側延出片を、それぞれ上下の取付片に当接させて螺子で固定されており、
前記取付片は前記見込壁と一体形成されており、
前記取付片の基端側部位は、前記見込壁に対して内側に折り曲げることで折り曲げ部位となっており、
前記上下の取付片には、当該取付片の変形を抑制する補強手段が設けてある、
錠装置の取付構造。
続きを表示(約 380 文字)
【請求項2】
前記取付片の幅寸法は、前記開口の幅寸法よりも小さい、
請求項1に記載の錠装置の取付構造。
【請求項3】
前記補強手段は、前記取付片の前記折り曲げ部位の背面に施した肉盛溶接である、
請求項1、2いずれか1項に記載の錠装置の取付構造。
【請求項4】
前記補強手段は、前記取付片の背面に当接する補強プレートであり、前記補強プレートには前記螺子孔に対応して挿通孔が形成されており、
前記補強プレートの幅寸法は、前記取付片の幅寸法よりも大きく、前記補強プレートの幅方向両端は、前記戸先側縦フレームの一対の見付壁の内面に当接ないし近接しており、
前記補強プレートは、前記取付片、あるいは/および、前記見付壁の内面に溶接されている、
請求項1、2いずれか1項に記載の錠装置の取付構造。
発明の詳細な説明
【技術分野】
【0001】
本発明は、錠装置の取付構造に関するものである。
続きを表示(約 1,700 文字)
【背景技術】
【0002】
ドア装置の錠装置の錠箱の取付構造では、扉体の戸先側縦フレームの見込壁の所定部位には開口が形成されており、錠箱を前記開口に挿入した状態で、錠箱の前面に形成した上側延出片、下側延出片を、前記開口の上下に位置して設けた上下の取付片に当接させて螺子で固定することが行われている。
【0003】
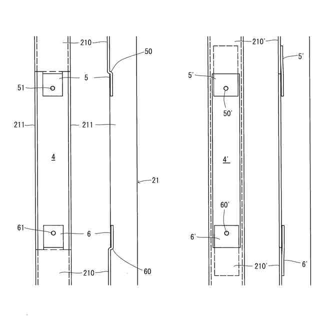
図9右図は、上下の取付片の従来例を示しており、上下の取付片は、見込壁210´の裏面に溶接したプレートから形成されている。より具体的には、上側取付片5´は、上側部位が見込壁210´の裏面に溶接されており、螺子孔50´を備えた下側部位が開口4´の上方部位で延びており、下側取付片6´は、下側部位が見込壁210´の裏面に溶接されており、螺子孔60´を備えた上側部位が開口4´の下方部位で延びている。しかしながら、このものでは、上側取付片5´、下側取付片6´を形成するプレートの溶接位置によって、螺子孔50´、60´の位置が決定されるため、螺子孔の位置出しが困難となるという課題があった。
【0004】
これに対して、図9左図に示すように、戸先側縦フレーム21の見込壁210から上側取付片5、下側取付片6を一体形成することで、螺子孔の位置出しを容易にすることが考えられる(図9左図は、従来例を示すものではない点に留意されたい)。このものでは、上側取付片5、下側取付片6の基端側部位を、見込壁210に対して内側に折り曲げる際に、上側取付片5、下側取付片6の両側に切り欠きを形成して曲げる(ランス加工)ことから、加工に伴う上側取付片5、下側取付片6の幅寸法の制限や折り曲げ部位(くびれ部)の伸びが原因で、錠前部に要求される強度を満たさないおそれがある。
【0005】
特許文献1には、折り曲げ部位を備えて見付壁に対して面落ちした受座に錠箱を固定した取付構造が開示されているが、このものは、外観性に優れ、取り付けが簡単に行え、コストの削減および取付時間の短縮化を図ることができ、扉の製造コストを低減することができる、扉の縦枠とシリンダー錠との取付構造を提供することを目的としており、錠装置の耐風圧性能という視点は一切無い。
特開2010-106538
【発明の開示】
【発明が解決しようとする課題】
【0006】
本発明は、耐風圧性能等の耐圧性能が向上された錠装置の取付構造を提供する。
【課題を解決するための手段】
【0007】
かかる課題を解決するべく本発明が採用した技術手段は、
前面プレートを備えた錠箱の取付構造において、
扉体の戸先側縦フレームの見込壁の所定部位には開口が形成されており、前記開口の上下に位置して取付片が設けてあり、各取付片には螺子孔が形成されており、
前記錠箱を前記開口に挿入した状態で、前面プレートの上側延出片、下側延出片を、それぞれ上下の取付片に当接させて螺子で固定されており、
前記取付片は前記見込壁と一体形成されており、
前記取付片の基端側部位は、前記見込壁に対して内側に折り曲げることで折り曲げ部位となっており、
前記上下の取付片には、当該取付片の変形を抑制する補強手段が設けてある、
錠装置の取付構造、である。
【0008】
1つの態様では、前記取付片の幅寸法は、前記開口の幅寸法よりも小さい。
【0009】
1つの態様では、前記補強手段は、前記取付片の前記折り曲げ部位の背面に施した肉盛溶接である。
【0010】
1つの態様では、前記補強手段は、前記取付片の背面に当接する補強プレートであり、前記補強プレートには前記螺子孔に対応して挿通孔が形成されており、
前記補強プレートの幅寸法は、前記取付片の幅寸法よりも大きく、前記補強プレートの幅方向両端は、前記戸先側縦フレームの一対の見付壁の内面に当接ないし近接しており、
前記補強プレートは、前記取付片、あるいは/および、前記見付壁の内面に溶接されている。
(【0011】以降は省略されています)
この特許をJ-PlatPat(特許庁公式サイト)で参照する
関連特許
個人
物品保管箱
3か月前
個人
防犯用ドア装置
3か月前
個人
ピンシリンダー錠。
4か月前
個人
二重ロック機能付小物入れ
3か月前
個人
顔認証による入室システム
4か月前
株式会社ベスト
軸釣装置
18日前
個人
ポスト機能付き手提げ金庫
2か月前
株式会社ソリック
ドア装置
26日前
ミサワホーム株式会社
錠受具
4か月前
三協立山株式会社
開口部装置
2か月前
個人
無人貸金庫システム
1か月前
リョービ株式会社
ドアクローザ
3か月前
リョービ株式会社
ドアクローザ
3か月前
株式会社アルファ
電気錠
3か月前
有限会社シティング
引き戸
2か月前
トヨタ自動車株式会社
車両
29日前
株式会社ベスト
開き扉の開閉装置
3か月前
積水ハウス株式会社
引き戸
2か月前
株式会社榮伸
カバン蓋の係止装置
3か月前
積水ハウス株式会社
引き戸
1か月前
株式会社ベスト
扉及び個室
1か月前
株式会社セリュール
電子錠、電気錠装置
10日前
株式会社セリュール
電子錠、電気錠装置
10日前
朝日電装株式会社
車両用ロック装置
2日前
コイト電工株式会社
蝶番の取付構造
1か月前
スズキ株式会社
車両用乗員保護装置
2か月前
美和ロック株式会社
IDキー
3か月前
ミネベアショウワ株式会社
ドア装置
3か月前
ミネベアショウワ株式会社
ドア装置
3か月前
株式会社アイシン
ドア支持装置
1か月前
株式会社LIXIL
建具
3か月前
神田工業株式会社
解錠システム
4か月前
株式会社ベスト
軸釣装置の上吊り手段
10日前
株式会社LIXIL
建具
1か月前
株式会社LIXIL
建具
3か月前
株式会社ユニオン
ドアハンドル
1か月前
続きを見る
他の特許を見る