TOP
|
特許
|
意匠
|
商標
特許ウォッチ
Twitter
他の特許を見る
10個以上の画像は省略されています。
公開番号
2025164516
公報種別
公開特許公報(A)
公開日
2025-10-30
出願番号
2024068535
出願日
2024-04-19
発明の名称
自動ドア開閉装置
出願人
日本自動ドア株式会社
代理人
個人
,
個人
,
個人
主分類
E05D
15/06 20060101AFI20251023BHJP(錠;鍵;窓または戸の付属品;金庫)
要約
【課題】框に固定されるときの強度を確保しながら、ローラーが走行する部分でも台板を分割することができる自動ドア開閉装置を提供すること。
【解決手段】左右方向に延びており、左側の第一区間と第一区間より右側の第二区間とを有し、扉に取り付けられたローラーを第一区間から少なくとも第二区間まで走行自在に支持するレール部と、レール部の第一区間を下方から支持する第一台板と、レール部の前記第二区間を下方から支持する第二台板と、第一台板と前記第二台板とを取り外し可能に接続する接続板と、を備える、自動ドア開閉装置。
【選択図】図3
特許請求の範囲
【請求項1】
左右方向に延びており、左側の第一区間と前記第一区間より右側の第二区間とを有し、扉に取り付けられたローラーを前記第一区間から少なくとも前記第二区間まで走行自在に支持するレール部と、
前記レール部の前記第一区間を下方から支持する第一台板と、
前記レール部の前記第二区間を下方から支持する第二台板と、
前記第一台板と前記第二台板とを取り外し可能に接続する接続板と、
を備える、
自動ドア開閉装置。
続きを表示(約 840 文字)
【請求項2】
前記扉は、第一扉と、前記第一扉とは別に設けられる第二扉とを有し、
前記ローラーは、前記第一扉に取り付けられた第一ローラーと、前記第二扉に取り付けられた第二ローラーとを有し、
前記第一ローラーは、前記第一区間から少なくとも前記第二区間まで走行する、
請求項1に記載の自動ドア開閉装置。
【請求項3】
前記接続板は、板状の接続板本体部と、前記左右方向に延びており前記接続板本体部の表面から前記左右方向と交差する前後方向に突出する補強部と、を有する、
請求項1または請求項2に記載の自動ドア開閉装置。
【請求項4】
前記接続板は、板状の接続板本体部と、
前記接続板は、前記左右方向に延びる補強板を有する、
請求項1または請求項2に記載の自動ドア開閉装置。
【請求項5】
前記レール部は、前記第一台板および前記第二台板に嵌合して取り付けられる、
請求項1または請求項2に記載の自動ドア開閉装置。
【請求項6】
前記レール部のうち前記第二区間より右側の第三区間を下方から支持し、前記接続板によって前記第二台板に取り外し可能に接続される第三台板を有する、
請求項1または請求項2に記載の自動ドア開閉装置。
【請求項7】
前記接続板は、ボルトの頭部を嵌めるボルト溝を有する、
請求項1または請求項2に記載の自動ドア開閉装置。
【請求項8】
前記レール部と前記第一台板および前記第二台板との間には、前記左右方向に延びるクッション材が介在されている、
請求項1または請求項2に記載の自動ドア開閉装置。
【請求項9】
前記接続板本体部は、アルミニウムによって形成されており、
前記補強板は、ステンレス鋼によって形成されている、
請求項4に記載の自動ドア開閉装置。
発明の詳細な説明
【技術分野】
【0001】
本発明は、自動ドア開閉装置に関する。
続きを表示(約 1,500 文字)
【背景技術】
【0002】
框に固定されることで、自動ドアに取り付けられたローラーを走行自在に支持するレール部を備える自動ドア開閉装置が知られている。自動ドア開閉装置はレール部を支持する台板を有している。台板にはローラーが走行しない部分があり、例えば、両開きの自動ドアにおける中央の部分である。
【0003】
台板は、ローラーの走行方向の長さが大きいため、輸送のときに分割されることがある。例えば特許文献1に記載の自動ドア分割装置では、台板はローラーが走行しない部分で分割可能である。
【先行技術文献】
【特許文献】
【0004】
特開2002-242520号公報
【発明の概要】
【発明が解決しようとする課題】
【0005】
しかしながら、ローラーが走行しない部分で台板を分割しても、台板の長さが十分に大きく、輸送が困難な場合がある。一方で、ローラーが走行する部分で台板を分割すると、框に固定されるときに自動ドア開閉装置の強度が落ちてしまう虞がある。
【0006】
本発明は、框に固定されるときの強度を確保しながら、ローラーが走行する部分でも台板を分割することができる自動ドア開閉装置を提供することを目的としている。
【課題を解決するための手段】
【0007】
上記の課題を解決するために、本発明の自動ドア開閉装置は、左右方向に延びており、左側の第一区間と第一区間より右側の第二区間とを有し、扉に取り付けられたローラーを第一区間から少なくとも第二区間まで走行自在に支持するレール部と、レール部の第一区間を下方から支持する第一台板と、レール部の第二区間を下方から支持する第二台板と、第一台板と第二台板とを取り外し可能に接続する接続板と、を備える。
【発明の効果】
【0008】
本発明によれば、框に固定されるときの強度を確保しながら、ローラーが走行する部分でも台板を分割することができる自動ドア開閉装置を提供することができる。
【図面の簡単な説明】
【0009】
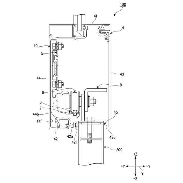
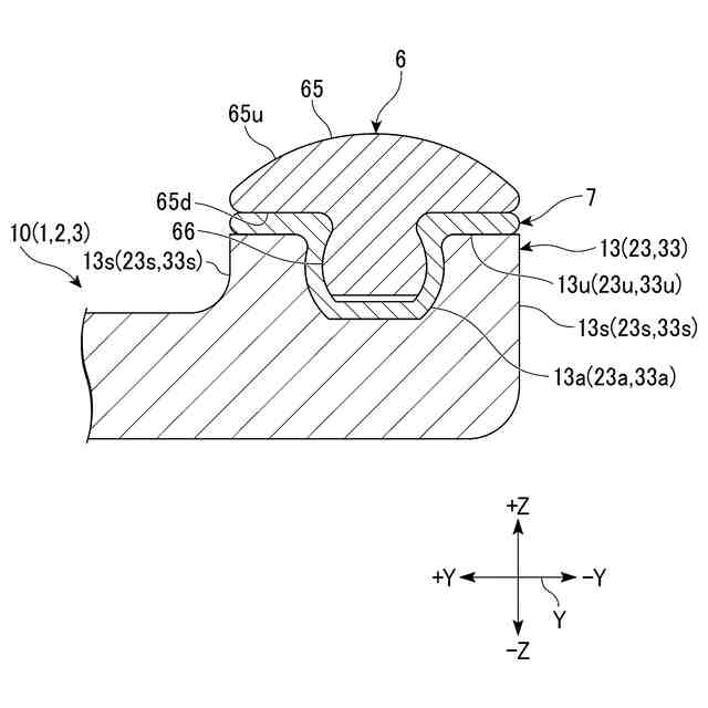
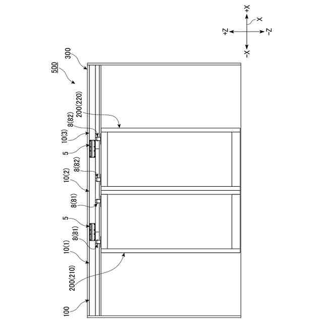
自動ドアを示す正面図であって、筐体を取り外した状態を示す。
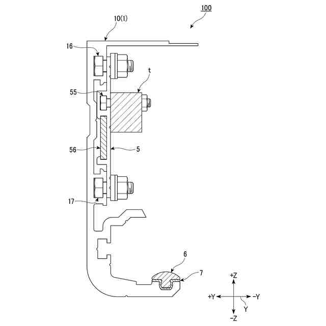
自動ドア開閉装置を示す正面図であって、筐体を取り外した状態を示す。
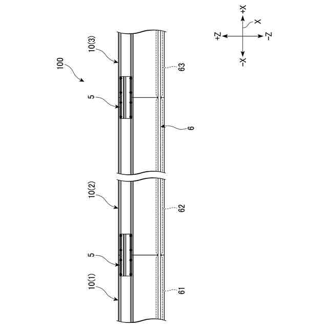
自動ドア開閉装置のうち接続板が設けられている箇所において左右方向と垂直な面で切断したときの断面を示す断面図である。
台板部のうち接続板が設けられている箇所において左右方向と垂直な面で切断したときの断面を示す断面図である。
図4中に示された台板部のD4における拡大図である。
接続板を示す正面図である。
図6に示された接続板のF6-F6線に沿う断面図である。
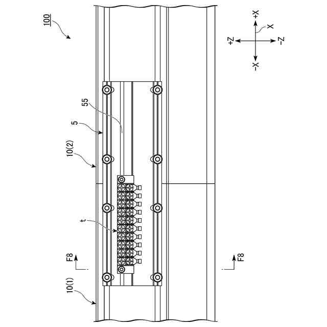
接続板に端子台を取り付けた様子を示す正面図である。
図8に示された接続板のF8-F8線に沿う断面図である。
第一台板に端子台を取り付けた様子を示す正面図である。
接続板および第二台板に端子台を取り付けた様子を示す正面図である。
接続板の変形例を示す正面図である。
自動ドアの変形例を示す正面図である。
【発明を実施するための形態】
【0010】
以下、実施形態の自動ドア開閉装置を、図を参照して説明する。以下の説明では、同一または類似の機能を有する構成に同一の符号を付す。そして、それらの構成の重複する説明は省略する場合がある。
(【0011】以降は省略されています)
この特許をJ-PlatPat(特許庁公式サイト)で参照する
関連特許
日本自動ドア株式会社
自動ドア開閉装置
1か月前
個人
物品保管箱
3か月前
個人
防犯用ドア装置
4か月前
個人
ピンシリンダー錠。
5か月前
株式会社ベスト
軸釣装置
1か月前
個人
ポスト機能付き手提げ金庫
3か月前
個人
顔認証による入室システム
5か月前
個人
二重ロック機能付小物入れ
4か月前
株式会社ソリック
ドア装置
1か月前
株式会社ニシムラ
ラッチ錠
5か月前
ミサワホーム株式会社
錠受具
5か月前
三協立山株式会社
開口部装置
3か月前
株式会社アルファ
電気錠
4か月前
リョービ株式会社
ドアクローザ
4か月前
リョービ株式会社
ドアクローザ
4か月前
個人
無人貸金庫システム
2か月前
株式会社榮伸
カバン蓋の係止装置
3か月前
株式会社ベスト
開き扉の開閉装置
3か月前
株式会社セリュール
電子錠、電気錠装置
27日前
トヨタ自動車株式会社
車両
1か月前
株式会社ベスト
扉及び個室
2か月前
積水ハウス株式会社
引き戸
2か月前
積水ハウス株式会社
引き戸
2か月前
株式会社セリュール
電子錠、電気錠装置
27日前
有限会社シティング
引き戸
2か月前
日本発條株式会社
リッド開閉装置
6日前
朝日電装株式会社
車両用ロック装置
19日前
スズキ株式会社
車両用乗員保護装置
3か月前
ミネベアショウワ株式会社
ドア装置
3か月前
ミネベアショウワ株式会社
ドア装置
3か月前
美和ロック株式会社
IDキー
4か月前
コイト電工株式会社
蝶番の取付構造
2か月前
株式会社アイシン
操作検出装置
13日前
株式会社ユニオン
ドアハンドル
2か月前
株式会社LIXIL
建具
2か月前
株式会社WEST inx
引戸用引手
5か月前
続きを見る
他の特許を見る