TOP
|
特許
|
意匠
|
商標
特許ウォッチ
Twitter
他の特許を見る
10個以上の画像は省略されています。
公開番号
2025140310
公報種別
公開特許公報(A)
公開日
2025-09-29
出願番号
2024039636
出願日
2024-03-14
発明の名称
ヒンジ装置
出願人
スガツネ工業株式会社
代理人
弁理士法人湧泉特許事務所
主分類
E05D
7/04 20060101AFI20250919BHJP(錠;鍵;窓または戸の付属品;金庫)
要約
【課題】 ヒンジ装置の調節ネジの過剰締付によりスライド調節が不能になる状況を回避する。
【解決手段】
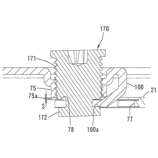
第1ヒンジ本体5と第2ヒンジ本体6と連結機構50が、第1方向D1に沿って配置される。第1ヒンジ本体5は、サポート部材20と、サポート部材20に第1、第2位置調節機構M1,M2を介して支持された主ヒンジ部材30とを有している。第1位置調節機構M1は、主ヒンジ部材を第1方向D1に位置調節する。第2位置調節機構M2は、主ヒンジ部材30をサポート部材20に対して接近・離間する第2方向に位置調節し、主ヒンジ部材30の雌ネジ部71と調節ネジ70を含む。サポート部材20のネジ支持部76と、調節ネジ70の係合部74が係合される。調節ネジ70はストッパとしてのフランジ部72を有している。雌ネジ部75の先端75a(当接部)がフランジ部72に当たることにより、調節ネジ70のねじ込み量が規制される。
【選択図】図4B
特許請求の範囲
【請求項1】
第1ヒンジ本体と第2ヒンジ本体が、第1方向に沿って配置され、
前記第1ヒンジ本体は、サポート部材と、前記サポート部材に第1、第2位置調節機構を介して支持された主ヒンジ部材とを有し、前記主ヒンジ部材が前記第2ヒンジ本体に回動可能に連結され、
前記第1位置調節機構は、前記主ヒンジ部材を前記サポート部材に対して前記第1方向に位置調節するように構成され、
前記第2位置調節機構は、前記主ヒンジ部材を前記サポート部材に対して接近・離間するように前記第1方向と異なる第2方向に位置調節するように構成され、
前記第2位置調節機構は、前記主ヒンジ部材に形成され前記サポート部材に向かって突出する雌ネジ部と、前記雌ネジ部に螺合する雄ネジ部を有する調節ネジと、を含み、
前記サポート部材に形成されたネジ支持部と、前記調節ネジにおいて前記雄ネジ部より先端側に形成された係合部との係合により、前記調節ネジが前記サポート部材に対して回転可能かつ前記第1方向に相対的に移動可能であるが、ネジ軸方向に移動不能に支持されたヒンジ装置において、
前記調節ネジは前記雄ネジ部より先端側にストッパを有し、前記主ヒンジ部材は当接部を有し、前記当接部が前記ストッパに当たることにより、前記調節ネジのねじ込み量を規制し、前記雌ネジ部の先端が前記サポート部材の前記支持部に当たるのを禁じるようにしたことを特徴とするヒンジ装置。
続きを表示(約 610 文字)
【請求項2】
前記サポート部材のネジ支持部は、前記第1方向に延びるスリットと、前記スリットの両側に形成された一対の支持板部とを有し、
前記調節ネジの係合部は、環状溝と、この環状溝に囲われた挿通部とを有し、前記挿通部が前記スリットに挿通されるとともに、前記一対の支持板部が前記環状溝に挿入されることを特徴とする請求項1に記載のヒンジ装置。
【請求項3】
前記調節ネジは前記雄ネジ部より先端側に先端に向かって順に第1、第2フランジ部を有し、前記第1、第2フランジ部間に前記環状溝と前記挿通部が形成され、
前記第1フランジ部が前記ストッパとして提供され、前記雌ネジ部の先端が前記当接部として提供されることを特徴とする請求項2に記載のヒンジ装置。
【請求項4】
前記調節ネジは前記雄ネジ部より先端側にフランジ部を有し、前記雄ネジ部の先端と前記フランジ部との間に前記環状溝と前記挿通部が形成され、前記フランジ部が前記ストッパとして提供され、
前記主ヒンジ部材は弾性爪を有し、前記弾性爪の先端部が当接部として提供され、前記弾性爪の先端部は、前記調節ネジの前記雄ネジ部に弾性力をもって接し、前記調節ネジのネジ込み量が所定量まで増大したときに、前記サポート部材の前記スリットと前記調節ネジの前記環状溝に入り込み、前記フランジ部に当たることを特徴とする請求項2に記載のヒンジ装置。
発明の詳細な説明
【技術分野】
【0001】
本発明は、例えば家具本体、建物枠、機器本体などの第1対象に、扉等の第2対象を回転可能に取り付けるためのヒンジ装置に関し、特に第2対象の第1対象に対する位置を調節可能なヒンジ装置に関する。
続きを表示(約 2,000 文字)
【背景技術】
【0002】
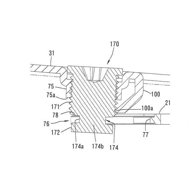
特許文献1に開示されたヒンジ装置は、家具本体に固定される第1ヒンジ本体と、扉に固定される第2ヒンジ本体と、これら第1、第2ヒンジ本体を回動可能に連結する連結機構とを備えている。
前記第1ヒンジ本体は、家具本体に取り付けられたサポート部材と、このサポート部材に第1、第2位置調節機構を介して支持された主ヒンジ部材とを有している。この主ヒンジ部材が前記連結機構を介して前記第2ヒンジ本体に連結されている。
【0003】
第1位置調節機構は、主ヒンジ部材をサポート部材に対して家具の前後方向(第1、第2ヒンジ本体が配置される方向)に位置調節するように構成されている。第2位置調節機構は、主ヒンジ部材をサポート部材に対して家具の左右方向(主ヒンジ部材がサポート部材に対して接近・離間する方向)に位置調節するように構成されている。
【0004】
第2位置調節機構は、主ヒンジ部材に形成され前記サポート部材に向かって突出する雌ネジ部と、この雌ネジ部に螺合する調節ネジとを有している。調節ネジには雄ネジ部より先端側に係合部が形成されている。この係合部をサポート部材のネジ支持部に係合することにより、調節ネジはサポート部材に対して回転可能かつ家具の前後方向に相対的に移動可能であるがネジ軸方向に移動不能に支持されている。
【0005】
サポート部材のネジ支持部は、前後方向に延びるスリットと、このスリットの両側に形成された一対の支持板部とを有している。調節ネジの係合部は、雄ネジ部の先端に小径の首部を介して連なるフランジ部と、雄ネジ部の先端とフランジ部との間に形成された環状溝を有している。調節ネジの首部がネジ支持部のスリットに挿通されるとともに、一対の支持板部が環状溝に挿入されている。
調節ネジを回すことにより、主ヒンジ部材がサポート部材に対して接近したり離間したりする方向に位置調節され、ひいては、扉の家具本体に対する左右方向の位置が調節される。
【先行技術文献】
【特許文献】
【0006】
特許6371916号公報
【発明の概要】
【発明が解決しようとする課題】
【0007】
特許文献1のヒンジ装置では、第2位置調節機構の調節ネジをねじ込むと主ヒンジ部材がサポート部材に接近して、主ヒンジ部材の雌ネジ部の先端がサポ-ト部材の支持板部に当たり、さらにねじ込みを続けると両者に食いつきが生じる。このように雌ネジ部の先端と支持板部の食いつきが生じると、第1位置調節機構による位置調節ができなくなってしまう。
【課題を解決するための手段】
【0008】
前記問題点を解決するために、本発明は、第1ヒンジ本体と第2ヒンジ本体が、第1方向に沿って配置され、前記第1ヒンジ本体は、サポート部材と、前記サポート部材に第1、第2位置調節機構を介して支持された主ヒンジ部材とを有し、前記主ヒンジ部材が前記第2ヒンジ本体に回動可能に連結され、前記第1位置調節機構は、前記主ヒンジ部材を前記サポート部材に対して前記第1方向に位置調節するように構成され、前記第2位置調節機構は、前記主ヒンジ部材を前記サポート部材に対して接近・離間するように前記第1方向と異なる第2方向に位置調節するように構成され、前記第2位置調節機構は、前記主ヒンジ部材に形成され前記サポート部材に向かって突出する雌ネジ部と、前記雌ネジ部に螺合する雄ネジ部を有する調節ネジと、を含み、前記サポート部材に形成されたネジ支持部と、前記調節ネジにおいて前記雄ネジ部より先端側に形成された係合部との係合により、前記調節ネジが前記サポート部材に対して回転可能かつ前記第1方向に相対的に移動可能であるが、ネジ軸方向に移動不能に支持されたヒンジ装置において、
前記調節ネジは前記雄ネジ部より先端側にストッパを有し、前記主ヒンジ部材は当接部を有し、前記当接部が前記ストッパに当たることにより、前記調節ネジのねじ込み量を規制し、前記雌ネジ部の先端が前記サポート部材の前記支持部に当たるのを禁じるようにしたことを特徴とする。
【0009】
上述の構成によれば、調節ネジのねじ込み量が制限され、雌ネジ部の先端がサポート部材の支持部に当たらないので、両者の食い付きを防止できる。その結果、第1位置調節機構による主ヒンジ部材の第1方向の位置調節機能を確保することができる。
【0010】
好ましくは、前記サポート部材のネジ支持部は、前記第1方向に延びるスリットと、前記スリットの両側に形成された一対の支持板部とを有し、前記調節ネジの係合部は、環状溝と、この環状溝に囲われた挿通部とを有し、前記挿通部が前記スリットに挿通されるとともに、前記一対の支持板部が前記環状溝に挿入される。
(【0011】以降は省略されています)
この特許をJ-PlatPat(特許庁公式サイト)で参照する
関連特許
積水ハウス株式会社
引き戸
15日前
株式会社ベスト
扉及び個室
15日前
コイト電工株式会社
蝶番の取付構造
4日前
株式会社アイシン
ドア支持装置
4日前
株式会社アイシン
車両用ドア装置
12日前
株式会社アイシン
車両用ドア装置
4日前
株式会社アイシン
車両用ドア装置
12日前
株式会社LIXIL
シリンダ錠
7日前
ミネベアミツミ株式会社
ドアラッチ装置
4日前
三和シヤッター工業株式会社
建具
4日前
株式会社LIXIL
窓用ステー及び開き窓
12日前
株式会社LIXIL
窓用ステー及び開き窓
12日前
株式会社ミツバ
モータ制御装置
11日前
豊田合成株式会社
車両用内装品
13日前
河村電器産業株式会社
収納箱の扉の係止構造
7日前
株式会社アイシン
開閉システム
12日前
株式会社アイシン
車両用ドア装置
4日前
株式会社LIXIL
シリンダ錠及び建物設備機器群
7日前
株式会社LIXIL
障子、建具、及び障子の施工方法
12日前
株式会社デンソー
充電システム、車両及び充電スタンド
11日前
株式会社アイシン
通信制御システム、及び車室外アンテナ装置
7日前
トヨタ車体株式会社
車両の転動部材のシール構造
15日前
日本プラスト株式会社
ロック装置及び収納装置
5日前
アイホン株式会社
鍵貸出システム、鍵貸出システムを備えた集合玄関機
4日前
ミネベアアクセスソリューションズ株式会社
車両ドアのキーシリンダ装置
11日前
ヤマハ株式会社
解錠管理方法および解錠管理システム
11日前
ミネベアアクセスソリューションズ株式会社
車両ドアのキーシリンダ装置
11日前
ミネベアアクセスソリューションズ株式会社
車両用ドア操作装置の締結具
12日前
ミネベアアクセスソリューションズ株式会社
車両ドアのキーシリンダ装置
11日前
ミネベアアクセスソリューションズ株式会社
車両ドアのキーシリンダ装置
11日前
株式会社 スパックエキスプレス
自動扉開閉コントローラ及び自動扉開閉システム
15日前
株式会社ユーシン
開閉体制御システム並びにその検査システム及び検査方法
11日前
TOPPANホールディングス株式会社
扉構造、扉、及び印刷物
12日前
パナソニックIPマネジメント株式会社
負圧解放装置、及び、ドア部品
5日前
TOPPANホールディングス株式会社
車両施錠システム及び車両
12日前
文化シヤッター株式会社
開閉装置制御システム及びリモコン
5日前
続きを見る
他の特許を見る