TOP
|
特許
|
意匠
|
商標
特許ウォッチ
Twitter
他の特許を見る
公開番号
2025145861
公報種別
公開特許公報(A)
公開日
2025-10-03
出願番号
2024046327
出願日
2024-03-22
発明の名称
開閉体制御システム並びにその検査システム及び検査方法
出願人
株式会社ユーシン
代理人
個人
,
個人
主分類
E05F
15/622 20150101AFI20250926BHJP(錠;鍵;窓または戸の付属品;金庫)
要約
【課題】開閉体を制御するシステムの簡素化と、制御精度の維持又は向上とを両立する。
【解決手段】開閉体制御システム10の検査システム50が、第1電気モータ12の第1回転速度及び第2電気モータ17の第2回転速度のいずれをフィードバック制御の制御対象とすべきか判定する判定部60を備える。制御信号生成部34が、制御信号を模擬した検査用の疑似制御信号を生成可能に構成される。第1駆動回路21及び第2駆動回路22が、同一の疑似制御信号に応じて第1駆動信号及び第2駆動信号をそれぞれ生成する。判定部60が、疑似制御信号に応じて生成された第1駆動信号及び第2駆動信号のうちデューティ比が小さい方の駆動信号を判定する。制御対象設定部33が、第1回転速度及び第2回転速度のうち、デューティ比が小さい方の駆動信号によって駆動される電気モータの回転速度を制御対象として設定する。
【選択図】図3
特許請求の範囲
【請求項1】
第1電気モータ、及び前記第1電気モータの回転に応じた第1検出信号を出力する第1回転センサを有し、前記第1電気モータの回転により車体の開口部を開閉する開閉体を駆動する第1駆動機構と、
第2電気モータ、及び前記第2電気モータの回転に応じた第2検出信号を出力する第2回転センサを有し、前記第2電気モータの回転により前記第1駆動機構と共に前記開閉体を駆動する第2駆動機構と、
を備える開閉体制御システムのための、検査システムであって、
前記車体に搭載され、前記開閉体制御システムに含まれ、前記第1電気モータ及び前記第2電気モータの回転速度に関するフィードバック制御を実行する開閉体制御装置と、
前記第1電気モータの第1回転速度及び前記第2電気モータの第2回転速度のいずれを前記フィードバック制御の制御対象とすべきか判定する判定部と、
を備え、
前記開閉体制御装置が、
前記第1検出信号に応じて前記第1電気モータの第1回転速度を検出し、前記第2検出信号に応じて前記第2電気モータの第2回転速度を検出する回転速度検出部と、
前記第1回転速度及び前記第2回転速度のいずれか一方を、前記フィードバック制御の制御対象として設定する制御対象設定部と、
前記制御対象の検出値を目標値に追従させるための制御信号を生成する制御信号生成部と、
前記制御信号生成部により生成された前記制御信号を供給する制御信号供給部と、
前記制御信号供給部から供給される前記制御信号に応じて、前記第1電気モータを駆動するための第1駆動信号を生成及び出力する第1駆動回路と、
前記制御信号供給部から供給される前記制御信号に応じて、前記第2電気モータを駆動するための第2駆動信号を生成及び出力する第2駆動回路と、
を備え、
前記制御信号生成部が、前記制御信号を模擬した検査用の疑似制御信号を生成可能に構成され、
前記第1駆動回路及び前記第2駆動回路が、前記制御信号供給部を介して供給された同一の前記疑似制御信号に応じて、前記第1駆動信号及び前記第2駆動信号をそれぞれ生成し、
前記判定部が、前記疑似制御信号に応じて生成された前記第1駆動信号及び前記第2駆動信号のうち、デューティ比が小さい方を判定し、
前記制御対象設定部が、前記第1回転速度及び前記第2回転速度のうち、前記デューティ比が小さい方の駆動信号によって駆動される電気モータの回転速度を、前記制御対象として設定する、
開閉体制御システムの検査システム。
続きを表示(約 2,300 文字)
【請求項2】
前記判定部が、前記車体から離れた外部装置に備わる、
請求項1に記載の開閉体制御システムの検査システム。
【請求項3】
前記開閉体制御装置が、
前記第1駆動回路に接続されており、且つ前記第1電気モータと接続されるべき第1駆動コネクタと、
前記第2駆動回路に接続されており、且つ前記第2電気モータと接続されるべき第2駆動コネクタと、
を備え、
前記外部装置が、前記第1駆動コネクタ及び前記第2駆動コネクタと接続され、前記第1駆動信号及び前記第2駆動信号を取得する、
請求項2に記載の開閉体制御システムの検査システム。
【請求項4】
前記判定部が、前記開閉体制御装置に備わる、
請求項1に記載の開閉体制御システムの検査システム。
【請求項5】
前記疑似制御信号が、所定デューティ比のPWM信号である、
請求項1から4のいずれか1項に記載の開閉体制御システムの検査システム。
【請求項6】
前記所定デューティ比が、0%~30%の範囲内に設定されている、
請求項5に記載の開閉体制御システムの検査システム。
【請求項7】
第1電気モータ、及び前記第1電気モータの回転に応じた第1検出信号を出力する第1回転センサを有し、前記第1電気モータの回転により車体の開口部を開閉する開閉体を駆動する第1駆動機構と、
第2電気モータ、及び前記第2電気モータの回転に応じた第2検出信号を出力する第2回転センサを有し、前記第2電気モータの回転により前記第1駆動機構と共に前記開閉体を駆動する第2駆動機構と、
前記車体に搭載され、前記第1電気モータ及び前記第2電気モータの回転速度に関するフィードバック制御を実行する開閉体制御装置と、
を備える開閉体制御システムのための、検査方法であって、
前記開閉体制御装置が、
前記第1検出信号に応じて前記第1電気モータの第1回転速度を検出し、前記第2検出信号に応じて前記第2電気モータの第2回転速度を検出する回転速度検出部と、
前記第1回転速度及び前記第2回転速度のいずれか一方を、前記フィードバック制御の制御対象として設定する制御対象設定部と、
前記制御対象の検出値を目標値に追従させるための制御信号を生成する制御信号生成部と、
前記制御信号生成部により生成された前記制御信号を供給する制御信号供給部と、
前記制御信号供給部から供給される前記制御信号に応じて、前記第1電気モータを駆動するための第1駆動信号を生成及び出力する第1駆動回路と、
前記制御信号供給部から供給される前記制御信号に応じて、前記第2電気モータを駆動するための第2駆動信号を生成及び出力する第2駆動回路と、
を備え、
当該方法が、
前記制御信号生成部において、前記制御信号を模擬した検査用の疑似制御信号を生成し、
前記第1駆動回路及び前記第2駆動回路それぞれにおいて、前記制御信号供給部を介して供給された同一の前記疑似制御信号に応じて、前記第1駆動信号及び前記第2駆動信号を生成し、
前記疑似制御信号に応じて生成された前記第1駆動信号及び前記第2駆動信号のうち、デューティ比が小さい方を判定し、
前記制御対象設定部において、前記第1回転速度及び前記第2回転速度のうち、前記デューティ比が小さい方の駆動信号によって駆動される電気モータの回転速度を、前記制御対象として設定すること、
を備える、開閉体制御システムの検査方法。
【請求項8】
第1電気モータ、及び前記第1電気モータの回転に応じた第1検出信号を出力する第1回転センサを有し、前記第1電気モータの回転により車体の開口部を開閉する開閉体を駆動する第1駆動機構と、
第2電気モータ、及び前記第2電気モータの回転に応じた第2検出信号を出力する第2回転センサを有し、前記第2電気モータの回転により前記第1駆動機構と共に前記開閉体を駆動する第2駆動機構と、
前記車体に搭載され、前記第1電気モータ及び前記第2電気モータの回転速度に関するフィードバック制御を実行する開閉体制御装置と、
を備え、
前記開閉体制御装置が、
前記第1検出信号に応じて前記第1電気モータの第1回転速度を検出し、前記第2検出信号に応じて前記第2電気モータの第2回転速度を検出する回転速度検出部と、
前記第1回転速度及び前記第2回転速度のいずれか一方を、前記フィードバック制御の制御対象として設定する制御対象設定部と、
前記制御対象の検出値を目標値に追従させるための制御信号を生成する制御信号生成部と、
前記制御信号生成部により生成された前記制御信号を供給する制御信号供給部と、
前記制御信号供給部から供給される前記制御信号に応じて、前記第1電気モータを駆動するための第1駆動信号を生成及び出力する第1駆動回路と、
前記制御信号供給部から供給される前記制御信号に応じて、前記第2電気モータを駆動するための第2駆動信号を生成及び出力する第2駆動回路と、
を備え、
前記制御対象設定部は、前記制御信号供給部を介して前記第1駆動回路及び前記第2駆動回路に供給される同一の制御信号に応じて生成される前記第1駆動信号及び前記第2駆動信号のうち、デューティ比が小さい方によって駆動される電気モータの回転速度を、前記制御対象として設定している、
開閉体制御システム。
発明の詳細な説明
【技術分野】
【0001】
本発明は、開閉体制御システム並びにその検査システム及び検査方法に関する。
続きを表示(約 3,900 文字)
【背景技術】
【0002】
特許文献1は、開閉体の一例としてのバックドアを駆動する左右の駆動ユニットを備えたパワーバックドア装置を開示している。各駆動ユニットが、モータ及びパルスセンサを有し、各モータが、対応する駆動回路によって駆動される。左右のモータは、個別のフィードバック制御系によって制御される。
【0003】
この点、パワーバックドアECUは、左パルスセンサからの信号を参照して左モータの回転速度の検出値を目標値に追従させるための制御信号を生成し、その制御信号を左モータ用の駆動回路に出力する。同様に、パワーバックドアECUは、右パルスセンサからの信号を参照して右モータの回転速度の検出値を目標値に追従させるための制御信号を生成し、その制御信号を右モータ用の駆動回路に出力する。目標値は同期のため左右で共通である一方、検出値及び制御信号は左右で個別である。
【先行技術文献】
【特許文献】
【0004】
特開2013-023866号公報
【発明の概要】
【発明が解決しようとする課題】
【0005】
このように、2つのフィードバック制御系が、左右のモータに対応して個別に存在すると、開閉体を制御するためのシステムが複雑になる。一方、システムを簡素化した場合には、2つの駆動ユニットを同期して作動させる制御の精度が低下することも考えられる。
【0006】
本発明は、開閉体を制御するシステムの簡素化と、制御精度の維持又は向上とを両立することを課題とする。
【課題を解決するための手段】
【0007】
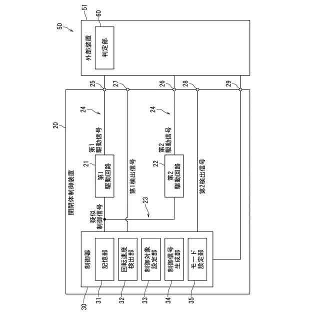
本発明の一態様は、第1電気モータ、及び前記第1電気モータの回転に応じた第1検出信号を出力する第1回転センサを有し、前記第1電気モータの回転により車体の開口部を開閉する開閉体を駆動する第1駆動機構と、第2電気モータ、及び前記第2電気モータの回転に応じた第2検出信号を出力する第2回転センサを有し、前記第2電気モータの回転により前記第1駆動機構と共に前記開閉体を駆動する第2駆動機構と、を備える開閉体制御システムのための、検査システムであって、前記車体に搭載され、前記開閉体制御システムに含まれ、前記第1電気モータ及び前記第2電気モータの回転速度に関するフィードバック制御を実行する開閉体制御装置と、前記第1電気モータの第1回転速度及び前記第2電気モータの第2回転速度のいずれを前記フィードバック制御の制御対象とすべきか判定する判定部と、を備え、前記開閉体制御装置が、前記第1検出信号に応じて前記第1電気モータの第1回転速度を検出し、前記第2検出信号に応じて前記第2電気モータの第2回転速度を検出する回転速度検出部と、前記第1回転速度及び前記第2回転速度のいずれか一方を、前記フィードバック制御の制御対象として設定する制御対象設定部と、前記制御対象の検出値を目標値に追従させるための制御信号を生成する制御信号生成部と、前記制御信号生成部により生成された前記制御信号を供給する制御信号供給部と、前記制御信号供給部から供給される前記制御信号に応じて、前記第1電気モータを駆動するための第1駆動信号を生成及び出力する第1駆動回路と、前記制御信号供給部から供給される前記制御信号に応じて、前記第2電気モータを駆動するための第2駆動信号を生成及び出力する第2駆動回路と、を有し、前記制御信号生成部が、前記制御信号を模擬した検査用の疑似制御信号を生成可能に構成され、前記第1駆動回路及び前記第2駆動回路が、前記制御信号供給部を介して供給された同一の前記疑似制御信号に応じて、前記第1駆動信号及び前記第2駆動信号をそれぞれ生成し、前記判定部が、前記疑似制御信号に応じて生成された前記第1駆動信号及び前記第2駆動信号のうち、デューティ比が小さい方を判定し、前記制御対象設定部が、前記第1回転速度及び前記第2回転速度のうち、前記デューティ比が小さい方の駆動信号によって駆動される電気モータの回転速度を、前記制御対象として設定する、開閉体制御システムの検査システムを提供する。
【0008】
本発明の一態様は、第1電気モータ、及び前記第1電気モータの回転に応じた第1検出信号を出力する第1回転センサを有し、前記第1電気モータの回転により車体の開口部を開閉する開閉体を駆動する第1駆動機構と、第2電気モータ、及び前記第2電気モータの回転に応じた第2検出信号を出力する第2回転センサを有し、前記第2電気モータの回転により前記第1駆動機構と共に前記開閉体を駆動する第2駆動機構と、前記車体に搭載され、前記第1電気モータ及び前記第2電気モータの回転速度に関するフィードバック制御を実行する開閉体制御装置と、を備える開閉体制御システムのための、検査方法であって、前記開閉体制御装置が、前記第1検出信号に応じて前記第1電気モータの第1回転速度を検出し、前記第2検出信号に応じて前記第2電気モータの第2回転速度を検出する回転速度検出部と、前記第1回転速度及び前記第2回転速度のいずれか一方を、前記フィードバック制御の制御対象として設定する制御対象設定部と、前記制御対象の検出値を目標値に追従させるための制御信号を生成する制御信号生成部と、前記制御信号生成部により生成された前記制御信号を供給する制御信号供給部と、前記制御信号供給部から供給される前記制御信号に応じて、前記第1電気モータを駆動するための第1駆動信号を生成及び出力する第1駆動回路と、前記制御信号供給部から供給される前記制御信号に応じて、前記第2電気モータを駆動するための第2駆動信号を生成及び出力する第2駆動回路と、を有し、当該方法が、前記制御信号生成部において、前記制御信号を模擬した検査用の疑似制御信号を生成し、前記第1駆動回路及び前記第2駆動回路それぞれにおいて、前記制御信号供給部を介して供給された同一の前記疑似制御信号に応じて、前記第1駆動信号及び前記第2駆動信号を生成し、前記疑似制御信号に応じて生成された前記第1駆動信号及び前記第2駆動信号のうち、デューティ比が小さい方の駆動信号を判定し、前記制御対象設定部において、前記第1回転速度及び前記第2回転速度のうち、前記デューティ比が小さい方の駆動信号によって駆動される電気モータの回転速度を、前記制御対象として設定すること、を備える、開閉体制御システムの検査方法を提供する。
【0009】
本発明の一態様は、第1電気モータ、及び前記第1電気モータの回転に応じた第1検出信号を出力する第1回転センサを有し、前記第1電気モータの回転により車体の開口部を開閉する開閉体を駆動する第1駆動機構と、第2電気モータ、及び前記第2電気モータの回転に応じた第2検出信号を出力する第2回転センサを有し、前記第2電気モータの回転により前記第1駆動機構と共に前記開閉体を駆動する第2駆動機構と、前記車体に搭載され、前記第1電気モータ及び前記第2電気モータの回転速度に関するフィードバック制御を実行する開閉体制御装置と、を備え、前記開閉体制御装置が、前記第1検出信号に応じて前記第1電気モータの第1回転速度を検出し、前記第2検出信号に応じて前記第2電気モータの第2回転速度を検出する回転速度検出部と、前記第1回転速度及び前記第2回転速度のいずれか一方を、前記フィードバック制御の制御対象として設定する制御対象設定部と、前記制御対象の検出値を目標値に追従させるための制御信号を生成する制御信号生成部と、前記制御信号生成部により生成された前記制御信号を供給する制御信号供給部と、前記制御信号供給部から供給される前記制御信号に応じて、前記第1電気モータを駆動するための第1駆動信号を生成及び出力する第1駆動回路と、前記制御信号供給部から供給される前記制御信号に応じて、前記第2電気モータを駆動するための第2駆動信号を生成及び出力する第2駆動回路と、を有し、前記制御対象設定部は、前記制御信号供給部を介して前記第1駆動回路及び前記第2駆動回路に供給される同一の制御信号に応じて生成される前記第1駆動信号及び前記第2駆動信号のうち、デューティ比が小さい方の駆動信号によって駆動される電気モータの回転速度を、前記制御対象として設定している、開閉体制御システムを提供する。
【0010】
上記構成によれば、開閉体制御システムにおいて、第1電気モータの第1回転速度及び第2電気モータの第2回転速度のいずれか一方が、フィードバック制御の制御対象として設定される。制御信号は、設定された制御対象の検出値及び目標値から生成され、同一の制御信号が、第1駆動回路及び第2駆動回路の双方に供給される。第1駆動回路は、制御信号に応じて第1駆動信号を生成して第1電気モータに出力する一方、第2駆動回路は、同一の制御信号に応じて第2駆動信号を生成して第2電気モータに出力する。このように、フィードバック制御を通じて2つの電気モータを同期して作動させるにあたり、目標値、検出値、及び制御信号が、第1駆動機構及び第2駆動機構において共通化される。そのため、制御信号生成部及び制御信号供給部を簡素化でき、開閉体制御システムの構成を簡素化できる。
(【0011】以降は省略されています)
この特許をJ-PlatPat(特許庁公式サイト)で参照する
関連特許
株式会社ユーシン
操作装置
2日前
株式会社ユーシン
リッド開閉装置
3日前
株式会社ユーシン
開閉体制御装置
3日前
個人
物品保管箱
2か月前
個人
防犯用ドア装置
2か月前
個人
ピンシリンダー錠。
3か月前
個人
二重ロック機能付小物入れ
2か月前
個人
ポスト機能付き手提げ金庫
1か月前
個人
顔認証による入室システム
3か月前
株式会社ニシムラ
ラッチ錠
3か月前
ミサワホーム株式会社
錠受具
3か月前
三協立山株式会社
開口部装置
1か月前
個人
無人貸金庫システム
16日前
リョービ株式会社
ドアクローザ
2か月前
リョービ株式会社
ドアクローザ
2か月前
株式会社アルファ
電気錠
2か月前
有限会社シティング
引き戸
23日前
積水ハウス株式会社
引き戸
25日前
株式会社ベスト
開き扉の開閉装置
1か月前
株式会社榮伸
カバン蓋の係止装置
1か月前
タキゲン製造株式会社
抜差し蝶番
4か月前
株式会社ベスト
扉及び個室
13日前
美和ロック株式会社
ハンドル装置
4か月前
積水ハウス株式会社
引き戸
13日前
ミネベアショウワ株式会社
ドア装置
1か月前
ミネベアショウワ株式会社
ドア装置
1か月前
美和ロック株式会社
IDキー
2か月前
スズキ株式会社
車両用乗員保護装置
1か月前
コイト電工株式会社
蝶番の取付構造
2日前
株式会社LIXIL
建具
2か月前
株式会社LIXIL
建具
1か月前
神田工業株式会社
解錠システム
3か月前
株式会社WEST inx
引戸用引手
3か月前
株式会社ユニオン
ドアハンドル
17日前
株式会社LIXIL
建具
13日前
株式会社アイシン
ドア支持装置
2日前
続きを見る
他の特許を見る