TOP
|
特許
|
意匠
|
商標
特許ウォッチ
Twitter
他の特許を見る
10個以上の画像は省略されています。
公開番号
2025141162
公報種別
公開特許公報(A)
公開日
2025-09-29
出願番号
2024040967
出願日
2024-03-15
発明の名称
車両の転動部材のシール構造
出願人
トヨタ車体株式会社
代理人
弁理士法人岡田国際特許事務所
主分類
E05F
15/655 20150101AFI20250919BHJP(錠;鍵;窓または戸の付属品;金庫)
要約
【課題】キャップ部材と転動部材に対する意図しない電着塗料および上塗り塗料の固着をより確実に回避することにある。
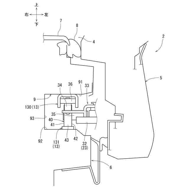
【解決手段】スライドドアの軸部(横軸部35)に軸支された転動部材40にキャップ部材50が装着されていると共に、装着状態を基準として、軸部の軸長さ方向と直交する向きに延びる仮想線70によって転動部材40を二等分して一側と他側とに区分けした場合に、キャップ部材50には、一側と他側のそれぞれに、転動部材40に向けて突出するシール部(第一シール部61,第二シール部62)が突設されている。
【選択図】図4
特許請求の範囲
【請求項1】
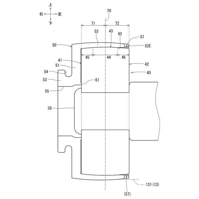
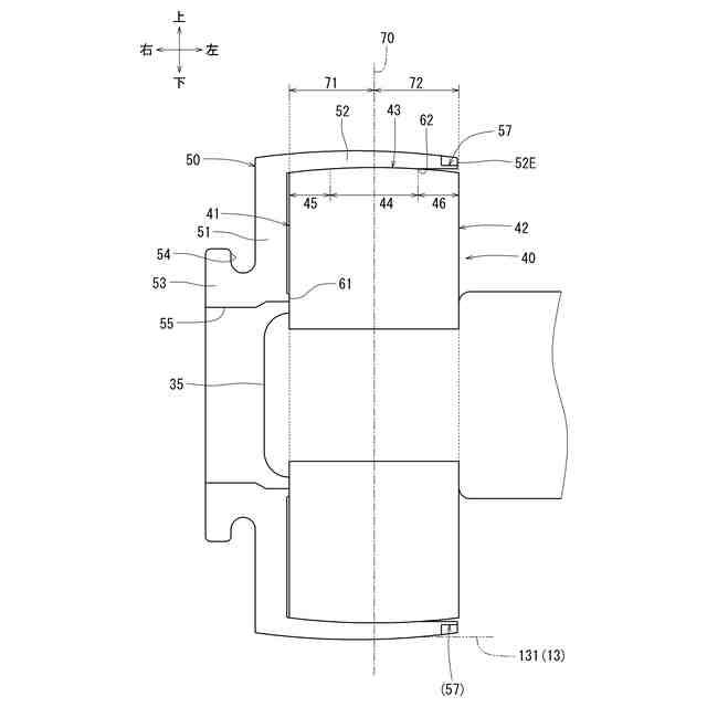
車両の車両ボディにスライドドアを取付けて電着塗装および上塗り塗装する際に、前記スライドドアに軸支された転動部材が、キャップ部材でシールされた状態で車両ボディ側に転動可能に配置される車両の転動部材のシール構造において、
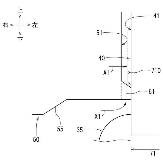
前記スライドドアの軸部に軸支された前記転動部材に前記キャップ部材が装着されていると共に、
前記転動部材に前記キャップ部材が装着された装着状態を基準として、前記軸部の軸長さ方向と直交する向きに延びる仮想線によって前記転動部材を二等分して一側と他側とに区分けした場合に、前記キャップ部材には、前記一側と前記他側のそれぞれに、前記転動部材に向けて突出するシール部が突設されている車両の転動部材のシール構造。
続きを表示(約 700 文字)
【請求項2】
円柱状に形成された前記転動部材の周面に、前記車両ボディ側に接する転動面が形成されていると共に、前記周面は、前記軸部から離れる向きに凸の凸曲面とされて、前記凸曲面の頂から前記他側に向かうにつれて次第に前記軸部に近づく方向に湾曲しており、
前記キャップ部材を前記一側から前記他側に移動させて前記転動部材に装着する構成とし、前記他側に設けられた前記シール部は、前記頂を越えた位置で前記転動面をシールするように前記周面に接している請求項1に記載の車両の転動部材のシール構造。
【請求項3】
前記転動部材には、前記周面の前記一側に位置する一端部が、前記周面に対して交差する方向に延びる縦壁状に形成されており、
前記キャップ部材は、前記一端部を覆う第一被覆部と、前記転動面を覆う第二被覆部とを一体で有し、前記一側に設けられた前記シール部は、前記第一被覆部に突設されていると共に、前記第一被覆部と前記一端部間の隙の入口部分に配置されている請求項2に記載の車両の転動部材のシール構造。
【請求項4】
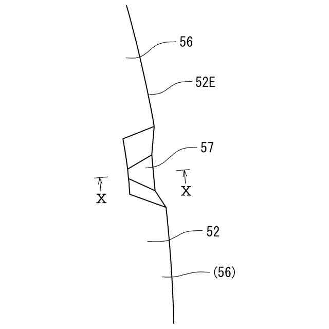
前記装着状態の前記キャップ部材を前記他側から前記一側に移動させて前記転動部材から取外す構成とし、前記キャップ部材の前記他側の端部に、切欠き状の薄肉部が形成されている請求項1~3のいずれか一項に記載の車両の転動部材のシール構造。
【請求項5】
前記キャップ部材の前記他側の端部には、所定の厚み寸法を備えた一般端部と、前記一般端部よりも薄肉とされた前記薄肉部とが隣接するように形成されている請求項4に記載の車両の転動部材のシール構造。
発明の詳細な説明
【技術分野】
【0001】
本発明は、電着塗装および上塗り塗装の際に、車両のスライドドアの転動部材をキャップ部材でシールする車両の転動部材のシール構造に関する。
続きを表示(約 2,700 文字)
【背景技術】
【0002】
スライドドアを備えた車両では、その車両ボディに設けられたドア開口部がスライドドアによって開閉可能に構成されている。そしてドア開口部の開閉時には、スライドドアに軸支されたローラ状の転動部材が、車両ボディに設けられたレール上を転動するようになる。そしてこの種の車両では、一般的にスライドドアを車両ボディに取付けた状態で、カチオン塗装等のED塗装(電着塗装)による下地処理および上塗り塗装が施される。
【0003】
ところで上記した電着塗装および上塗り塗装時には、その電着塗料および上塗り塗料が転動部材に付着しないよう配慮され、とりわけレールに接する転動部材の周面部分(転動面)に各塗料が極力付着しないように配慮される。例えば特許文献1の技術では、その支持ローラ(転動部材)が、スライドドアに軸支された内輪と、この内輪の外側に組付けられた外輪とから構成されている。そして内輪を予め塗装しておくと共に、電着塗装および上塗り塗装の際に外輪の転動面等を樹脂キャップ(キャップ部材)にてシールしておく。これにより、電着塗装時に外輪を非通電状態とすることができ、更に樹脂キャップの働きで転動面等への電着塗料および上塗り塗料の付着を抑制できるようになる。そして電着塗装および上塗り塗装を施したのち、樹脂キャップを取外すこととなる。
【先行技術文献】
【特許文献】
【0004】
特開2010-58727号公報
【発明の概要】
【発明が解決しようとする課題】
【0005】
ここで上記した技術では、樹脂キャップ(キャップ部材)によって、電着塗装および上塗り塗装時の支持ローラ(転動部材)をシールしている。しかし上記した構成によっても、キャップ部材と転動部材の寸法のバラつきなどで、これらの間に意図しない隙が生じることがあり、当該隙に電着塗料および上塗り塗料が付着して固着しないように配慮する必要があった。即ち、意図しない箇所への電着塗料および上塗り塗料の固着は、転動部材の転動時の異音発生を抑制する観点から好ましくなく、更に取外し作業時におけるキャップ部材の意図しない箇所の破損も懸念される。本発明は上述の点に鑑みて創案されたものであり、本発明が解決しようとする課題は、キャップ部材と転動部材に対する意図しない電着塗料および上塗り塗料の固着をより確実に回避することにある。
【課題を解決するための手段】
【0006】
上記課題を解決するための手段として、第1発明の車両の転動部材のシール構造では、車両の車両ボディにスライドドアを取付けて電着塗装および上塗り塗装する際に、スライドドアに軸支された転動部材が、キャップ部材でシールされた状態で車両ボディ側に転動可能に配置される。この種の構造においては、キャップ部材と転動部材に対する意図しない電着塗料および上塗り塗料の固着をより確実に回避できることが望ましい。そこで本発明では、スライドドアの軸部に軸支された転動部材にキャップ部材が装着されている。そして転動部材にキャップ部材が装着された装着状態を基準として、軸部の軸長さ方向と直交する向きに延びる仮想線によって転動部材を二等分して一側と他側とに区分けした場合に、キャップ部材には、一側と他側のそれぞれに、転動部材に向けて突出するシール部が突設されている。本発明のキャップ部材は、転動部材に向けて突設されたシール部を有している。このため、転動部材とキャップ部材間に意図しない隙が生じたとしても、当該隙をシール部で詰められるようになり、転動部材に対するシール性をより確実に確保することができる。そしてシール部の働きで転動部材をその一側と他側とからシールして、電着塗料および上塗り塗料の侵入をより適切に抑制することにより、キャップ部材と転動部材に対する電着塗料および上塗り塗料の意図しない固着をより確実に回避できるようになる。
【0007】
第2発明の車両の転動部材のシール構造は、第1発明の車両の転動部材のシール構造において、円柱状に形成された転動部材の周面に、車両ボディ側に接する転動面が形成されている。そして周面は、軸部から離れる向きに凸の凸曲面とされて、凸曲面の頂から他側に向かうにつれて次第に軸部に近づく方向に湾曲している。そこでキャップ部材を一側から他側に移動させて転動部材に装着する構成とし、他側に設けられたシール部は、頂を越えた位置で転動面をシールするように周面に接している。本発明では、キャップ部材で転動面をシールした状態において、そのキャップ部材の他側のシール部が、転動部材の周面の他側(湾曲面)に引っ掛けられるようにして接するようになる。
【0008】
第3発明の車両の転動部材のシール構造は、第2発明の車両の転動部材のシール構造において、転動部材には、周面の一側に位置する一端部が、周面に対して交差する方向に延びる縦壁状に形成されている。そしてキャップ部材は、一端部を覆う第一被覆部と、転動面を覆う第二被覆部とを一体で有し、一側に設けられたシール部は、第一被覆部に突設されていると共に、第一被覆部と一端部間の隙の入口部分に配置されている。本発明では、キャップ部材の一側のシール部によって、第一被覆部と一端部間の隙の入口部分が塞がれるようになる。
【0009】
第4発明の車両の転動部材のシール構造は、第1発明~第3発明のいずれかの車両の転動部材のシール構造において、装着状態のキャップ部材を他側から一側に移動させて転動部材から取外す構成とし、キャップ部材の他側の端部に、切欠き状の薄肉部が形成されている。本発明では、キャップ部材の取外し時に、そのキャップ部材の他側の端部が、薄肉部をきっかけに転動部材から外れ易くなる。これにより、取外し作業の際において、上記端部を除くキャップ部材部分に無理な力が加わり難くなり、例えば取外し用の持手部を設けるべきキャップ部材の一側部分の破損を極力回避できるようになる。
【0010】
第5発明の車両の転動部材のシール構造は、第4発明の車両の転動部材のシール構造において、キャップ部材の他側の端部には、所定の厚み寸法を備えた一般端部と、一般端部よりも薄肉とされた薄肉部とが隣接するように形成されている。本発明では、キャップ部材の端部に一般端部と薄肉部とを隣接させることで、薄肉部による過度の強度低下を抑制できるようになり、キャップ部材を転動部材に安定的に装着することが可能となる。
【発明の効果】
(【0011】以降は省略されています)
この特許をJ-PlatPat(特許庁公式サイト)で参照する
関連特許
トヨタ車体株式会社
成形方法
8日前
トヨタ車体株式会社
射出成形機
16日前
トヨタ車体株式会社
車両用カバー
2日前
トヨタ車体株式会社
車両用シート
7日前
トヨタ車体株式会社
ガーニッシュ
15日前
トヨタ車体株式会社
車両後部構造
23日前
トヨタ車体株式会社
車両用シート装置
1か月前
トヨタ車体株式会社
車両用ドア制御装置
15日前
トヨタ車体株式会社
車両用ドア制御装置
15日前
トヨタ車体株式会社
車両用シュノーケル
24日前
トヨタ車体株式会社
車両の転動部材のシール構造
4日前
トヨタ自動車株式会社
燃料電池用セパレータの製造方法
7日前
個人
物品保管箱
1か月前
個人
防犯用ドア装置
1か月前
個人
ピンシリンダー錠。
2か月前
リョービ株式会社
ヒンジ装置
4か月前
個人
顔認証による入室システム
2か月前
個人
ポスト機能付き手提げ金庫
1か月前
個人
二重ロック機能付小物入れ
1か月前
株式会社SKB
引き戸装置
4か月前
株式会社ニシムラ
ラッチ錠
3か月前
ミサワホーム株式会社
錠受具
2か月前
三協立山株式会社
開口部装置
1か月前
個人
無人貸金庫システム
7日前
リョービ株式会社
ドアクローザ
2か月前
リョービ株式会社
ドアクローザ
2か月前
株式会社アルファ
電気錠
2か月前
積水ハウス株式会社
引き戸
4日前
美和ロック株式会社
ハンドル装置
3か月前
マツ六株式会社
引戸用鎌錠
4か月前
株式会社榮伸
カバン蓋の係止装置
1か月前
有限会社シティング
引き戸
14日前
株式会社ベスト
開き扉の開閉装置
1か月前
積水ハウス株式会社
引き戸
16日前
株式会社ベスト
扉及び個室
4日前
タキゲン製造株式会社
抜差し蝶番
3か月前
続きを見る
他の特許を見る