TOP
|
特許
|
意匠
|
商標
特許ウォッチ
Twitter
他の特許を見る
公開番号
2025142872
公報種別
公開特許公報(A)
公開日
2025-10-01
出願番号
2024042468
出願日
2024-03-18
発明の名称
車両用カバー
出願人
トヨタ車体株式会社
代理人
個人
,
個人
主分類
B62D
25/20 20060101AFI20250924BHJP(鉄道以外の路面車両)
要約
【課題】不要な変形を抑えることのできる車両用カバーを提供すること。
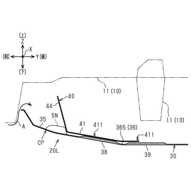
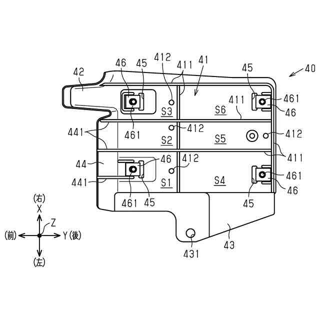
【解決手段】アンダーカバー20Lは、第1カバー30と第2カバー40とを有する。第1カバー30は、不織布により構成され、車両本体の下面に沿って延在して同下面における前輪の後側にあたる車輪後方部分を覆う。第2カバー40は、硬質の樹脂材料により構成され、第1カバー30よりも上側において車両本体の下面に沿って延在して上記車輪後方部分を覆う。第1カバー30および第2カバー40は上下方向Zに重ねられた状態で車両本体の同一箇所に一緒に固定される。第2カバー40は、車両本体の下面に沿って延在して車輪後方部分を覆うカバー本体41と、カバー本体41から上側に突出するとともに車幅方向Xに延在する突出壁部44とを含む。
【選択図】図2
特許請求の範囲
【請求項1】
車両本体の下面における車輪の車両後側にあたる車輪後方部分を覆う車両用カバーであって、
不織布により構成され、前記車両本体の下面に沿って延在して前記車輪後方部分を覆う第1カバーと、
硬質の樹脂材料または金属材料により構成され、前記第1カバーよりも車両上側において前記車両本体の下面に沿って延在して前記車輪後方部分を覆う第2カバーと、
前記第1カバーおよび前記第2カバーを車両上下方向に重ねた状態で前記車両本体の同一箇所に一緒に固定する固定部と、を備え、
前記第2カバーは、前記車両本体の下面に沿って延在して前記車輪後方部分を覆うカバー本体と、前記カバー本体から車両上側に突出するとともに車幅方向に延在する突出壁部と、を含む、
車両用カバー。
続きを表示(約 830 文字)
【請求項2】
前記突出壁部は、前記カバー本体の車両前側の端部に設けられる、
請求項1に記載の車両用カバー。
【請求項3】
前記第1カバーにおける前記突出壁部よりも車両前側の部分である前側部分においては、前記第1カバーを構成する前記不織布の繊維密度が、前記第1カバーの各部の中でも比較的高く設定されている、
請求項1または2に記載の車両用カバー。
【請求項4】
前記カバー本体は、車両上下方向に貫通する貫通孔により構成される排出孔であって、且つ、前記カバー本体における車両上側の面上に侵入する水を車両下側に排出する前記排出孔を有する、
請求項1または2に記載の車両用カバー。
【請求項5】
前記第1カバーにおける前記突出壁部よりも車両後側の部分である後側部分には、隣合う部分よりも前記不織布の繊維密度が高い部分により構成される水通路であって、且つ、車両上側の面が凹状をなすように車両前後方向に延びる前記水通路が設けられている、
請求項1に記載の車両用カバー。
【請求項6】
前記第1カバーにおける前記突出壁部よりも車両後側の部分である後側部分には、隣合う部分よりも前記不織布の繊維密度が高い部分により構成される水通路であって、且つ、車両上側の面が凹状をなすように車両前後方向に延びる前記水通路が設けられており、
前記カバー本体には、車両上下方向に貫通する貫通孔により構成される排出孔であって、且つ、前記カバー本体における車両上側の面上に侵入する水を車両下側に排出する前記排出孔が、前記水通路の真上に設けられている、
請求項1に記載の車両用カバー。
【請求項7】
前記第1カバーにおける前記水通路が設けられる部分は、車両後側に向かうほど車両下側の位置になるように延びている、
請求項5または6に記載の車両用カバー。
発明の詳細な説明
【技術分野】
【0001】
本発明は、車両用カバーに関するものである。
続きを表示(約 1,700 文字)
【背景技術】
【0002】
近年、車両下部の保護や車内騒音の低減のために、車両本体の下面に沿って延在して同下面を覆うカバーを設けることが提案されている(特許文献1参照)。
また、そうした車両用カバーの軽量化や同カバーによる騒音低減効果の向上を図るため、車両用カバーを不織布により構成することも提案されている。
【先行技術文献】
【特許文献】
【0003】
特開2020-78966号公報
【発明の概要】
【発明が解決しようとする課題】
【0004】
ここで、上記車両用カバーが設けられた車両が雪路を走行するときに、車両用カバーにおける車輪の後側にあたる部分においては、同車輪によって巻き上げられた雪が車両本体の下面と車両用カバーとの間に侵入して溜まる場合がある。
【0005】
上記車両用カバーは不織布により構成されるため、硬質の樹脂材料により構成される車両用カバーと比較して柔らかい。しかも、不織布により構成される車両用カバーに上述のように雪が溜まると、車両用カバー自体が浸水するおそれがある。この場合には、車両用カバーの重量が重くなるため、車両用カバーが変形し易くなってしまう。したがって、このときには車両用カバーが垂れ下がるように変形するおそれがあり、場合によっては車両用カバーが脱落するおそれもある。
【課題を解決するための手段】
【0006】
上記課題を解決するための装置の各態様を記載する。
[態様1]車両本体の下面における車輪の車両後側にあたる車輪後方部分を覆う車両用カバーであって、不織布により構成され、前記車両本体の下面に沿って延在して前記車輪後方部分を覆う第1カバーと、硬質の樹脂材料または金属材料により構成され、前記第1カバーよりも車両上側において前記車両本体の下面に沿って延在して前記車輪後方部分を覆う第2カバーと、前記第1カバーおよび前記第2カバーを車両上下方向に重ねた状態で前記車両本体の同一箇所に一緒に固定する固定部と、を備え、前記第2カバーは、前記車両本体の下面に沿って延在して前記車輪後方部分を覆うカバー本体と、前記カバー本体から車両上側に突出するとともに車幅方向に延在する突出壁部と、を含む、車両用カバー。
【0007】
上記構成によれば、車両用カバーの一部を不織布により構成される第1カバーにすることで、全体が硬質の樹脂材料や金属材料により構成されるものと比較して、車両用カバーの軽量化や同カバーによる騒音低減効果の向上を図ることができる。しかも、車両用カバーの一部を硬質の樹脂材料または金属材料により構成される第2カバーにすることで、車両用カバーに高い剛性を付与することができる。
【0008】
また上記構成によれば、車両用カバーと車両本体の下面との間に雪が侵入する場合であっても、第2カバーの突出壁部によって遮ることで、同突出壁部よりも車両後側への雪の侵入を抑えることができる。これにより、車両用カバーと車両本体の下面との間に侵入した雪と第1カバーとが接触する範囲を狭くすることができるため、同第1カバーへの浸水を抑えることができる。これにより、浸水によって第1カバーの重量が増加することが抑えられるため、第1カバーが垂れ下がるように変形するなどといった同第1カバーの不要な変形を抑えることができる。
【0009】
[態様2]前記突出壁部は、前記カバー本体の車両前側の端部に設けられる、[態様1]に記載の車両用カバー。
上記構成によれば、突出壁部がカバー本体における車両前後方向の途中に設けられる場合と比較して、車両後側への雪の侵入を広い範囲で抑えることができるため、第1カバーの不要な変形を好適に抑えることができる。
【0010】
[態様3]前記第1カバーにおける前記突出壁部よりも車両前側の部分である前側部分においては、前記第1カバーを構成する前記不織布の繊維密度が、前記第1カバーの各部の中でも比較的高く設定されている、[態様1]または[態様2]に記載の車両用カバー。
(【0011】以降は省略されています)
この特許をJ-PlatPat(特許庁公式サイト)で参照する
関連特許
トヨタ車体株式会社
成形方法
10日前
トヨタ車体株式会社
射出成形機
18日前
トヨタ車体株式会社
車両用カバー
4日前
トヨタ車体株式会社
車両用シート
9日前
トヨタ車体株式会社
ガーニッシュ
17日前
トヨタ車体株式会社
車両後部構造
25日前
トヨタ車体株式会社
車両用シート装置
1か月前
トヨタ車体株式会社
車両用ドア制御装置
17日前
トヨタ車体株式会社
車両用ドア制御装置
17日前
トヨタ車体株式会社
車両用シュノーケル
26日前
トヨタ車体株式会社
福祉車両用改造機器
1か月前
トヨタ車体株式会社
エンドミル、穴加工方法
1か月前
トヨタ車体株式会社
車両の転動部材のシール構造
6日前
トヨタ自動車株式会社
燃料電池用セパレータの製造方法
9日前
個人
カート
3か月前
個人
走行装置
3か月前
個人
乗り物
4か月前
個人
電動走行車両
3か月前
個人
折り畳み自転車
10か月前
個人
発音装置
7か月前
個人
閂式ハンドル錠
3か月前
個人
駐輪設備
1か月前
個人
電動モビリティ
7か月前
個人
ボギー・フレーム
1か月前
個人
自転車用傘捕捉具
11か月前
個人
“zen-go.”
2か月前
個人
自由方向乗車自転車
7か月前
個人
体重掛けリフト台車
10か月前
個人
ルーフ付きトライク
2か月前
個人
ルーフ付きトライク
1か月前
個人
パワーアシスト自転車
1か月前
個人
アタッチメント
11か月前
個人
自転車用荷物台
10か月前
個人
キャンピングトライク
8か月前
個人
ステアリングの操向部材
8か月前
株式会社CPM
駐輪機
11か月前
続きを見る
他の特許を見る