TOP
|
特許
|
意匠
|
商標
特許ウォッチ
Twitter
他の特許を見る
10個以上の画像は省略されています。
公開番号
2025144043
公報種別
公開特許公報(A)
公開日
2025-10-02
出願番号
2024043616
出願日
2024-03-19
発明の名称
窓用ステー及び開き窓
出願人
株式会社LIXIL
代理人
個人
,
個人
,
個人
主分類
E05C
17/34 20060101AFI20250925BHJP(錠;鍵;窓または戸の付属品;金庫)
要約
【課題】生産性が改善された窓用ステー及び開き窓を提供すること。
【解決手段】窓用ステーのベースプレートの一端部には、ベースプレートを貫通する開口部が設けられ、キャリッジをベースプレートの一端部に保持するストッパ部材が取り付けられており、ストッパ部材は、本体部と、本体部がベースプレートの裏面側に配置されるようにベースプレートを内側に挿通させる筒部と、係止位置と解除位置とに変位可能に設けられる解除ボタンと、を有し、キャリッジは、解除ボタンが係止位置に配置される状態において、ベースプレートの一端部におけるストッパ部材の筒部と解除ボタンとの間に摺動不能に保持され、解除ボタンが解除位置に配置される状態で、解除ボタンを通過して、ベースプレートと第2リンクプレートとの接続部に向けて摺動可能に設けられる。
【選択図】図5
特許請求の範囲
【請求項1】
窓枠への取り付け部を構成するベースプレートと、
前記ベースプレートの長さ方向に沿って摺動可能に設けられるキャリッジと、
一端部において前記キャリッジに揺動可能に接続される第1リンクプレートと、
一端部において前記ベースプレートに揺動可能に接続される第2リンクプレートと、
前記窓枠に納められる障子への取り付け部を構成し、前記第1リンクプレートの他端部と前記第2リンクプレートの他端部とにそれぞれ揺動可能に接続される可動プレートと、を備え、
前記キャリッジが、前記ベースプレートの一端部に配置された状態で、前記可動プレートは、前記障子を前記窓枠の内側に収容する閉鎖位置と、前記障子を前記窓枠から一方向に押し出す第1の押出位置と、の間で揺動可能に設けられ、
前記キャリッジが、前記ベースプレートの一端部から前記ベースプレートと前記第2リンクプレートとの接続部に向けて摺動した状態で、前記可動プレートは、前記障子を前記窓枠から前記第1の押出位置よりも前記一方向に押し出す第2の押出位置に配置される窓用ステーであって、
前記ベースプレートの前記一端部には、前記ベースプレートを貫通する開口部が設けられるとともに、前記キャリッジを前記ベースプレートの前記一端部に保持するストッパ部材が取り付けられており、
前記ストッパ部材は、
前記ベースプレートの長さ方向に沿って延びる本体部と、
前記本体部の一端部に配置され、前記本体部が前記ベースプレートの裏面側に配置されるように前記ベースプレートを内側に挿通させる筒部と、
前記本体部の他端部に配置され、前記開口部から前記ベースプレートの表面に突出する係止位置と、押下操作されることによって前記開口部に埋没する解除位置と、に変位可能に設けられる解除ボタンと、を有し、
前記キャリッジは、前記解除ボタンが前記係止位置に配置される状態において、前記ベースプレートの前記一端部における前記ストッパ部材の前記筒部と前記解除ボタンとの間に摺動不能に保持され、前記解除ボタンが前記解除位置に配置される状態で、前記解除ボタンを通過して、前記ベースプレートと前記第2リンクプレートとの接続部に向けて摺動可能に設けられる、窓用ステー。
続きを表示(約 410 文字)
【請求項2】
前記ストッパ部材の前記筒部の内側に、係止突起が設けられ、
前記ベースプレートの前記一端部に、前記係止突起と係合する切り欠き部が設けられ、
前記ストッパ部材は、前記ベースプレートを前記筒部の内側に挿通した状態で、前記係止突起が前記切り欠き部に係合することによって、前記ベースプレートに仮止めされる、請求項1に記載の窓用ステー。
【請求項3】
前記ストッパ部材は、前記本体部、前記筒部及び前記解除ボタンを一体に有する樹脂部品である、請求項1又は2に記載の窓用ステー。
【請求項4】
窓枠と、
前記窓枠の内側に開閉可能に納められる障子と、
請求項1又は2に記載の窓用ステーと、を備え、
前記窓用ステーの前記ベースプレートが、前記窓枠の見込み面に取り付けられ、前記可動プレートが、前記障子の見込み面に取り付けられる、開き窓。
発明の詳細な説明
【技術分野】
【0001】
本開示は、窓用ステー及び開き窓に関する。
続きを表示(約 2,900 文字)
【背景技術】
【0002】
従来、窓枠と障子とに亘って取り付けられ、障子を窓枠に対して室外側に向けて押し出すことによって窓を開放するように構成される開き窓に用いられる窓用ステーが知られている(例えば、特許文献1参照)。
【0003】
窓用ステーは、窓枠の見込み面に取り付けられるベースプレートに、キャリッジが摺動可能に取り付けられる。キャリッジには第1リンクプレートが揺動可能に接続され、ベースプレートには第2リンクプレートが揺動可能に接続される。第1リンクプレートと第2リンクプレートとに亘って可動プレートが揺動可能に接続される。可動プレートは、障子の見込み面に取り付けられる。窓用ステーは、キャリッジがベースプレートの一端部に配置された状態において、障子を閉鎖位置と室外側に向けて斜めに押し出す押出位置との間で移動させる。
【0004】
通常、キャリッジは、ベースプレートの一端部に保持され、解除ボタンの押下操作によって、ベースプレートと第2リンクプレートとの接続部に向けて摺動可能に構成される。窓用ステーは、キャリッジがベースプレートと第2リンクプレートとの接続部の近傍まで摺動することによって、障子をさらに室外側に向けて大きく押し出すことができる。これによって、窓枠の内側が大きく開放され、室内側から障子の室外側の面を容易に清掃することができる。
【先行技術文献】
【特許文献】
【0005】
特表2019-536927号公報
【発明の概要】
【発明が解決しようとする課題】
【0006】
窓用ステーの組み立て時、キャリッジは、ベースプレートの一端部からスライドさせることによって、ベースプレートに摺動可能に取り付けられる。キャリッジがベースプレートから抜け出すことを防止するためには、キャリッジをベースプレートに取り付けた後に、ベースプレートに抜け出し防止用の突起等を加工しなくてはならない。また、従来の窓用ステーのストッパ部材は、ベースプレートのカシメ後に追加工によって解除ボタンを設ける必要があった。このように、従来の窓用ステーは、生産性の観点で改善の余地がある。
【0007】
本開示は、生産性が改善された窓用ステー、及びその窓用ステーを備える開き窓を提供することを目的とする。
【課題を解決するための手段】
【0008】
本開示は、窓枠への取り付け部を構成するベースプレートと、前記ベースプレートの長さ方向に沿って摺動可能に設けられるキャリッジと、一端部において前記キャリッジに揺動可能に接続される第1リンクプレートと、一端部において前記ベースプレートに揺動可能に接続される第2リンクプレートと、前記窓枠に納められる障子への取り付け部を構成し、前記第1リンクプレートの他端部と前記第2リンクプレートの他端部とにそれぞれ揺動可能に接続される可動プレートと、を備え、前記キャリッジが、前記ベースプレートの一端部に配置された状態で、前記可動プレートは、前記障子を前記窓枠の内側に収容する閉鎖位置と、前記障子を前記窓枠から一方向に押し出す第1の押出位置と、の間で揺動可能に設けられ、前記キャリッジが、前記ベースプレートの一端部から前記ベースプレートと前記第2リンクプレートとの接続部に向けて摺動した状態で、前記可動プレートは、前記障子を前記窓枠から前記第1の押出位置よりも前記一方向に押し出す第2の押出位置に配置される窓用ステーであって、前記ベースプレートの前記一端部には、前記ベースプレートを貫通する開口部が設けられるとともに、前記キャリッジを前記ベースプレートの前記一端部に保持するストッパ部材が取り付けられており、前記ストッパ部材は、前記ベースプレートの長さ方向に沿って延びる本体部と、前記本体部の一端部に配置され、前記本体部が前記ベースプレートの裏面側に配置されるように前記ベースプレートを内側に挿通させる筒部と、前記本体部の他端部に配置され、前記開口部から前記ベースプレートの表面に突出する係止位置と、押下操作されることによって前記開口部に埋没する解除位置と、に変位可能に設けられる解除ボタンと、を有し、前記キャリッジは、前記解除ボタンが前記係止位置に配置される状態において、前記ベースプレートの前記一端部における前記ストッパ部材の前記筒部と前記解除ボタンとの間に摺動不能に保持され、前記解除ボタンが前記解除位置に配置される状態で、前記解除ボタンを通過して、前記ベースプレートと前記第2リンクプレートとの接続部に向けて摺動可能に設けられる、窓用ステーに関する。
【図面の簡単な説明】
【0009】
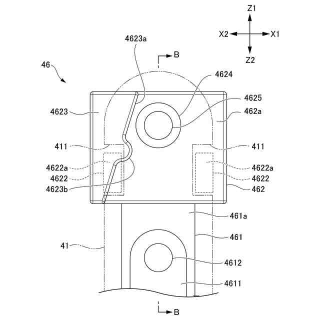
障子が第1の押出位置に配置された開き窓の斜視図である。
図1に示す開き窓の縦断面図である。
図1に示す開き窓の障子に取り付けられた窓用ステーを裏面側から見た側面図である。
図1に示す開き窓の窓用ステーのみを表面側から見た側面図である。
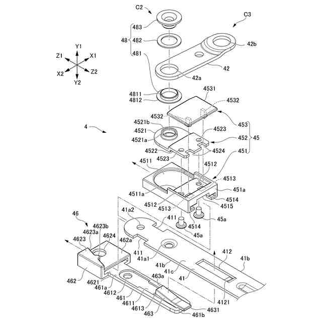
窓用ステーのベースプレートの一端部を分解して示す斜視図である。
窓用ステーのキャリッジを背面側から見た斜視図である。
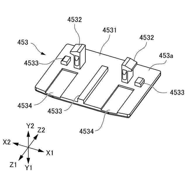
窓用ステーのキャリッジに設けられる金属プレート部材を表面側から見た斜視図である。
窓用ステーのキャリッジに取り付けられるカバー部材を裏面側から見た斜視図である。
窓用ステーのストッパ部材の一部を示す図である。
図9中のB-B線に沿う断面図である。
図4中のA-A線に沿う断面図である。
解除ボタンを解除位置に配置した窓用ステーを図4中のA-A線と同じ線に沿って切断した断面図である。
ベースプレートと第2リンクプレートとの接続部位を分解して示す斜視図である。
障子が第2の押出位置に配置された開き窓の斜視図である。
キャリッジを摺動させた窓用ステーを表面側から見た側面図である。
障子が閉鎖位置に配置された開き窓の縦断面図である。
障子が閉鎖位置に配置された開き窓における窓用ステーの一部を表面側から見た側面図である。
【発明を実施するための形態】
【0010】
以下、本開示の実施形態について図面を参照して詳細に説明する。図1及び図2に示すように、開き窓1は、窓枠2と、障子3と、一対の窓用ステー4,4と、を有して構成される。本実施形態に示す開き窓1は、障子3が室外側X1に向けて下り傾斜するように、障子3の下端側を室外側X1に押し出すことによって窓開口を開放するように構成される横辷り出し窓を例示している。但し、本開示の開き窓は、横辷り出し窓に限定されず、障子の左右のいずれか一方端側を室外側X1に押し出すことによって窓開口を開放するように構成される縦辷り出し窓であってもよい。
(【0011】以降は省略されています)
この特許をJ-PlatPat(特許庁公式サイト)で参照する
関連特許
株式会社LIXIL
建具
1か月前
株式会社LIXIL
シリンダ錠
1か月前
株式会社LIXIL
トイレ装置
1か月前
株式会社LIXIL
トレーラー
24日前
株式会社LIXIL
シャワー装置
9日前
株式会社LIXIL
湯水混合装置
22日前
株式会社LIXIL
二重窓の改装方法
15日前
株式会社LIXIL
カーテンウォール
1か月前
株式会社LIXIL
カーテンウォール
1か月前
株式会社LIXIL
洗浄水タンク装置
1か月前
株式会社LIXIL
可燃性ガス回収装置
1か月前
株式会社LIXIL
カバー材及び改装建具
1か月前
株式会社LIXIL
ドア開閉装置及びドア
9日前
株式会社LIXIL
カバー材及び改装建具
1か月前
株式会社LIXIL
カバー材及び改装建具
1か月前
株式会社LIXIL
建具及び建具の施工方法
1か月前
株式会社LIXIL
混合装置及び水回り装置
1か月前
株式会社LIXIL
シリンダ錠及び建物設備機器群
1か月前
株式会社LIXIL
ポンプ、及び電気温水器システム
1日前
株式会社LIXIL
ソファベッド、及び、トレーラー
24日前
株式会社LIXIL
支援装置、支援プログラム、及び方法
1か月前
株式会社LIXIL
太陽光発電給電シート、建物およびペリカバー
1か月前
株式会社LIXIL
トイレ装置、トイレシステム及び排卵推測装置
1か月前
株式会社LIXIL
物品収納提案装置、物品収納提案方法、端末装置
1か月前
株式会社LIXIL
床モジュール、床構造体及び床構造体の施工方法
1か月前
株式会社LIXIL
管理装置、管理方法、及びコンピュータプログラム
1か月前
株式会社LIXIL
管理装置、管理方法、及びコンピュータプログラム
1か月前
株式会社LIXIL
管理装置、管理方法、及びコンピュータプログラム
1か月前
株式会社LIXIL
建具
1日前
株式会社LIXIL
液膜装置、液膜形成方法、制御装置、及び水回り装置
24日前
株式会社LIXIL
開き窓
9日前
株式会社LIXIL
便器装置
1日前
株式会社LIXIL
改装サッシ
1か月前
株式会社LIXIL
屋根構造体
1か月前
株式会社LIXIL
表示制御装置、表示制御システム、プログラム及び表示制御方法
1か月前
株式会社LIXIL
制御装置、コンピュータプログラム、調整方法、及び、制御システム
1か月前
続きを見る
他の特許を見る