TOP
|
特許
|
意匠
|
商標
特許ウォッチ
Twitter
他の特許を見る
10個以上の画像は省略されています。
公開番号
2025144432
公報種別
公開特許公報(A)
公開日
2025-10-02
出願番号
2024044201
出願日
2024-03-19
発明の名称
障子、建具、及び障子の施工方法
出願人
株式会社LIXIL
代理人
個人
,
個人
,
個人
主分類
E06B
3/968 20060101AFI20250925BHJP(戸,窓,シャッタまたはローラブラインド一般;はしご)
要約
【課題】縦框の端部又は横框の端部の加工を少なくすることができる障子及び障子の施工方法を提供すること。
【解決手段】障子20は、一対の縦材23,24と一対の横材21,22とを有し、框組みされて構成された框体200と、框体200のコーナー部において縦材23,24と横材21,22との間に設けられるコーナーブロック25,26,27,28と、横材21,22の端部が縦材23,24のガラス溝底部230a,240a近傍に配置された状態で縦材23,24及び横材21,22の一部同士が見込み方向に見た場合に重なって配置される重なり部20a,20b,20c,20dと、縦材23,24と横材21,22とを締結すると共に、少なくとも一部がコーナーブロック25,26,27,28の内部に配置される固定部材25a,26a,27a,28aと、を備える。
【選択図】図11
特許請求の範囲
【請求項1】
一対の縦材と一対の横材とを有し、框組みされて構成された框体と、
前記框体のコーナー部において前記縦材と前記横材との間に設けられるコーナーブロックと、
前記横材及び前記縦材のいずれか一方の端部が、前記横材及び前記縦材のいずれか他方のガラス溝底部近傍に配置された状態で、前記縦材及び前記横材の一部同士が見込み方向に見た場合に重なって配置される重なり部と、
前記縦材と前記横材とを締結すると共に、少なくとも一部が前記コーナーブロックの内部に配置される固定部材と、を備える、障子。
続きを表示(約 750 文字)
【請求項2】
前記コーナーブロックは、前記縦材の長手方向の端部から前記縦材の内部に挿入して配置される挿入部を有する、請求項1に記載の障子。
【請求項3】
前記コーナーブロックは、外部に露出して配置される外観構成部と前記縦材の内部に挿入して配置される挿入部とを有して構成されるブロック本体部と、前記ブロック本体部に取り付けられ前記框体のコーナー部を補強する補強部と、を有する、請求項1に記載の障子。
【請求項4】
前記障子は、枠体内にスライド移動可能に配置され、
前記コーナーブロックは、前記枠体のレールが走行するレール走行溝となる切り欠き部を有する、請求項1~3のいずれかに記載の障子。
【請求項5】
前記コーナーブロックは、前記重なり部よりも外周側に配置される、請求項1~3のいずれかに記載の障子。
【請求項6】
前記横材の長手方向の端部は、前記縦材におけるガラスが飲み込まれて配置される飲み込み部に飲み込まれて配置され、
前記横材の長手方向の端部は、前記縦材の飲み込み部の底部の見込み面に当接する、請求項1~3のいずれかに記載の障子。
【請求項7】
建物躯体に設けられた開口部に固定される枠体と、
前記枠体内に配置される請求項1~3のいずれかに記載の障子と、を備える建具。
【請求項8】
請求項1~3のいずれかに記載の障子の施工方法であって、
前記コーナーブロックの挿入部を、前記縦材の長手方向の端部に挿入して取り付ける工程と、
前記コーナーブロックを取り付けた前記縦材を、前記固定部材により前記横材の長手方向の端部に固定する工程と、を含む障子の施工方法。
発明の詳細な説明
【技術分野】
【0001】
本開示は、障子、建具、及び障子の施工方法に関する。
続きを表示(約 2,900 文字)
【背景技術】
【0002】
従来、一対の縦框(縦材)と一対の横框(横材)とが框組みされて構成された框体と、框体内に配置されるガラスと、を備える障子が知られている(例えば、特許文献1参照)。
【先行技術文献】
【特許文献】
【0003】
特開2019-60225号公報
【発明の概要】
【発明が解決しようとする課題】
【0004】
特許文献1に記載の障子においては、縦框と横框とを組み合わせて取り付ける場合に、框体のコーナー部において、縦框の端部又は横框の端部を切り欠く切り欠き加工をする必要があった。縦框の端部又は横框の端部の加工を少なくすることが求められている。
【0005】
本開示は、縦框の端部又は横框の端部の加工を少なくすることができる障子、建具、及び障子の施工方法を提供することを目的とする。
【課題を解決するための手段】
【0006】
本開示は、一対の縦材と一対の横材とを有し、框組みされて構成された框体と、前記框体のコーナー部において前記縦材と前記横材との間に設けられるコーナーブロックと、前記横材及び前記縦材のいずれか一方の端部が、前記横材及び前記縦材のいずれか他方のガラス溝底部近傍に配置された状態で、前記縦材及び前記横材の一部同士が見込み方向に見た場合に重なって配置される重なり部と、前記縦材と前記横材とを締結すると共に、少なくとも一部が前記コーナーブロックの内部に配置される固定部材と、を備える、障子に関する。
【図面の簡単な説明】
【0007】
第1実施形態の縦辷り出し窓を室内側から見た図である。
図1のA-A線断面図である。
図1のB-B線断面図である。
第1実施形態の縦辷り出し窓の枠体を室内側から見た斜視図である。
図4の状態から、コーナーブロックを取り付けた一対の縦枠を、上枠及び下枠から取り外した状態を示す斜視図である。
アタッチメント部材を縦枠に取り付ける状態を示す図である。
縦枠からコーナーブロックを取り外した状態を示す斜視図である。
第1実施形態の縦辷り出し窓の障子を室内側から見た斜視図である。
第1実施形態の縦辷り出し窓の障子を室外側から見た斜視図である。
図8の状態から、コーナーブロックを取り付けた一対の縦框を、上框及び下框から取り外した状態を示す斜視図である。
図8のC-C線断面図である。
図8のD-D線断面図である。
縦框からコーナーブロックを取り外した状態を示す斜視図である。
第1実施形態の第1変形例を示す図であって、図13と比べて加熱発泡材を異なる位置に配置した図である。
第1実施形態の第2変形例を示す図であって、図13と比べて加熱発泡材を異なる位置に配置した図である。
第2実施形態の引き違い窓を室内側から見た図である。
図16のE-E線断面図である。
図16のF-F線断面図である。
第2実施形態の内障子を室内側から見た斜視図である。
第2実施形態の内障子を室外側から見た斜視図である。
図19の状態から、コーナーブロックを取り付けた一対の縦框を、上框及び下框から取り外した状態を示す斜視図である。
図19のG-G線断面図である。
図19のH-H線断面図である。
図19のI-I線断面図である。
内障子の召し合わせ縦框からコーナーブロックを取り外した状態を示す斜視図である。
内障子の戸先縦框からコーナーブロックを取り外した状態を示す斜視図である。
第2実施形態の第1変形例を示す図であって、図26の下框とは加熱発泡材を異なる位置に配置した図である。
障子の下框に戸車が取り付けられた状態を示す斜視図である。
図28において、障子の下框にスペーサ部材を介して戸車を取り付ける状態を示す図である。
第2実施形態の第2変形例を示す図であって、内障子の下框に2連の車を有すると戸車が取り付けられた状態を示す斜視図である。
図30において、障子の下框にスペーサ部材を介して2連の戸車を取り付ける状態を示す図である。
第3実施形態の内障子を室内側から見た斜視図である。
第3実施形態の内障子を室外側から見た斜視図である。
図32の状態から、コーナーブロックを取り付けた一対の縦框を、上框及び下框から取り外した状態を示す斜視図である。
図32のJ-J線断面図である。
図32のK-K線断面図である。
図32のL-L線断面図である。
内障子の召し合わせ縦框からコーナーブロックを取り外した状態を示す斜視図である。
内障子の戸先縦框からコーナーブロックを取り外した状態を示す斜視図である。
第4実施形態の連窓を室内側から見た図である。
第4実施形態の連窓を室内側から見た斜視図である。
第4実施形態の連窓を上方側から見た図である。
【発明を実施するための形態】
【0008】
以下、本開示の実施形態について、図面を参照しながら詳しく説明する。なお、本明細書において、「見込み方向」とは、建具における室内外方向に沿う方向である。「見付け方向」とは、建具における面材(ガラス)の面方向に沿う方向であり、見込み方向に対して直交する方向である。「見付け面」は、建具における室外側及び室内側に面するそれぞれの面を意味し、「見込み面」は、建具において室内外方向に延びる面を意味する。図面において、建具の室外側を「室外側X1」とし、建具の室内側を「室内側X2」とする。建具を正面視したときの横方向を「左右」とする。
【0009】
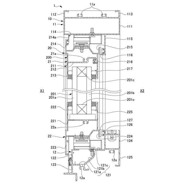
第1実施形態について説明する。第1実施形態は、建具を、縦辷り出し窓1により構成した実施形態である。図1~図3に示すように、縦辷り出し窓1(建具)は、建物躯体100に設けられた開口部110に納められる。縦辷り出し窓1は、枠体10(フレーム体)と、枠体10内に開閉可能に配置される障子20と、を備える。枠体10は、建物躯体100に固定されている。障子20は、戸先側を室外側X1に押出し、吊元側に設けられた図示しない回動軸を中心として回動させることで、開放可能となっている。
【0010】
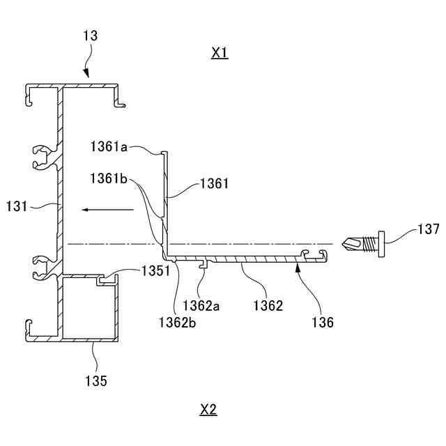
図2~図5に示すように、枠体10は、上枠11(横枠、横材)、下枠12(横枠、横材)及び左右の縦枠13,14(吊元側縦枠13及び戸先側縦枠14)(枠、縦材)が矩形に枠組みされて構成される。上枠11、下枠12及び左右の縦枠13,14は、アルミニウム材料などの金属材料を押出し成形することで形成される。
(【0011】以降は省略されています)
この特許をJ-PlatPat(特許庁公式サイト)で参照する
関連特許
株式会社LIXIL
トレーラー
25日前
株式会社LIXIL
湯水混合装置
23日前
株式会社LIXIL
シャワー装置
10日前
株式会社LIXIL
二重窓の改装方法
16日前
株式会社LIXIL
カーテンウォール
1か月前
株式会社LIXIL
ドア開閉装置及びドア
10日前
株式会社LIXIL
カバー材及び改装建具
1か月前
株式会社LIXIL
カバー材及び改装建具
1か月前
株式会社LIXIL
カバー材及び改装建具
1か月前
株式会社LIXIL
混合装置及び水回り装置
1か月前
株式会社LIXIL
ポンプ、及び電気温水器システム
2日前
株式会社LIXIL
ソファベッド、及び、トレーラー
25日前
株式会社LIXIL
床モジュール、床構造体及び床構造体の施工方法
1か月前
株式会社LIXIL
管理装置、管理方法、及びコンピュータプログラム
1か月前
株式会社LIXIL
管理装置、管理方法、及びコンピュータプログラム
1か月前
株式会社LIXIL
管理装置、管理方法、及びコンピュータプログラム
1か月前
株式会社LIXIL
建具
2日前
株式会社LIXIL
液膜装置、液膜形成方法、制御装置、及び水回り装置
25日前
株式会社LIXIL
開き窓
10日前
株式会社LIXIL
便器装置
2日前
株式会社LIXIL
制御装置、コンピュータプログラム、調整方法、及び、制御システム
1か月前
株式会社LIXIL
トイレ用キャビネット
2日前
株式会社LIXIL
評価装置、評価システム、ユーザ端末、評価方法、および評価プログラム
2日前
大和ハウス工業株式会社
外壁の断熱改修構造および外壁の断熱改修方法
1か月前
株式会社LIXIL
ホームシステム、人物検出装置、人物検出方法および人物検出プログラム
2日前
株式会社LIXIL
樹脂組成物成形体の製造方法
10日前
株式会社LIXIL
便器装置及び便器装置のカバー構造
23日前
株式会社LIXIL
制御装置、混合装置ユニット、水回り装置、コンピュータプログラム、及び制御方法
1か月前
株式会社LIXIL
制御装置、混合装置ユニット、水回り装置、コンピュータプログラム、及び制御方法
1か月前
株式会社セブン-イレブン・ジャパン
店舗営業支援システム
18日前
株式会社LIXIL
情報処理装置、サーバ、情報処理システム、情報処理方法および情報処理プログラム
10日前
株式会社LIXIL
ホームシステム、トリガー発生装置、トリガー発生方法およびトリガー発生プログラム
18日前
株式会社LIXIL
枠ユニットおよび枠ユニットの施工方法
2日前
株式会社LIXIL
制御装置、制御システム、制御方法およびプログラム
2日前
株式会社ナカオ
作業台
2か月前
中国電力株式会社
脚立
3か月前
続きを見る
他の特許を見る