TOP
|
特許
|
意匠
|
商標
特許ウォッチ
Twitter
他の特許を見る
公開番号
2025144959
公報種別
公開特許公報(A)
公開日
2025-10-03
出願番号
2024044903
出願日
2024-03-21
発明の名称
ホームシステム、サーバ、オーナー認証方法およびオーナー認証プログラム
出願人
株式会社LIXIL
代理人
個人
,
個人
,
個人
主分類
G06Q
50/163 20240101AFI20250926BHJP(計算;計数)
要約
【課題】住宅などの施設の新しい居住者が容易かつ安全に使い始めることができるホームシステム等を提供する。
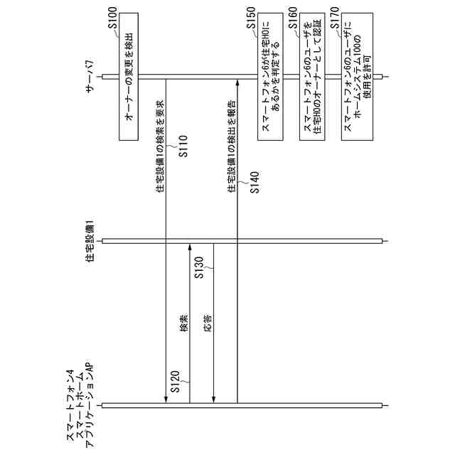
【解決手段】ホームシステムは、サーバと、住宅などの施設に設置されて前記サーバと通信可能な施設設備と、前記サーバと通信可能な端末装置と、を備え、前記サーバは、前記端末装置が前記施設にあるか否かを判定し、前記端末装置が前記施設にあるとき、前記施設にある前記端末装置のユーザを前記施設のオーナーとして認証する。
【選択図】図1
特許請求の範囲
【請求項1】
サーバと、
施設に設置されて前記サーバと通信可能な施設設備と、
前記サーバと通信可能な端末装置と、
を備え、
前記サーバは、
前記端末装置が前記施設にあるか否かを判定し、
前記端末装置が前記施設にあるとき、前記施設にある前記端末装置のユーザを前記施設のオーナーとして認証する、
ホームシステム。
続きを表示(約 1,100 文字)
【請求項2】
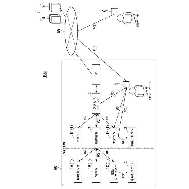
前記端末装置は、前記施設に設置された施設ネットワークに接続可能であり、
前記サーバは、前記端末装置が前記施設ネットワークに接続可能であるとき、前記端末装置が前記施設にあると判定する、
請求項1に記載のホームシステム。
【請求項3】
前記サーバは、前記端末装置が前記施設ネットワークを介して接続される前記施設設備と通信可能であるとき、前記端末装置が前記施設にあると判定する、
請求項2に記載のホームシステム。
【請求項4】
前記サーバは、
前記端末装置に前記施設設備に対する動作指示を送信し、
前記施設設備から前記施設設備の状態を取得し、
前記施設設備の状態が前記動作指示通りに変化しているとき、前記動作指示を受信した前記端末装置が前記施設内にあると判定する、
請求項1に記載のホームシステム。
【請求項5】
前記サーバは、前記施設設備との通信経路のいずれかのグローバルIPアドレスが変更されたとき、前記施設のオーナーの認証を実施する、
請求項1に記載のホームシステム。
【請求項6】
施設に設置された施設設備および端末装置と通信可能なサーバであって、
前記端末装置が前記施設にあるか否かを判定し、
前記端末装置が前記施設にあるとき、前記施設にある前記端末装置のユーザを前記施設のオーナーとして認証する、
サーバ。
【請求項7】
前記端末装置は、前記施設に設置された施設ネットワークに接続可能であり、
前記端末装置が前記施設ネットワークに接続可能であるとき、前記端末装置が前記施設にあると判定する、
請求項6に記載のサーバ。
【請求項8】
前記端末装置が前記施設ネットワークを介して接続される前記施設設備と通信可能であるとき、前記端末装置が前記施設にあると判定する、
請求項7に記載のサーバ。
【請求項9】
前記端末装置に前記施設設備に対する動作指示を送信し、
前記施設設備から前記施設設備の状態を取得し、
前記施設設備の状態が前記動作指示通りに変化しているとき、前記動作指示を受信した前記端末装置が前記施設内にあると判定する、
請求項6に記載のサーバ。
【請求項10】
前記施設設備との通信経路のいずれかのグローバルIPアドレスが変更されたとき、前記施設のオーナーの認証を実施する、
請求項6に記載のサーバ。
(【請求項11】以降は省略されています)
発明の詳細な説明
【技術分野】
【0001】
本開示は、ホームシステム、サーバ、オーナー認証方法およびオーナー認証プログラムに関する。
続きを表示(約 1,300 文字)
【背景技術】
【0002】
インターネットに接続可能な住宅設備等が増えている。インターネットに接続された住宅設備等を活用して居住者に快適で便利な機能を提供するスマートホームシステムが提案されている。例えば、スマートフォン等による遠隔操作により玄関ドアなどの施錠や解錠を管理できるスマートロックがスマートホームシステムの一部として導入されている。
【0003】
スマートホームシステムが導入された住宅の居住者が変わった場合、スマートホームシステムを使用可能なユーザを前の居住者から新しい居住者に変更する必要がある。スマートホームシステムを使用可能なユーザの登録(以下、「ユーザ登録」ともいう)が適切に変更されなければ、スマートホームシステムのセキュリティの確保が難しい。
【0004】
スマートホームシステムが導入された住宅の居住者が変わった場合におけるスマートホームシステムのセキュリティを確保する方法が提案されている。例えば、特許文献1に記載の集合住宅システムは、居住者が退去したときに住居端末に記憶された個人情報を削除する。
【先行技術文献】
【特許文献】
【0005】
特開2012-124861号公報
【発明の概要】
【発明が解決しようとする課題】
【0006】
しかしながら、スマートホームシステムが導入された住宅の居住者が変わった場合においてユーザ登録が適切に変更されなければ、従来のスマートホームシステムは住宅の居住者が変わったことを判断できず、新しい居住者はスマートホームシステムを安全に使い始めることが難しい。
【0007】
上記事情を踏まえ、本開示は、住宅などの施設の新しい居住者が容易かつ安全に使い始めることができるホームシステム、サーバ、オーナー認証方法およびオーナー認証プログラムを提供することを目的とする。
【課題を解決するための手段】
【0008】
本開示の第一の態様に係るホームシステムは、サーバと、施設に設置されて前記サーバと通信可能な施設設備と、前記サーバと通信可能な端末装置と、を備え、前記サーバは、前記端末装置が前記施設にあるか否かを判定し、前記端末装置が前記施設にあるとき、前記施設にある前記端末装置のユーザを前記施設のオーナーとして認証する。
【0009】
本開示の第二の態様に係るサーバは、施設に設置された施設設備および端末装置と通信可能なサーバであって、前記端末装置が前記施設にあるか否かを判定し、前記端末装置が前記施設にあるとき、前記施設にある前記端末装置のユーザを前記施設のオーナーとして認証する。
【0010】
本開示の第三の態様に係るオーナー認証方法は、施設に設置された施設設備を使用可能なオーナーを認証する方法であって、端末装置が前記施設にあるか否かを判定し、前記端末装置が前記施設にあるとき、前記施設にある前記端末装置のユーザを前記施設のオーナーとして認証する。
(【0011】以降は省略されています)
この特許をJ-PlatPat(特許庁公式サイト)で参照する
関連特許
株式会社LIXIL
建具
2日前
株式会社LIXIL
建具
10日前
株式会社LIXIL
建具
10日前
株式会社LIXIL
建具
10日前
株式会社LIXIL
建具
10日前
株式会社LIXIL
建具
10日前
株式会社LIXIL
建具
10日前
株式会社LIXIL
建具
9日前
株式会社LIXIL
トイレ装置
2日前
株式会社LIXIL
シリンダ錠
5日前
株式会社LIXIL
宅配ボックス
10日前
株式会社LIXIL
汚物処理装置
9日前
株式会社LIXIL
洗浄水タンク装置
9日前
株式会社LIXIL
可燃性ガス回収装置
9日前
株式会社LIXIL
窓用ステー及び開き窓
10日前
株式会社LIXIL
窓用ステー及び開き窓
10日前
株式会社LIXIL
建具及び建具の施工方法
2日前
株式会社LIXIL
建具および建具の改装方法
9日前
株式会社LIXIL
建具および建具の改装方法
9日前
株式会社LIXIL
建具および建具の改装方法
10日前
株式会社LIXIL
建具および建具の改装方法
10日前
株式会社LIXIL
建具および建具の改装方法
9日前
株式会社LIXIL
シリンダ錠及び建物設備機器群
5日前
株式会社LIXIL
トイレ装置及びトイレシステム
9日前
株式会社LIXIL
床タイル及び床タイルの製造方法
10日前
株式会社LIXIL
障子、建具、及び障子の施工方法
10日前
株式会社LIXIL
障子、建具、及び障子の施工方法
10日前
株式会社LIXIL
宅配ボックス及び宅配ボックスの設置方法
10日前
株式会社LIXIL
トイレ装置、トイレシステム及び排卵推測装置
9日前
株式会社LIXIL
太陽光発電給電シート、建物およびペリカバー
9日前
株式会社LIXIL
物品収納提案装置、物品収納提案方法、端末装置
2日前
株式会社LIXIL
駆逐装置、駆逐システム、駆逐方法および駆逐プログラム
9日前
株式会社LIXIL
洗浄ハンドルユニット、洗浄タンクユニット及び便器装置
10日前
株式会社LIXIL
改装サッシ
9日前
株式会社LIXIL
表示制御装置、表示制御システム、プログラム及び表示制御方法
5日前
株式会社LIXIL
汚水処理装置、汚水処理システム、および汚水処理システムの施工方法
9日前
続きを見る
他の特許を見る