TOP
|
特許
|
意匠
|
商標
特許ウォッチ
Twitter
他の特許を見る
10個以上の画像は省略されています。
公開番号
2025143926
公報種別
公開特許公報(A)
公開日
2025-10-02
出願番号
2024043441
出願日
2024-03-19
発明の名称
宅配ボックス及び宅配ボックスの設置方法
出願人
株式会社LIXIL
代理人
個人
,
個人
,
個人
主分類
A47G
29/14 20060101AFI20250925BHJP(家具;家庭用品または家庭用設備;コーヒーひき;香辛料ひき;真空掃除機一般)
要約
【課題】ベース部材を用いて簡単に設置できる宅配ボックス及び宅配ボックスの設置方法を提供すること。
【解決手段】宅配ボックス1は、収納部7を備える宅配ボックス本体部10と、床面に固定されるベース部材6と、を備え、ベース部材6は、床面に固定される固定部61と、固定部61から立設する壁部62と、を有し、壁部62が宅配ボックス本体部10に差し込まれて設置され、固定部61は、床面にアンカー固定又は接着固定され、宅配ボックス本体部10は、扉4を有する前枠体2Aと、後枠体2Bと、後枠体2Bに対して前枠体2Aを前後方向に移動可能に連結する連結部3と、をさらに備える。
【選択図】図17
特許請求の範囲
【請求項1】
収納部を備える宅配ボックス本体と、
床面に固定されるベース部材と、を備え、
前記ベース部材は、床面に固定される固定部と、前記固定部から立設する壁部と、を有し、
前記壁部が前記宅配ボックス本体に差し込まれて設置される、宅配ボックス。
続きを表示(約 690 文字)
【請求項2】
前記固定部は、前記床面にアンカー固定又は接着固定される、請求項1に記載の宅配ボックス。
【請求項3】
前記宅配ボックス本体は、
扉を有する前枠体と、
後枠体と、
前記後枠体に対して前記前枠体を前後方向に移動可能に連結する連結部と、をさらに備え、
前記収納部は、前記前枠体と前記後枠体に折り畳み可能に取り付けられ、前記前枠体の前方移動により展開される一方で前記前枠体の後方移動により折り畳まれる、請求項1又は2に記載の宅配ボックス。
【請求項4】
前記宅配ボックス本体は、前記後枠体に設けられる背面カバーをさらに備え、
前記壁部は、前記背面カバーとの間に隙間を有して前記宅配ボックス本体に差し込まれる、請求項3に記載の宅配ボックス。
【請求項5】
前記前枠体は、その底面に設けられて前記固定部上を走行する車輪を有し、
前記ベース部材は、前記固定部における前記車輪の走行軌跡上に突出部を備え、
前記宅配ボックス本体は、前記車輪が前記突出部に係止されることで前記収納部が折り畳まれた状態が保持され、前記折り畳まれた状態から前記車輪が前記突出部を乗り越えることで前記収納部が展開される、請求項3に記載の宅配ボックス。
【請求項6】
請求項1又は2に記載の宅配ボックスの設置方法であって、
前記ベース部材の前記固定部を前記床面に固定し、
前記ベース部材の前記壁部を前記宅配ボックス本体に差し込んで設置する、宅配ボックスの設置方法。
発明の詳細な説明
【技術分野】
【0001】
本発明は、宅配ボックス及び宅配ボックスの設置方法に関する。
続きを表示(約 2,000 文字)
【背景技術】
【0002】
従来、折り畳み可能な宅配ボックスが広く知られている。宅配ボックスは、折り畳まれた状態で玄関周り等に設置され、住民不在時における荷物の配達の際には、宅配業者によって組み立てられた状態へと展開されて、ボックス内部に荷物を預入れることができる。
【0003】
折り畳み可能な宅配ボックスは、未使用時にコンパクトに収納が可能であり、玄関周りや建物に設置してもあまり目立たず、また歩行の邪魔になり難いという利点がある。その反面、宅配ボックスがコンパクト化されているため、外に置かれた場合に盗難が生じやすいという課題もあった。この課題を解決するために、宅配ボックスの盗難防止対策として、壁面や、床に設置されたベース部材を介して、宅配ボックスをアンカー固定させる設置方法が提案されている。(特許文献1参照)。
【先行技術文献】
【特許文献】
【0004】
特開2007-54412号公報
【発明の概要】
【発明が解決しようとする課題】
【0005】
しかしながら、特許文献1においては、宅配ボックスがどのような方法で設置されるのかについて、具体的に検討がなされていない。また、折り畳み可能な宅配ボックスに限らず、他の形態の宅配ボックスについても、盗難防止等の観点から宅配ボックスの設置方法には検討が必要である。例えば、専門業者による工事を必要とせず、住民自身で設置可能な宅配ボックス等においても、同様の課題が生じる可能性がある。
【0006】
本開示は、ベース部材を用いて簡単に設置できる宅配ボックス及び宅配ボックスの設置方法を提供することを目的とする。
【課題を解決するための手段】
【0007】
本開示は、収納部を備える宅配ボックス本体と、床面に固定されるベース部材と、を備え、ベース部材は、床面に固定される固定部と、前記固定部から立設する壁部と、を有し、壁部が前記宅配ボックス本体に差し込まれて設置される、宅配ボックス及び宅配ボックスの設置方法に関する。
【図面の簡単な説明】
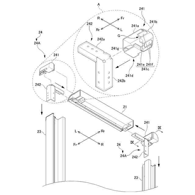
【0008】
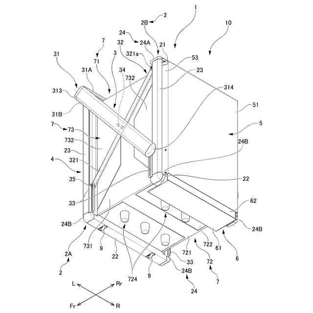
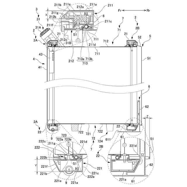
本開示に係る宅配ボックスが展開された様子を示す斜視図である。
図1の宅配ボックスを、下方背面から見上げた斜視図である。
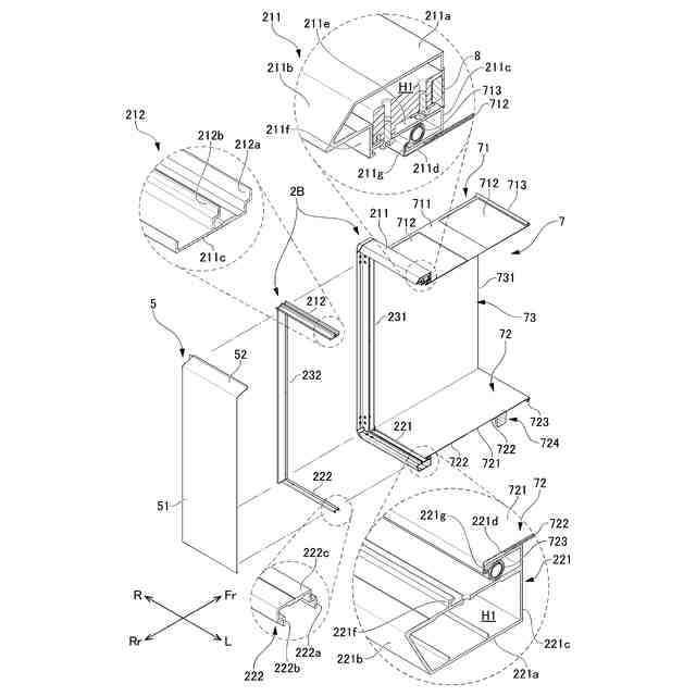
図1の分解斜視図である。
図1のIV-IV線拡大断面図である。
図1のV-V線拡大断面図である。
本開示に係る背面側構造の分解斜視図である。
本開示に係る前枠体の分解斜視図である。
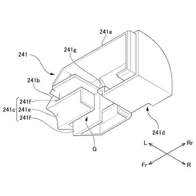
本開示に係るコーナーキャップを下方から見上げた斜視図である。
図7のIX-IX線拡大断面図である
本開示に係る第1リンク部材の部分拡大分解斜視図である。
図10の第1リンク部材を、下方から見上げた斜視図である。
図1のXII-XII線拡大断面図である。
図1の宅配ボックスの扉が開いた様子を示す斜視図である。
本開示に係るベース部材がボックス本体部に接続される様子を示す斜視図である。
本開示に係る収納部の断面斜視図である。
本開示に係る宅配ボックスが折り畳まれた様子を示す斜視図である。
図17の宅配ボックスを、下方背面から見上げた斜視図である。
図16のXVIII-XVIII線拡大断面図である。
図16のXIX-XIX線拡大断面図である。
本開示に係る宅配ボックスが折り畳まれた状態から展開される様子を示す模式図である。
図16の宅配ボックスの扉を開いた様子を示す正面図である。
本開示に係る収納部が変形する様子を示す斜視図である。
図18のXXIII部分拡大図である。
【発明を実施するための形態】
【0009】
以下、本開示の実施形態について、図面を参照しながら詳細に説明する。なお、本開示の図面においては、互いに直交し合う所定の4方向を「Fr方向」「Rr方向」「R方向」「L方向」で表す。「Fr方向」は宅配ボックス1において、荷物が出し入れされる扉4の設けられた正面方向を、「Rr方向」は宅配ボックス1の背面方向を、「R方向」は宅配ボックス1を正面から見た場合の右方向を、「L方向」は宅配ボックス1を正面から見た場合の左方向を、それぞれ示す。
【0010】
図1及び図2に示すように、本実施形態の宅配ボックス1は、ベース部材6によって図示しない床面に固定され、建物の屋外に設置されて使用される。設置される床面は屋根の有無に関わらず、キャスター9が転動可能な床面であれば、どのような場所にも設置することができる。ボックス本体部10は、ベース部材6を除いたすべての部材で構成される。
(【0011】以降は省略されています)
この特許をJ-PlatPat(特許庁公式サイト)で参照する
関連特許
株式会社LIXIL
建具
1日前
株式会社LIXIL
トイレ装置
1日前
株式会社LIXIL
建具及び建具の施工方法
1日前
株式会社LIXIL
シリンダ錠及び建物設備機器群
4日前
株式会社LIXIL
物品収納提案装置、物品収納提案方法、端末装置
1日前
株式会社LIXIL
表示制御装置、表示制御システム、プログラム及び表示制御方法
4日前
株式会社LIXILトータルサービス
コンピュータープログラム、情報管理装置、端末装置、情報管理システム及び制御方法
1日前
個人
椅子
1か月前
個人
家具
3か月前
個人
自助箸
5か月前
個人
掃除機
7か月前
個人
枕
4か月前
個人
枕
7か月前
個人
掃除道具
7か月前
個人
掃除用具
2か月前
個人
屋外用箒
6か月前
個人
体洗い具
9か月前
個人
ソファー
22日前
個人
耳拭き棒
9か月前
個人
ハンガー
5か月前
個人
省煙消臭器
7か月前
個人
組立式棚板
6か月前
個人
掃除シート
8か月前
個人
エコ掃除機
10か月前
個人
物品
1か月前
個人
片手代替具
10か月前
個人
開閉トング
5か月前
個人
中身のない枕
6か月前
個人
ゴミ袋保持枠
5か月前
個人
シャワー装置
4か月前
個人
転倒防止装置
3か月前
個人
紙コップ 蓋
1か月前
個人
靴ベラ
1か月前
個人
洗面台
9か月前
個人
経典表示装置
3か月前
個人
折り畳み椅子
12か月前
続きを見る
他の特許を見る