TOP
|
特許
|
意匠
|
商標
特許ウォッチ
Twitter
他の特許を見る
公開番号
2025145197
公報種別
公開特許公報(A)
公開日
2025-10-03
出願番号
2024045257
出願日
2024-03-21
発明の名称
トイレ装置及びトイレシステム
出願人
株式会社LIXIL
代理人
個人
,
個人
,
個人
主分類
E03D
11/02 20060101AFI20250926BHJP(上水;下水)
要約
【課題】女性の月経開始日などを適切なタイミングで報知できるトイレ装置を提供すること。
【解決手段】トイレ装置1は、便座12と、便座12に着座した人の人体情報を測定する人体情報測定部14と、人体情報測定部14により測定された人体情報に基づいて、前記便座に着座した女性の月経及び排卵に関する月経排卵情報を推測する推測部182と、推測部182により推測された月経排卵情報の推測情報を報知部17に送信する報知制御部183と、を備え、報知制御部183は、人がトイレ室に入室した入室信号を受信してから、人が便座12から脱座した脱座信号を受信した後から予め設定された所定時間経過後までの間に、推測情報の報知を行うように報知部17を制御する。
【選択図】図4
特許請求の範囲
【請求項1】
便座と、
前記便座に着座した人の人体情報を測定する人体情報測定部と、
前記人体情報測定部により測定された前記人体情報に基づいて、前記便座に着座した女性の月経及び排卵に関する月経排卵情報を推測する推測部と、
前記推測部により推測された前記月経排卵情報の推測情報を報知部に送信する報知制御部と、を備え、
前記報知制御部は、人がトイレ室に入室した入室信号を受信してから、人が前記便座から脱座した脱座信号を受信した後から予め設定された所定時間経過後までの間に、前記推測情報の報知を行うように前記報知部を制御する、トイレ装置。
続きを表示(約 1,100 文字)
【請求項2】
前記月経排卵情報は、月経開始日、月経終了日、月経周期、排卵日、月経前症候群開始日、月経前症候群終了日及び月経前症候群期間の少なくともいずれか一以上である、請求項1に記載のトイレ装置。
【請求項3】
前記報知制御部は、人がトイレ室に入室した入室信号を受信してから人が前記便座から脱座した脱座信号を受信した後であって、前記脱座信号を受信した後から予め設定された所定時間以内に、前記推測情報の報知を行うように前記報知部を制御する請求項1に記載のトイレ装置。
【請求項4】
前記報知制御部は、人が前記トイレ室に入室した入室信号を受信してから、人が前記便座から脱座した脱座信号を受信するまでの間に、前記推測情報の報知を行うように前記報知部を制御する、請求項1に記載のトイレ装置。
【請求項5】
前記報知制御部は、人が前記トイレ室に入室した入室信号を受信し、かつ、人が前記便座から脱座した脱座信号を受信した時に、前記推測情報の報知を行うように前記報知部を制御する、請求項4に記載のトイレ装置。
【請求項6】
前記報知制御部は、人が前記トイレ室に入室した入室信号を受信し、かつ、前記人体情報測定部により前記人体情報の測定が終了した後であって、前記人体情報の測定が終了した後から予め設定された所定時間以内に、前記推測情報の報知を行うように前記報知部を制御する請求項4に記載のトイレ装置。
【請求項7】
前記報知制御部は、人が前記トイレ室に入室した入室信号を受信し、かつ、前記人体情報測定部により前記人体情報の測定が終了した時に、前記推測情報の報知を行うように前記報知部を制御する、請求項4に記載のトイレ装置。
【請求項8】
前記報知制御部は、人が前記トイレ室に入室した入室信号を受信し、かつ、前記人体情報測定部により前記人体情報の測定が開始されてから終了までの間の測定中に、前記推測情報の報知を行うように前記報知部を制御する、請求項4に記載のトイレ装置。
【請求項9】
前記報知制御部は、人が前記トイレ室に入室した入室信号を受信し、かつ、人が前記便座に着座した着座信号を受信した後であって、前記人体情報測定部により前記人体情報の測定する前に、前記推測情報の報知を行うように前記報知部を制御する請求項4に記載のトイレ装置。
【請求項10】
前記報知制御部は、人が前記トイレ室に入室した入室信号を受信してから人が前記便座に着座した着座信号を受信するまでの間に、前記推測情報の報知を行うように前記報知部を制御する、請求項1に記載のトイレ装置。
(【請求項11】以降は省略されています)
発明の詳細な説明
【技術分野】
【0001】
本開示は、女性の月経開始日などを推測するトイレ装置及びトイレシステムに関する。
続きを表示(約 1,700 文字)
【背景技術】
【0002】
従来、女性の尿の尿温度を測定して、測定された尿温の変化に基づいて月経周期から月経開始日などを推測することで、その推測した月経開始日などの結果を表示により報知するトイレ装置が知られている(例えば、特許文献1参照)。特許文献1に記載のトイレ装置においては、女性の尿の尿温度を測定する場合において、尿温度を赤外線センサで計測したり、尿受けにより尿を採取して尿温度を温度計で測定する。
【先行技術文献】
【特許文献】
【0003】
特開2005-30992号公報
【発明の概要】
【発明が解決しようとする課題】
【0004】
特許文献1に記載の技術においては、推測した月経開始日などの結果を表示により報知するが、適切なタイミングで月経開始日などを報知しているとは言えない。月経開始日などの報知を適切なタイミングで行わないと、不都合が生じる場合がある。
【0005】
例えば、特に近日中に月経開始が推測される場合に、トイレ室で服を着てしまった後やトイレ室の外に出てしまった後に、月経開始日などの通知を受け取ったとしても、トイレ室で服を着てしまった場合に再び服を脱いだり、トイレ室の外に出てしまった場合にトイレ室に戻ったりすることが必要になることがあり、二度手間となる。また、通知のタイミングが遅かったり、利用者が通知に気が付かない場合には、外出先などで経血によるトラブルが生じ得る。そのため、月経開始日や排卵日や月経前症候群開始日を適切なタイミングで報知できることが求められている。
【0006】
本開示は、女性の月経開始日などを適切なタイミングで報知できるトイレ装置及びトイレシステムを提供することを目的とする。
【課題を解決するための手段】
【0007】
本開示は、便座と、前記便座に着座した人の人体情報を測定する人体情報測定部と、前記人体情報測定部により測定された前記人体情報に基づいて、前記便座に着座した女性の月経及び排卵に関する月経排卵情報を推測する推測部と、前記推測部により推測された前記月経排卵情報の推測情報を報知部に送信する報知制御部と、を備え、前記報知制御部は、人がトイレ室に入室した入室信号を受信してから、人が前記便座から脱座した脱座信号を受信した後から予め設定された所定時間経過後までの間に、前記推測情報の報知を行うように前記報知部を制御する、トイレ装置に関する。
【図面の簡単な説明】
【0008】
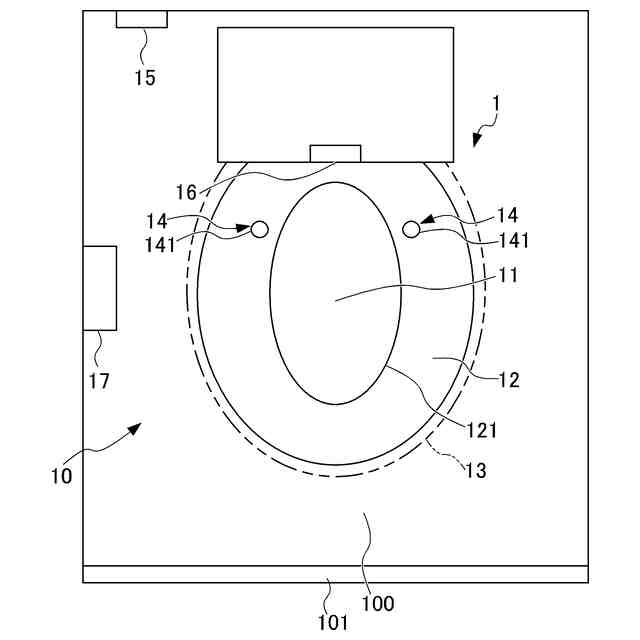
一実施形態のトイレ装置を示す図である。
一実施形態のトイレ装置の機能ブロック図である。
基礎体温法における月経周期の一例を示すグラフである。
報知部による報知タイミングを示す図である。
トイレ装置を女性の使用者が使用する場合のフローを示すフローチャートである。
【発明を実施するための形態】
【0009】
以下、本開示の一実施形態について図面を参照しながら詳細に説明する。以下の説明において、便座12に着座した使用者から見た場合の前後の向きを前後方向とする。便座12に着座した使用者から見た場合の左右の向きを左右方向とする。便器11が設置される床面に対する鉛直方向に沿う上下の向きを上下方向とする。
【0010】
本実施形態のトイレ装置1は、女性特有の健康管理を行うため、女性の使用者が便座12に着座することで便座12に設けられた体温測定センサ14により女性の体温を日々測定して、日々測定した女性の使用者の体温に基づいて、女性の月経及び排卵に関する月経排卵情報、つまり、女性特有の月経開始日、月経終了日、月経周期、排卵日、月経前症候群(PMS)の開始日、PMSの終了日、PMS期間を推測し、月経開始推測日、月経終了推測日、推測月経周期、排卵推測日、月経前症候群(PMS)の開始推測日、PMSの終了推測日、推測PMS周期を報知する装置である。また、トイレ装置1は、日々測定した女性の使用者の体温に基づいて、過去の排卵日なども推測し、推測した過去の排卵日を報知する機能も有する。
(【0011】以降は省略されています)
この特許をJ-PlatPat(特許庁公式サイト)で参照する
関連特許
株式会社LIXIL
建具
4日前
株式会社LIXIL
建具
17日前
株式会社LIXIL
建具
7日前
株式会社LIXIL
建具
17日前
株式会社LIXIL
建具
4日前
株式会社LIXIL
建具
4日前
株式会社LIXIL
建具
4日前
株式会社LIXIL
建具
4日前
株式会社LIXIL
建具
4日前
株式会社LIXIL
建具
17日前
株式会社LIXIL
建具
3日前
株式会社LIXIL
建具
7日前
株式会社LIXIL
建具
17日前
株式会社LIXIL
便器装置
5日前
株式会社LIXIL
汚物処理装置
3日前
株式会社LIXIL
日除けシート
7日前
株式会社LIXIL
宅配ボックス
4日前
株式会社LIXIL
太陽電池ガラス
7日前
株式会社LIXIL
洗浄水タンク装置
3日前
株式会社LIXIL
可燃性ガス回収装置
3日前
株式会社LIXIL
窓用ステー及び開き窓
4日前
株式会社LIXIL
窓用ステー及び開き窓
4日前
株式会社LIXIL
建具及び建具の改修方法
18日前
株式会社LIXIL
建具および建具の改装方法
3日前
株式会社LIXIL
建具および建具の改装方法
4日前
株式会社LIXIL
建具および建具の改装方法
3日前
株式会社LIXIL
建具および建具の改装方法
3日前
株式会社LIXIL
建具および建具の改装方法
4日前
株式会社LIXIL
改装建具及び建具の防火構造
11日前
株式会社LIXIL
トイレ装置及びトイレシステム
3日前
株式会社LIXIL
障子、建具、及び障子の施工方法
4日前
株式会社LIXIL
床タイル及び床タイルの製造方法
4日前
株式会社LIXIL
障子、建具、及び障子の施工方法
4日前
株式会社LIXIL
シャワーヘッド装置及び浴室ユニット
5日前
株式会社LIXIL
宅配ボックス及び宅配ボックスの設置方法
4日前
株式会社LIXIL
熱処理木材の漂白方法および木材の処理方法
17日前
続きを見る
他の特許を見る