TOP
|
特許
|
意匠
|
商標
特許ウォッチ
Twitter
他の特許を見る
公開番号
2025142926
公報種別
公開特許公報(A)
公開日
2025-10-01
出願番号
2024042551
出願日
2024-03-18
発明の名称
シャワーヘッド装置及び浴室ユニット
出願人
株式会社LIXIL
代理人
弁理士法人 快友国際特許事務所
主分類
A47K
3/28 20060101AFI20250924BHJP(家具;家庭用品または家庭用設備;コーヒーひき;香辛料ひき;真空掃除機一般)
要約
【課題】ヘッド本体に取り付けられる部品によって吐出口から吐水される水に及ぼされる影響を抑制する技術を提供する。
【解決手段】シャワーヘッド装置は、1個以上の吐出口を有するヘッド本体と、前記ヘッド本体に取り付けられている熱源と、前記熱源によって前記吐出口から吐水される水の温度が上昇することを抑制する抑制部と、を備えていてもよい。
【選択図】図3
特許請求の範囲
【請求項1】
1個以上の吐出口を有するヘッド本体と、
前記ヘッド本体に取り付けられている熱源と、
前記熱源によって前記吐出口から吐出される水の温度が上昇することを抑制する抑制部と、を備える、シャワーヘッド装置。
続きを表示(約 640 文字)
【請求項2】
前記抑制部は、前記吐出口と前記熱源との間の熱伝導率を低減させる、請求項1に記載のシャワーヘッド装置。
【請求項3】
前記抑制部は、前記吐出口と前記熱源との間に配置される断熱材を備える、請求項2に記載のシャワーヘッド装置。
【請求項4】
前記抑制部は、前記吐出口と前記熱源との間に配置される空気層を備える、請求項2に記載のシャワーヘッド装置。
【請求項5】
前記ヘッド本体は、前記吐出口から吐出される水が通過する経路を備え、
前記抑制部は、前記経路の前記水を排出する排出部を備える、請求項1から4のいずれか一項に記載のシャワーヘッド装置。
【請求項6】
前記抑制部は、前記熱源の熱を放熱する放熱部を備える、請求項1から4のいずれか一項に記載のシャワーヘッド装置。
【請求項7】
前記吐出口は、1個以上の第1種の開口と、前記第1種の開口よりも大きい開口を有する1個以上の第2種の開口と、を備え、
前記熱源は、前記第2種の開口の周囲に配置される、請求項1から4のいずれか一項に記載のシャワーヘッド装置。
【請求項8】
前記熱源は、光源を含む、請求項1から4のいずれか一項に記載のシャワーヘッド装置。
【請求項9】
浴室と、
前記浴室内に配置される請求項1から4のいずれか一項に記載のシャワーヘッド装置と、を備える浴室ユニット。
発明の詳細な説明
【技術分野】
【0001】
本明細書が開示する技術は、シャワーヘッド装置及び浴室ユニットに関する。
続きを表示(約 1,100 文字)
【背景技術】
【0002】
特許文献1には、オーバーヘッドシャワー部、打たせ湯部、ハンドシャワー部及び下方側吐水部を備える吐水装置が開示されている。
【先行技術文献】
【特許文献】
【0003】
特開2021-049143号公報
【発明の概要】
【発明が解決しようとする課題】
【0004】
吐出口を有するヘッド本体に、例えば水を吐水する機能以外の機能を実行する等のためにヘッド本体に部品を取り付ける場合がある。
【0005】
本明細書では、ヘッド本体に取り付けられる部品によって吐出口から吐水される水に及ぼされる影響を抑制する技術を提供する。
【課題を解決するための手段】
【0006】
本明細書で開示の技術は、シャワーヘッド装置に関する。シャワーヘッド装置は、1個以上の吐出口を有するヘッド本体と、前記ヘッド本体に取り付けられている熱源と、前記熱源によって前記吐出口から吐水される水の温度が上昇することを抑制する抑制部と、を備えていてもよい。
【0007】
本明細書で開示の他の技術は、浴室ユニットに関する。浴室ユニットは、浴室と、上記のシャワーヘッド装置と、を備えていてもよい。
【図面の簡単な説明】
【0008】
実施形態の浴室ユニットの斜視図を示す。
実施形態のオーバーヘッドシャワー部の平面図を示す。
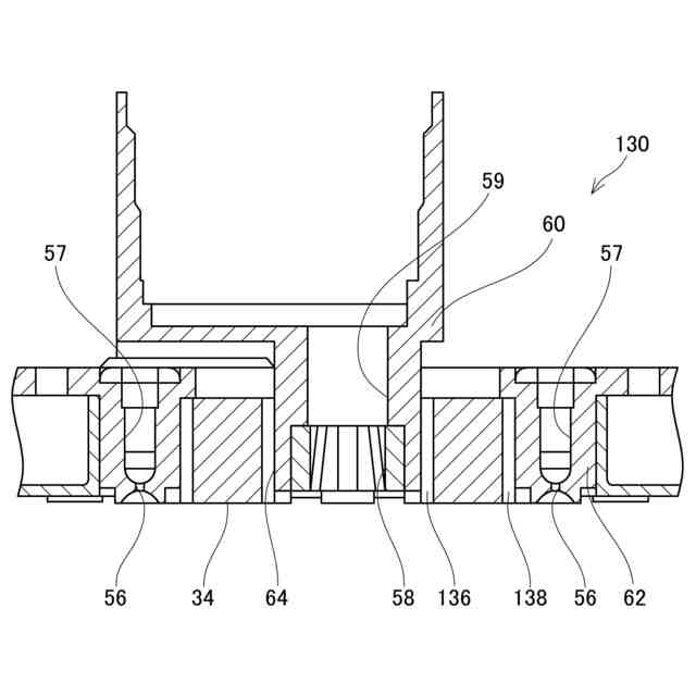
第1実施形態の図2のIII-III断面の断面図を示す。
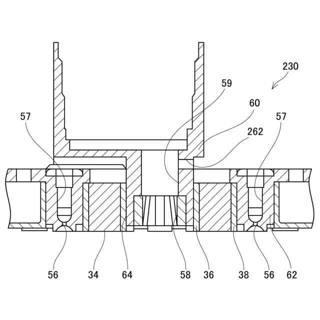
第2実施形態の図2のIII-III断面の断面図を示す。
第3実施形態の図2のIII-III断面の断面図を示す。
第4実施形態の図2のIII-III断面の断面図を示す。
【発明を実施するための形態】
【0009】
(浴室ユニットの構成)
図1に示すように、浴室ユニット1は、浴室2を囲む壁面4と、床面5と、天井面6と、によって画定されている。浴室ユニット1は、壁面4、床面5及び天井面6の他に、浴槽8と、シャワー装置10と、シート部12と、を備える。
【0010】
浴槽8は、ユーザが入浴するための水を溜める。本明細書では、温度に関わらず「水」と呼ぶ。浴槽8は、図示省略した給水口から給水される水を溜める。浴槽8は、浴室2の一方の端に配置される。浴槽8の隣には、シャワー装置10を使用する空間が設けられている。浴槽8の隣には、ユーザがシャワー装置10使用する際に座るシート部12が配置されている。シート部12の上面は、ユーザが座りやすいように略平面形状を有する。
(【0011】以降は省略されています)
この特許をJ-PlatPat(特許庁公式サイト)で参照する
関連特許
個人
椅子
1か月前
個人
家具
3か月前
個人
自助箸
5か月前
個人
掃除機
7か月前
個人
枕
4か月前
個人
枕
7か月前
個人
掃除道具
7か月前
個人
掃除用具
2か月前
個人
屋外用箒
5か月前
個人
体洗い具
9か月前
個人
ソファー
21日前
個人
耳拭き棒
9か月前
個人
ハンガー
5か月前
個人
省煙消臭器
7か月前
個人
組立式棚板
6か月前
個人
掃除シート
8か月前
個人
エコ掃除機
10か月前
個人
物品
1か月前
個人
片手代替具
10か月前
個人
開閉トング
5か月前
個人
中身のない枕
6か月前
個人
ゴミ袋保持枠
5か月前
個人
シャワー装置
4か月前
個人
転倒防止装置
3か月前
個人
紙コップ 蓋
1か月前
個人
靴ベラ
1か月前
個人
洗面台
9か月前
個人
経典表示装置
3か月前
個人
折り畳み椅子
12か月前
個人
受け皿
4か月前
個人
首支持具
2か月前
個人
コーナーシール
8か月前
個人
矯正用枕
2か月前
個人
簡易防災トイレ
11日前
個人
コーヒー抽出器
2か月前
個人
補助寝具
7か月前
続きを見る
他の特許を見る