TOP
|
特許
|
意匠
|
商標
特許ウォッチ
Twitter
他の特許を見る
10個以上の画像は省略されています。
公開番号
2025144434
公報種別
公開特許公報(A)
公開日
2025-10-02
出願番号
2024044203
出願日
2024-03-19
発明の名称
障子、建具、及び障子の施工方法
出願人
株式会社LIXIL
代理人
個人
,
個人
,
個人
主分類
E05D
15/06 20060101AFI20250925BHJP(錠;鍵;窓または戸の付属品;金庫)
要約
【課題】下框に戸車を容易に取り付けることができる障子を提供すること。
【解決手段】障子50は、枠体30内にスライド移動可能に配置される障子50であって、下框52を有する框体500と、下框52に挿入されて下框52に取り付けられる取付部品65と、取付部品65に嵌合により固定される戸車62と、を備える。
【選択図】図28
特許請求の範囲
【請求項1】
枠体内にスライド移動可能に配置される障子であって、
下框を有する框体と、
前記下框に挿入されて前記下框に取り付けられる取付部品と、
前記取付部品に嵌合により固定される戸車と、を備える障子。
続きを表示(約 330 文字)
【請求項2】
前記下框は、位置決め部を有し、
前記戸車は、前記位置決め部に配置される突起を有する、請求項1に記載の障子。
【請求項3】
前記位置決め部は、前記下框の水抜き孔である、請求項2に記載の障子。
【請求項4】
建物躯体に設けられた開口部に固定される枠体と、
前記枠体内に配置される請求項1~3のいずれかに記載の障子と、を備える建具。
【請求項5】
請求項1又は2に記載の障子の施工方法であって、
前記下框に前記取付部品を挿入して前記下框に前記取付部品を取り付ける工程と、
前記下框に挿入して取り付けた前記取付部品に前記戸車を嵌合させて固定する工程と、を含む障子の施工方法。
発明の詳細な説明
【技術分野】
【0001】
本開示は、障子、建具、及び障子の施工方法に関する。
続きを表示(約 2,600 文字)
【背景技術】
【0002】
従来、枠体内をスライド移動可能な障子において、下框に戸車が取り付けられたものが知られている(例えば、特許文献1参照)。
【先行技術文献】
【特許文献】
【0003】
実開昭52-91640号公報
【発明の概要】
【発明が解決しようとする課題】
【0004】
特許文献1に記載の障子の下框には、戸車を取り付けるための加工が形成されている。下框に戸車を容易に取り付けることができることが求められている。
【0005】
本開示は、下框に戸車を容易に取り付けることができる障子、建具、及び障子の施工方法を提供することを目的とする。
【課題を解決するための手段】
【0006】
本開示は、枠体内にスライド移動可能に配置される障子であって、下框を有する框体と、前記下框に挿入されて前記下框に取り付けられる取付部品と、前記取付部品に嵌合により固定される戸車と、を備える障子に関する。
【図面の簡単な説明】
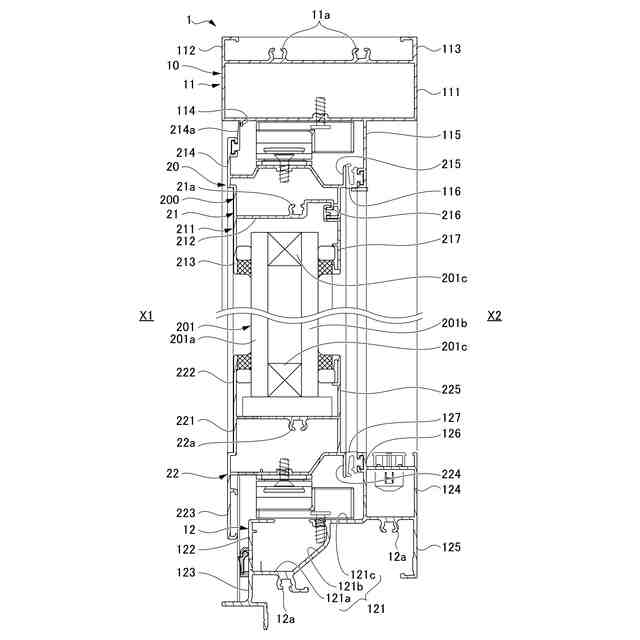
【0007】
第1実施形態の縦辷り出し窓を室内側から見た図である。
図1のA-A線断面図である。
図1のB-B線断面図である。
第1実施形態の縦辷り出し窓の枠体を室内側から見た斜視図である。
図4の状態から、コーナーブロックを取り付けた一対の縦枠を、上枠及び下枠から取り外した状態を示す斜視図である。
アタッチメント部材を縦枠に取り付ける状態を示す図である。
縦枠からコーナーブロックを取り外した状態を示す斜視図である。
第1実施形態の縦辷り出し窓の障子を室内側から見た斜視図である。
第1実施形態の縦辷り出し窓の障子を室外側から見た斜視図である。
図8の状態から、コーナーブロックを取り付けた一対の縦框を、上框及び下框から取り外した状態を示す斜視図である。
図8のC-C線断面図である。
図8のD-D線断面図である。
縦框からコーナーブロックを取り外した状態を示す斜視図である。
第1実施形態の第1変形例を示す図であって、図13と比べて加熱発泡材を異なる位置に配置した図である。
第1実施形態の第2変形例を示す図であって、図13と比べて加熱発泡材を異なる位置に配置した図である。
第2実施形態の引き違い窓を室内側から見た図である。
図16のE-E線断面図である。
図16のF-F線断面図である。
第2実施形態の内障子を室内側から見た斜視図である。
第2実施形態の内障子を室外側から見た斜視図である。
図19の状態から、コーナーブロックを取り付けた一対の縦框を、上框及び下框から取り外した状態を示す斜視図である。
図19のG-G線断面図である。
図19のH-H線断面図である。
図19のI-I線断面図である。
内障子の召し合わせ縦框からコーナーブロックを取り外した状態を示す斜視図である。
内障子の戸先縦框からコーナーブロックを取り外した状態を示す斜視図である。
第2実施形態の第1変形例を示す図であって、図26の下框とは加熱発泡材を異なる位置に配置した図である。
障子の下框に戸車が取り付けられた状態を示す斜視図である。
図28において、障子の下框にスペーサ部材を介して戸車を取り付ける状態を示す図である。
第2実施形態の第2変形例を示す図であって、内障子の下框に2連の車を有すると戸車が取り付けられた状態を示す斜視図である。
図30において、障子の下框にスペーサ部材を介して2連の戸車を取り付ける状態を示す図である。
第3実施形態の内障子を室内側から見た斜視図である。
第3実施形態の内障子を室外側から見た斜視図である。
図32の状態から、コーナーブロックを取り付けた一対の縦框を、上框及び下框から取り外した状態を示す斜視図である。
図32のJ-J線断面図である。
図32のK-K線断面図である。
図32のL-L線断面図である。
内障子の召し合わせ縦框からコーナーブロックを取り外した状態を示す斜視図である。
内障子の戸先縦框からコーナーブロックを取り外した状態を示す斜視図である。
第4実施形態の連窓を室内側から見た図である。
第4実施形態の連窓を室内側から見た斜視図である。
第4実施形態の連窓を上方側から見た図である。
【発明を実施するための形態】
【0008】
以下、本開示の実施形態について、図面を参照しながら詳しく説明する。なお、本明細書において、「見込み方向」とは、建具における室内外方向に沿う方向である。「見付け方向」とは、建具における面材(ガラス)の面方向に沿う方向であり、見込み方向に対して直交する方向である。「見付け面」は、建具における室外側及び室内側に面するそれぞれの面を意味し、「見込み面」は、建具において室内外方向に延びる面を意味する。図面において、建具の室外側を「室外側X1」とし、建具の室内側を「室内側X2」とする。建具を正面視したときの横方向を「左右」とする。
【0009】
第1実施形態について説明する。第1実施形態は、建具を、縦辷り出し窓1により構成した実施形態である。図1~図3に示すように、縦辷り出し窓1(建具)は、建物躯体100に設けられた開口部110に納められる。縦辷り出し窓1は、枠体10(フレーム体)と、枠体10内に開閉可能に配置される障子20と、を備える。枠体10は、建物躯体100に固定されている。障子20は、戸先側を室外側X1に押出し、吊元側に設けられた図示しない回動軸を中心として回動させることで、開放可能となっている。
【0010】
図2~図5に示すように、枠体10は、上枠11(横枠、横材)、下枠12(横枠、横材)及び左右の縦枠13,14(吊元側縦枠13及び戸先側縦枠14)(枠、縦材)が矩形に枠組みされて構成される。上枠11、下枠12及び左右の縦枠13,14は、アルミニウム材料などの金属材料を押出し成形することで形成される。
(【0011】以降は省略されています)
この特許をJ-PlatPat(特許庁公式サイト)で参照する
関連特許
株式会社LIXIL
洗浄水タンク装置
2日前
株式会社LIXIL
可燃性ガス回収装置
2日前
株式会社LIXIL
建具および建具の改装方法
2日前
株式会社LIXIL
建具および建具の改装方法
2日前
株式会社LIXIL
建具および建具の改装方法
2日前
株式会社LIXIL
トイレ装置及びトイレシステム
2日前
株式会社LIXIL
トイレ装置、トイレシステム及び排卵推測装置
2日前
株式会社LIXIL
太陽光発電給電シート、建物およびペリカバー
2日前
株式会社LIXIL
改装サッシ
2日前
株式会社LIXIL
汚水処理装置、汚水処理システム、および汚水処理システムの施工方法
2日前
株式会社LIXIL
ホームシステム、サーバ、オーナー認証方法およびオーナー認証プログラム
2日前
個人
物品保管箱
1か月前
個人
防犯用ドア装置
1か月前
個人
ピンシリンダー錠。
2か月前
個人
二重ロック機能付小物入れ
2か月前
個人
ポスト機能付き手提げ金庫
1か月前
個人
顔認証による入室システム
2か月前
株式会社ニシムラ
ラッチ錠
3か月前
ミサワホーム株式会社
錠受具
3か月前
三協立山株式会社
開口部装置
1か月前
個人
無人貸金庫システム
9日前
株式会社アルファ
電気錠
2か月前
リョービ株式会社
ドアクローザ
2か月前
リョービ株式会社
ドアクローザ
2か月前
株式会社榮伸
カバン蓋の係止装置
1か月前
株式会社ベスト
開き扉の開閉装置
1か月前
積水ハウス株式会社
引き戸
18日前
積水ハウス株式会社
引き戸
6日前
株式会社ベスト
扉及び個室
6日前
有限会社シティング
引き戸
16日前
タキゲン製造株式会社
抜差し蝶番
3か月前
マツ六株式会社
引戸用鎌錠
4か月前
美和ロック株式会社
ハンドル装置
3か月前
ミネベアショウワ株式会社
ドア装置
1か月前
ミネベアショウワ株式会社
ドア装置
1か月前
スズキ株式会社
車両用乗員保護装置
1か月前
続きを見る
他の特許を見る