TOP
|
特許
|
意匠
|
商標
特許ウォッチ
Twitter
他の特許を見る
10個以上の画像は省略されています。
公開番号
2025138473
公報種別
公開特許公報(A)
公開日
2025-09-25
出願番号
2024037584
出願日
2024-03-11
発明の名称
改装建具及び建具の防火構造
出願人
株式会社LIXIL
代理人
個人
,
個人
,
個人
主分類
E06B
1/56 20060101AFI20250917BHJP(戸,窓,シャッタまたはローラブラインド一般;はしご)
要約
【課題】新設枠の変形を抑制することができる改装建具及び建具の防火構造を提供する。
【解決手段】改装建具は、建物の開口部に設けられた既設枠90に固定されるアタッチメント材20と、アタッチメント材20に固定される新設枠10と、を備え、新設枠10は、金属製の屋外側枠部12と、金属製の屋内側枠部13と、屋外側枠部12と屋内側枠部13とを連結する樹脂製のブリッジ材14と、を有し、屋外側枠部12は、アタッチメント材20及び既設枠90のいずれか一方に連結され、ブリッジ材14よりも屋外側に配置される屋外側固定部125を有し、屋内側枠部13は、アタッチメント材20及び既設枠90のいずれか一方に連結され、ブリッジ材14よりも屋内側に配置される屋内側固定部133を有する。
【選択図】図5
特許請求の範囲
【請求項1】
建物の開口部に設けられた既設枠に固定されるアタッチメント材と、
前記アタッチメント材に固定される新設枠と、を備え、
前記新設枠は、
金属製の屋外側枠部と、
金属製の屋内側枠部と、
前記屋外側枠部と前記屋内側枠部とを連結する樹脂製のブリッジ材と、を有し、
前記屋外側枠部は、前記アタッチメント材及び前記既設枠のいずれか一方に連結され、前記ブリッジ材よりも屋外側に配置される屋外側固定部を有し、
前記屋内側枠部は、前記アタッチメント材及び前記既設枠のいずれか一方に連結され、前記ブリッジ材よりも屋内側に配置される屋内側固定部を有する改装建具。
続きを表示(約 510 文字)
【請求項2】
前記屋外側固定部は、前記アタッチメント材及び前記既設枠のいずれか一方における前記ブリッジ材よりも屋外側に配置される部分に連結され、
前記屋内側固定部は、前記アタッチメント材及び前記既設枠のいずれか一方における前記ブリッジ材よりも屋内側に配置される部分に連結される請求項1に記載の改装建具。
【請求項3】
前記アタッチメント材は、
前記屋外側固定部及び前記屋内側固定部の一方に固定され、前記既設枠と前記新設枠との間を閉塞する一の閉塞壁部を有する請求項1または2に記載の改装建具。
【請求項4】
前記アタッチメント材は、
前記屋外側固定部及び前記屋内側固定部の他方に固定され、前記既設枠と前記新設枠との間を閉塞する他の閉塞壁部を有する請求項3に記載の改装建具。
【請求項5】
建物の開口部に設けられて既設枠と、
請求項3に記載の改装建具と、を備え、
前記既設枠は、前記新設枠側に延びる既設枠固定部を有し、
前記屋外側固定部及び前記屋内側固定部の他方は、前記既設枠固定部に固定される建具の防火構造。
発明の詳細な説明
【技術分野】
【0001】
本開示は、改装建具及び建具の防火構造に関するものである。
続きを表示(約 1,500 文字)
【背景技術】
【0002】
従来から、建物の開口部をリフォーム等で改装する際に、既設の建具枠の内周側を新設の建具枠で覆うように、新設の建具枠を設置する工法が知られている。例えば、下記の特許文献1では、既設の建具枠の内周側に、屋内外の金属製の部材の間に樹脂製のブリッジ材を設けて屋内外の金属製の部材を連結した新設の建具枠を設置して、断熱性を高めたものが提案されている。
【先行技術文献】
【特許文献】
【0003】
特開2023-56413号公報
【発明の概要】
【発明が解決しようとする課題】
【0004】
特許文献1に開示された改装建具では、新設の建具枠の屋内側の部分が建物の躯体にネジで固定されているが、火災の際に、ブリッジ材が溶融すると、新設の上枠等の建具枠が変形して落下してくる虞れがあるという問題点がある。
【0005】
本開示は、上記事情に鑑みてなされたものであり、火災時に、新設枠の変形を抑制することができる改装建具及び建具の防火構造を提供する。
【課題を解決するための手段】
【0006】
本開示の一態様に係る改装建具は、建物の開口部に設けられた既設枠に固定されるアタッチメント材と、前記アタッチメント材に固定される新設枠と、を備え、前記新設枠は、金属製の屋外側枠部と、金属製の屋内側枠部と、前記屋外側枠部と前記屋内側枠部とを連結する樹脂製のブリッジ材と、を有し、前記屋外側枠部は、前記アタッチメント材及び前記既設枠のいずれか一方に連結され、前記ブリッジ材よりも屋外側に配置される屋外側固定部を有し、前記屋内側枠部は、前記アタッチメント材及び前記既設枠のいずれか一方に連結され、前記ブリッジ材よりも屋内側に配置される屋内側固定部を有する。
【図面の簡単な説明】
【0007】
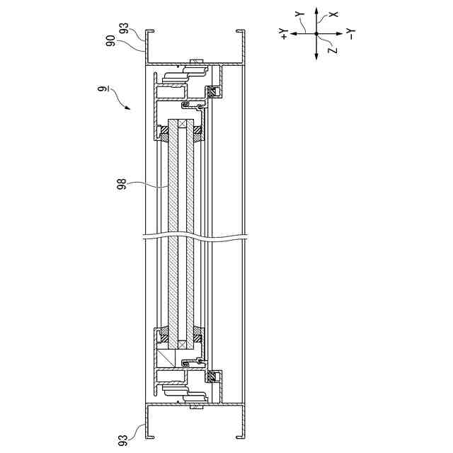
改装前の既設の建具を示す鉛直断面図である。
改装前の既設の建具を示す水平断面図である。
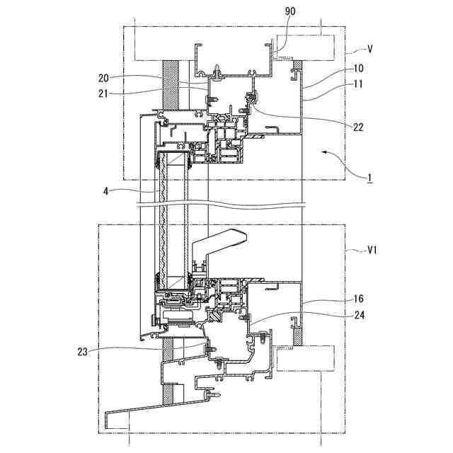
改装建具を示す鉛直断面図である。
改装建具を示す水平断面図である。
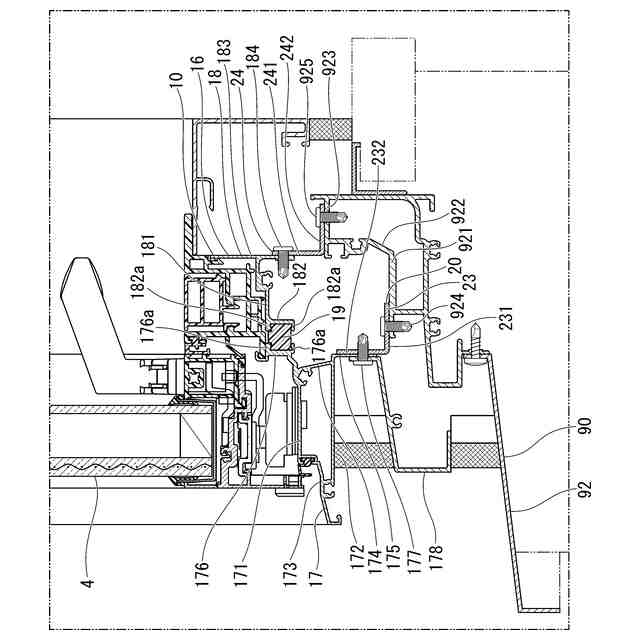
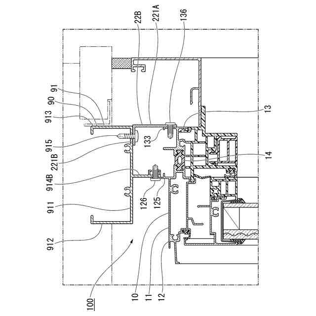
図3のV部拡大図である。
図3のVI部拡大図である。
第2実施形態のV部拡大図である。
第3実施形態のV部拡大図である。
第4実施形態のV部拡大図である。
【発明を実施するための形態】
【0008】
(第1実施形態)
以下、本開示の改装建具の第1実施形態を、図1から図6を参照して説明する。以下の実施形態は、本開示の一態様を示すものであり、この開示を限定するものではなく、本開示の技術的思想の範囲内で任意に変更可能である。また、以下の図面においては、各構成をわかりやすくするために、実際の構造と各構造における縮尺等を異ならせている。
【0009】
以下の実施形態においては、建具の改装の一例として、既設の横滑り出し窓を新設の横滑り出し窓に改装する例に挙げて説明する。図1及び図2に示すように、既設の横滑り出し窓9は、建物の開口部に設けられている。既設の横滑り出し窓9は、既設枠90と、既設障子98と、を備える。既設の横滑り出し窓9を、単に横滑り出し窓9と称する。
【0010】
以下の説明では、屋外側と屋内側とを結び水平方向に沿う方向を、屋内外方向と称する。屋内外方向と直交し水平方向に沿う方向を、左右方向と称する。屋内外方向及び左右方向と直交する方向を、上下方向と称する。屋内外方向を矢印Yで示し、屋外側を+Y側で示し、屋内側を-Y側で示す。左右方向を矢印Xで示す。上下方向を矢印Zで示す。
(【0011】以降は省略されています)
この特許をJ-PlatPat(特許庁公式サイト)で参照する
関連特許
株式会社LIXIL
建具
2日前
株式会社LIXIL
建具
2日前
株式会社LIXIL
建具
12日前
株式会社LIXIL
建具
12日前
株式会社LIXIL
建具
12日前
株式会社LIXIL
建具
12日前
株式会社LIXIL
便器装置
今日
株式会社LIXIL
日除けシート
2日前
株式会社LIXIL
太陽電池ガラス
2日前
株式会社LIXIL
建具及び建具の改修方法
13日前
株式会社LIXIL
改装建具及び建具の防火構造
6日前
株式会社LIXIL
シャワーヘッド装置及び浴室ユニット
今日
株式会社LIXIL
熱処理木材の漂白方法および木材の処理方法
12日前
株式会社LIXIL
カーテンウォールおよび太陽光パネルの点検方法
14日前
株式会社LIXIL
建具
14日前
株式会社LIXIL
建具連結構造
20日前
株式会社LIXIL
電動開閉装置、リモコン装置、開閉装置遠隔操作システム、遠隔操作受付方法および遠隔操作受付プログラム
12日前
中国電力株式会社
脚立
1か月前
株式会社ESP
止水板
1か月前
株式会社ナカオ
作業台
21日前
三協立山株式会社
構造体
3か月前
三協立山株式会社
構造体
3か月前
三協立山株式会社
開口部装置
3か月前
三協立山株式会社
開口部装置
23日前
三協立山株式会社
開口部装置
23日前
三協立山株式会社
開口部装置
1か月前
三協立山株式会社
開口部装置
1か月前
三協立山株式会社
開口部装置
1か月前
ミサワホーム株式会社
水切り材
1か月前
不二サッシ株式会社
引違いサッシ
26日前
株式会社大奉金属
止水構造
3か月前
株式会社TJMデザイン
脚立用ホルダー
2か月前
株式会社ニチベイ
縦型ブラインド
1か月前
永大産業株式会社
開閉構造体
3か月前
株式会社LIXIL
太陽電池ガラス
2日前
三協立山株式会社
サッシの製造方法
22日前
続きを見る
他の特許を見る