TOP
|
特許
|
意匠
|
商標
特許ウォッチ
Twitter
他の特許を見る
公開番号
2025150740
公報種別
公開特許公報(A)
公開日
2025-10-09
出願番号
2024051789
出願日
2024-03-27
発明の名称
ロック装置及び収納装置
出願人
日本プラスト株式会社
代理人
弁理士法人お茶の水内外特許事務所
主分類
E05C
9/04 20060101AFI20251002BHJP(錠;鍵;窓または戸の付属品;金庫)
要約
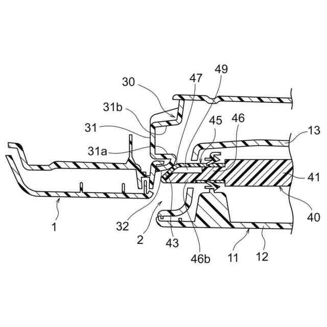
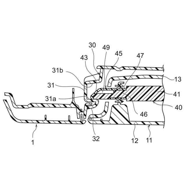
【課題】蓋体を閉じるときに異音の発生を抑制可能で、また、高温環境下に晒されたとしても、蓋体を閉じたときに蓋体を所定の正規位置で保持可能な蓋体のロック装置を提供する。
【解決手段】本発明のロック装置は、支持体(1)に対して蓋体(11)を閉位置で保持するロック装置であって、支持体(1)に設けられる係止受部(31)と、蓋体(11)に設けられる係止部材(40)とを有し、係止部材(40)は、係止受部(31)に係止される係合爪部(45,55,65)を有し、係合爪部(45,55,65)は、基材部(46,56,66)と、基材部(46,56,66)よりも軟質の材料により形成されるとともに基材部(46,56,66)の少なくとも一部を覆う外層部(47,57,67)とを有し、基材部(46,56,66)は、外層部(47,57,67)から露出するとともに閉位置で係止受部(31)に当接する当接部(46b,56b,66b)を有する。
【選択図】図2
特許請求の範囲
【請求項1】
開口部を有する支持体に対し、前記開口部を閉鎖する閉位置と、前記開口部を開放する開位置との間で移動可能に取り付けられる蓋体を、前記閉位置で保持するロック装置であって、
前記支持体に設けられる係止受部と、前記蓋体に設けられるとともに前記係止受部に対して挿抜される係止部材とを有し、
前記係止部材は、前記係止受部に係止される係合爪部を有し、
前記係合爪部は、基材部と、前記基材部よりも軟質の材料により形成されるとともに前記基材部の少なくとも一部を覆う外層部とを有し、
前記基材部は、前記外層部から露出するとともに前記閉位置で前記係止受部に当接する当接部を有する
ことを特徴とするロック装置。
続きを表示(約 200 文字)
【請求項2】
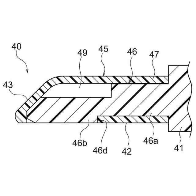
前記係合爪部は、前記係合爪部の変形を促す変形促進構造を有する
請求項1記載のロック装置。
【請求項3】
前記変形促進構造は、前記基材部と前記外層部との間に設けられる中空部により形成される
請求項2記載のロック装置。
【請求項4】
請求項1~3の何れかに記載の前記ロック装置を有し、車両の車内に設置されることを特徴とする収納装置。
発明の詳細な説明
【技術分野】
【0001】
本発明は、支持体に対して蓋体を閉位置で保持するロック装置、及び、そのロック装置を有する収納装置に関する。
続きを表示(約 1,600 文字)
【背景技術】
【0002】
自動車等の車両の車室内には、一般的に、グローブボックスやコンソールボックス等の物を収納する収納装置が設置されている。例えば、グローブボックスは、車両における助手席の前方に設けられている。グローブボックスは、インストルメントパネルに形成された開口部に対して開閉可能な蓋体を備える。
【0003】
グローブボックスの蓋体には、係止部材が設けられている。蓋体は、インストルメントパネルの開口部を閉じる位置で、蓋体の係止部を、インストルメントパネルの開口部に設けられた係止受部に係合させることによって、開口部を閉じた状態(閉状態)を保持できる。
【0004】
例えば特開2012-162188号公報(特許文献1)には、車両用の収納装置(車両用開閉収納ボックス装置)が記載されている。特許文献1の収納装置では、開閉体である蓋体に、ロック部を有するロック部材が設けられており、インストルメントパネル側に、ロック部を係止するストッパー部が設けられている。ロック部材は、合成樹脂で形成されている。ロック部の外部層は、ロック部材の合成樹脂より柔らかい軟質材で形成されている。また特許文献1には、ロック部の柔らかい軟質材として、エラストマーが例示されている。
【0005】
特許文献1によれば、ロック部の外部層が柔らかい軟質材で形成されているため、収納装置の蓋体が閉じられるときに、ロック部が、インストルメントパネルの開口部の周縁部に当接しても、当接したときの衝突音が外部層で吸収されるため、異音が生じなくなるとしている。
【先行技術文献】
【特許文献】
【0006】
特開2012-162188号公報
【発明の概要】
【発明が解決しようとする課題】
【0007】
しかしながら、特許文献1のように、蓋体のロック部の外部層がエラストマー等の柔らかい軟質材で形成されている場合、例えば収納装置が高温環境下に晒されること等によって、ロック部の外部層が撓むこと、また、軟質材の品質や性能が低下すること等が生じる可能性があり、その結果、ロック部がストッパー部に係止されても、蓋体を、インストルメントパネルに対して適切な位置で保持できなくなる虞がある。
【0008】
本発明は上記従来の課題に鑑みてなされたものであって、その目的は、蓋体を閉じるときに異音の発生を抑制可能で、また、高温環境下に晒されたとしても、蓋体を閉じたときに蓋体を所定の正規位置で保持可能な蓋体のロック装置、及び、そのロック装置を有する収納装置を提供することにある。
【課題を解決するための手段】
【0009】
上記目的を達成するために、本発明により提供されるロック装置は、開口部を有する支持体に対し、前記開口部を閉鎖する閉位置と、前記開口部を開放する開位置との間で移動可能に取り付けられる蓋体を、前記閉位置で保持するロック装置であって、前記支持体に設けられる係止受部と、前記蓋体に設けられるとともに前記係止受部に対して挿抜される係止部材とを有し、前記係止部材は、前記係止受部に係止される係合爪部を有し、前記係合爪部は、基材部と、前記基材部よりも軟質の材料により形成されるとともに前記基材部の少なくとも一部を覆う外層部とを有し、前記基材部は、前記外層部から露出するとともに前記閉位置で前記係止受部に当接する当接部を有するロック装置である。
【0010】
本発明のロック装置において、前記係合爪部は、前記係合爪部の変形を促す変形促進構造を有することが好ましい。
この場合、前記変形促進構造は、前記基材部と前記外層部との間に設けられる中空部により形成されることが好ましい。
(【0011】以降は省略されています)
この特許をJ-PlatPat(特許庁公式サイト)で参照する
関連特許
個人
物品保管箱
2か月前
個人
防犯用ドア装置
2か月前
個人
ピンシリンダー錠。
3か月前
個人
顔認証による入室システム
3か月前
個人
ポスト機能付き手提げ金庫
1か月前
個人
二重ロック機能付小物入れ
2か月前
株式会社ニシムラ
ラッチ錠
3か月前
ミサワホーム株式会社
錠受具
3か月前
三協立山株式会社
開口部装置
1か月前
個人
無人貸金庫システム
16日前
リョービ株式会社
ドアクローザ
2か月前
リョービ株式会社
ドアクローザ
2か月前
株式会社アルファ
電気錠
2か月前
有限会社シティング
引き戸
23日前
積水ハウス株式会社
引き戸
25日前
株式会社ベスト
開き扉の開閉装置
1か月前
株式会社榮伸
カバン蓋の係止装置
1か月前
積水ハウス株式会社
引き戸
13日前
株式会社ベスト
扉及び個室
13日前
タキゲン製造株式会社
抜差し蝶番
4か月前
美和ロック株式会社
ハンドル装置
4か月前
ミネベアショウワ株式会社
ドア装置
1か月前
美和ロック株式会社
IDキー
2か月前
スズキ株式会社
車両用乗員保護装置
1か月前
コイト電工株式会社
蝶番の取付構造
2日前
ミネベアショウワ株式会社
ドア装置
1か月前
株式会社LIXIL
建具
2か月前
株式会社LIXIL
建具
1か月前
神田工業株式会社
解錠システム
3か月前
株式会社WEST inx
引戸用引手
3か月前
株式会社ユニオン
ドアハンドル
17日前
株式会社LIXIL
建具
13日前
株式会社アイシン
ドア支持装置
2日前
株式会社ベスト
グレビティヒンジ
2か月前
日本プラスト株式会社
ロック装置
1か月前
株式会社アイシン
車両用ドア装置
10日前
続きを見る
他の特許を見る