TOP
|
特許
|
意匠
|
商標
特許ウォッチ
Twitter
他の特許を見る
10個以上の画像は省略されています。
公開番号
2025147434
公報種別
公開特許公報(A)
公開日
2025-10-07
出願番号
2024047683
出願日
2024-03-25
発明の名称
プリンタ
出願人
セイコーインスツル株式会社
代理人
個人
主分類
B41J
3/36 20060101AFI20250930BHJP(印刷;線画機;タイプライター;スタンプ)
要約
【課題】小型化を図ることができ、かつ、配線の布設を容易化できるプリンタを提供する。
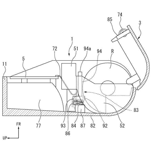
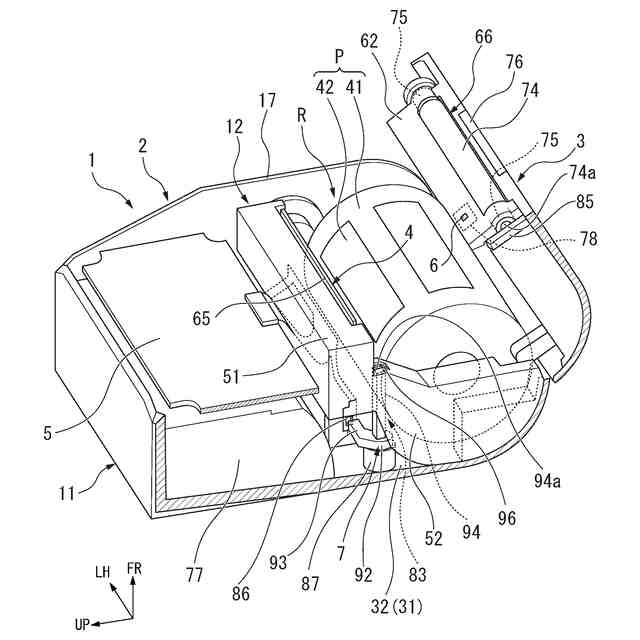
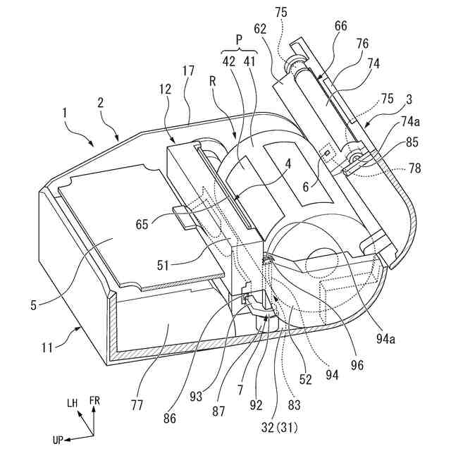
【解決手段】サーマルプリンタ1は、本体部2に設けられたカバー部3と、ロール紙Rから引き出されたラベル42に印刷するサーマルヘッドと、ラベル42をサーマルヘッドに押圧しながら搬送するプラテンローラ74と、印刷開始位置を検知する第1センサ6と、カバー部3の開閉状態を検知する第2センサ86と、サーマルヘッド、第1センサ6および第2センサ86が接続される制御基板5と、を備える。第1センサ6は、光学式センサである。第2センサ86は、フレキシブル基板72をサーマルヘッドと共有化した光学式センサである。
【選択図】図4
特許請求の範囲
【請求項1】
ロール紙収容部を有する本体部と、
前記ロール紙収容部を被覆するように前記本体部に対して開閉可能に設けられたカバー部と、
前記本体部に設けられ、前記ロール紙収容部に収容されたロール紙から引き出された印刷媒体に印刷するヘッドと、
前記カバー部に設けられ、印刷時に前記印刷媒体を前記ヘッドに押圧しながら搬送するローラと、
前記印刷媒体の印刷開始位置を検知する第1センサと、
前記カバー部の開閉状態を検知する第2センサと、
前記ヘッド、前記第1センサおよび前記第2センサが接続される制御基板と、
を備え、
前記第1センサは、前記ロール紙に付されたマークを検知する光学式センサであり、かつ、
前記第2センサは、前記制御基板に接続されるフレキシブル基板を前記ヘッドと共有化した光学式センサである、
ことを特徴とするプリンタ。
続きを表示(約 510 文字)
【請求項2】
前記本体部は、前記カバー部の開閉に応じて移動する被検知部材を備え、
前記第2センサは、前記被検知部材を検知する反射型光学式センサである、
ことを特徴とする請求項1に記載のプリンタ。
【請求項3】
前記カバー部は、閉じられた際に前記被検知部材と対向する位置に押付凸部を備え、
前記被検知部材は、前記カバー部が閉じられた際に前記押付凸部に押し付けられることにより移動し、
前記第2センサは、移動した前記被検知部材を検知することにより、前記カバー部が閉じられていることを検知する、
ことを特徴とする請求項2に記載のプリンタ。
【請求項4】
前記カバー部は、前記ローラに前記印刷媒体を案内するガイド部材を備え、
前記第1センサは、前記ガイド部材に設けられた反射型光学式センサである、
ことを特徴とする請求項1に記載のプリンタ。
【請求項5】
前記印刷媒体は、前記ロール紙の台紙において長尺方向に沿って所定の間隔をあけて貼付された感熱式ラベルである、
ことを特徴とする請求項1に記載のプリンタ。
発明の詳細な説明
【技術分野】
【0001】
本発明は、プリンタに関するものである。
続きを表示(約 2,000 文字)
【背景技術】
【0002】
サーマルプリンタにおいて、印字対象となる用紙の位置を検知するための位置検知器と、カバー部の開閉状態を検知するためのカバー検知器とを備えているものが知られている(例えば、特許文献1参照)。位置検知器は、光学式センサであり、ラベル印刷時に各ラベルの印字開始位置(頭出し位置)のマークを検知する。一方、カバー検知器は、機械式センサ(メカニカルスイッチ)であり、カバーに設けられた突起部が本体部側に設けられたスイッチを押すことによりカバー部の閉状態を検知する。
【先行技術文献】
【特許文献】
【0003】
特開平9-248924号公報
【発明の概要】
【発明が解決しようとする課題】
【0004】
しかしながら、上述のサーマルプリンタのように、カバー検知器として機械式センサを使用する場合、カバー部の開閉を検知するためのスイッチにカバー等の他の部材が物理的に直接触れることになる。このため、機械式センサは、光学式センサに比べると故障するリスクが高い。
また、機械式センサをサーマルプリンタに設ける場合、ロール紙収容部の紙幅方向の外側にスイッチを設置するためのスペースを確保する必要がある。このため、サーマルプリンタが大型化してしまうという問題があった。
さらに、機械式センサのスイッチのために、専用の配線を別途用意する必要がある。このため、配線の布設が複雑化してしまうという問題もあった。
【0005】
本発明は、上記の課題を解決するためになされたものであって、小型化を図ることができ、かつ、配線の布設を容易化できるプリンタを提供することを目的とする。
【課題を解決するための手段】
【0006】
本発明の一態様に係るプリンタは、ロール紙収容部を有する本体部と、前記ロール紙収容部を被覆するように前記本体部に対して開閉可能に設けられたカバー部と、前記本体部に設けられ、前記ロール紙収容部に収容されたロール紙から引き出された印刷媒体に印刷するヘッドと、前記カバー部に設けられ、印刷時に前記印刷媒体を前記ヘッドに押圧しながら搬送するローラと、前記印刷媒体の印刷開始位置を検知する第1センサと、前記カバー部の開閉状態を検知する第2センサと、前記ヘッド、前記第1センサおよび前記第2センサが接続される制御基板と、を備え、前記第1センサは、前記ロール紙に付されたマークを検知する光学式センサであり、かつ、前記第2センサは、前記制御基板に接続されるフレキシブル基板を前記ヘッドと共有化した光学式センサであることを特徴とする。
【0007】
この構成によれば、カバー部の開閉状態を検知する第2センサに光学式センサを使用した。よって、第2センサにカバー部を物理的に直接触れることになく非接触で、カバー部の開閉を検知できる。これにより、第2センサに機械式センサを使用する場合に比べて故障のリスクを低減できる。さらに、第2センサに光学式センサを使用することにより、第2センサを機械式センサに比べて小型化できる。これにより、プリンタの小型化を図ることができる。
また、制御基板に接続されるフレキシブル基板をヘッドおよび第2センサにおいて共有化した。よって、第2センサの配線を別途用意する必要がない。これにより、第2センサに対する配線の布設を容易化できる。
【0008】
上記のプリンタにおいて、前記本体部は、前記カバー部の開閉に応じて移動する被検知部材を備え、前記第2センサは、前記被検知部材を検知する反射型光学式センサであってもよい。
【0009】
この構成によれば、カバー部の開閉に応じて移動する被検知部材を備えた。また、被検知部材を検知する第2センサに反射型光学式センサを使用した。よって、第2センサの投光素子と受光素子とを一体にまとめて本体部に設けることができる。これにより、例えば、第2センサに透過型光学式センサを使用する場合に比べて、第2センサにおける配線の布設容易化に寄与できる。
また、反射型光学式センサは、透過型光学式センサに比べて取付スペースを小さく抑えることができる。これにより、第2センサに反射型光学式センサを使用することにより、プリンタの小型化に寄与できる。
【0010】
上記のプリンタにおいて、前記カバー部は、閉じられた際に前記被検知部材と対向する位置に押付凸部を備え、前記被検知部材は、前記カバー部が閉じられた際に前記押付凸部に押し付けられることにより移動し、前記第2センサは、移動した前記被検知部材を検知することにより、前記カバー部が閉じられていることを検知してもよい。
(【0011】以降は省略されています)
この特許をJ-PlatPat(特許庁公式サイト)で参照する
関連特許
個人
箔熱転写装置
1か月前
シヤチハタ株式会社
印判
4か月前
東レ株式会社
凸版印刷版原版
10か月前
シヤチハタ株式会社
反転式印判
9か月前
独立行政法人 国立印刷局
印刷物
7か月前
三光株式会社
感熱記録材料
6か月前
キヤノン株式会社
記録装置
25日前
株式会社リコー
液体吐出装置
5か月前
株式会社リコー
液体吐出装置
2か月前
株式会社リコー
画像形成装置
13日前
株式会社リコー
液体吐出装置
7か月前
株式会社リコー
印刷システム
13日前
独立行政法人 国立印刷局
記録媒体
8か月前
独立行政法人 国立印刷局
貼付装置
1か月前
株式会社リコー
液体吐出装置
8か月前
日本製紙株式会社
感熱記録体
7か月前
独立行政法人 国立印刷局
貼付機構
1か月前
株式会社リコー
画像形成装置
9日前
株式会社リコー
画像形成装置
1か月前
株式会社リコー
液体吐出装置
6か月前
株式会社リコー
液体吐出装置
4か月前
株式会社リコー
液体吐出装置
4か月前
株式会社リコー
液体吐出装置
7か月前
独立行政法人 国立印刷局
潜像印刷物
1か月前
キヤノン株式会社
画像処理装置
4か月前
フジコピアン株式会社
中間転写シート
9か月前
キヤノン株式会社
情報処理装置
9か月前
キヤノン株式会社
画像形成装置
1か月前
キヤノン株式会社
画像形成装置
3か月前
キヤノン株式会社
印刷制御装置
10か月前
キヤノン株式会社
画像形成装置
5か月前
キヤノン株式会社
画像形成装置
7か月前
キヤノン株式会社
画像形成装置
8か月前
キヤノン株式会社
画像形成装置
8か月前
キヤノン株式会社
印刷システム
7か月前
キヤノン株式会社
画像形成装置
8か月前
続きを見る
他の特許を見る