TOP
|
特許
|
意匠
|
商標
特許ウォッチ
Twitter
他の特許を見る
公開番号
2025146173
公報種別
公開特許公報(A)
公開日
2025-10-03
出願番号
2024046813
出願日
2024-03-22
発明の名称
生物学的検体の分析方法及び検体回収容器の再生方法
出願人
長崎県
,
国立大学法人 長崎大学
代理人
個人
,
個人
,
個人
主分類
G01N
1/00 20060101AFI20250926BHJP(測定;試験)
要約
【課題】生物学的検体が完全に燃焼する温度で、検体回収容器を高温で熱処理でき、検体回収容器の再利用が可能な、環境負担の少ない生物学的検体の分析方法及び検体回収容器の再生方法を提供する。
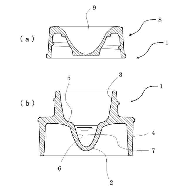
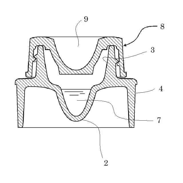
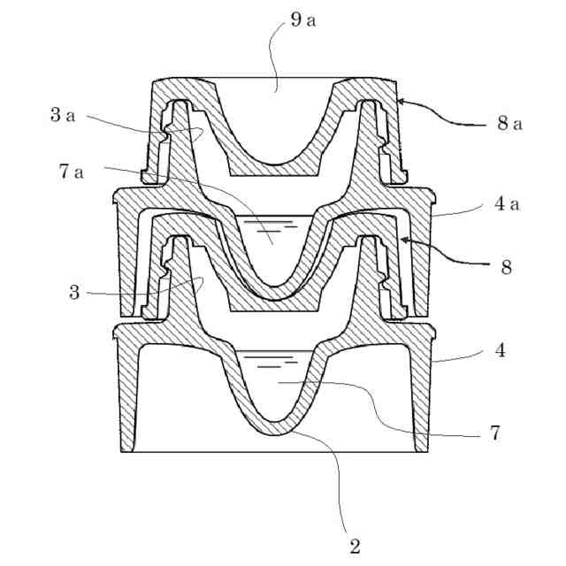
【解決手段】分析方法は、検体回収工程と、分析工程と、容器再生工程を備える。検体回収工程では、生物学的検体として、人の唾液を回収する。検体回収容器1は、磁器で形成されている。また、分析工程では、唾液を生物学的検体として、PCR法を用いた検査(PCR検査)を行う。また、容器再生工程は、分析工程の後、唾液が収容された検体回収容器1に対して高温熱処理を行う。容器再生工程では、検体回収容器1を、838℃以上の高温で熱処理することで、唾液を完全消失させると共に、容器を滅菌して、検体回収容器1を再利用可能な状態にする。
【選択図】図4
特許請求の範囲
【請求項1】
ウイルスまたは菌の少なくとも一方を含む生物学的検体を、838℃以上で熱処理が可能なセラミックス製の検体回収容器に回収する検体回収工程と、
前記検体回収工程で回収した前記生物学的検体に対して、所定の分析を行う分析工程と、
前記分析工程後に、前記検体回収容器を838℃以上で熱処理する検体回収容器の再生工程を備える
生物学的検体の分析方法。
続きを表示(約 390 文字)
【請求項2】
前記検体回収容器は、アルミナ、ジルコニア、ムライト、磁器、ボーンチャイナからなる群より選択される少なくとも1つである
請求項1に記載の生物学的検体の分析方法。
【請求項3】
前記再生工程では、838℃以上、かつ、1150℃以下で前記熱処理を行う
請求項2に記載の生物学的検体の分析方法。
【請求項4】
前記生物学的検体は唾液である
請求項1または請求項2に記載の生物学的検体の分析方法。
【請求項5】
ウイルスまたは菌の少なくとも一方を含む生物学的検体を回収した検体回収容器を、再利用可能とする検体回収容器の再生方法であって、
前記検体回収容器はセラミックス製であり、前記生物学的検体を収容した同検体回収容器を838℃以上で熱処理する工程を備える
検体回収容器の再生方法。
発明の詳細な説明
【技術分野】
【0001】
本発明は生物学的検体の分析方法及び検体回収容器の再生方法に関する。詳しくは、生物学的検体が消失する温度で、検体回収容器を高温で熱処理でき、検体回収容器の再利用が可能な、環境負担の少ない生物学的検体の分析方法及び検体回収容器の再生方法に係るものである。
続きを表示(約 1,100 文字)
【背景技術】
【0002】
従来、臨床及び診断分析の分野等において、人から採取した検体、即ち、生物学的検体を用いて、これを分析または検査することが行われている。
【0003】
また、生物学的検体を採取する際に、検体を回収するための検体回収容器が用いられている(例えば、特許文献1及び非特許文献1参照)。
【0004】
ここで、特許文献1に記載された検体回収容器は、樹脂成型品であり、非特許文献1に記載された検体回収容器は、ポリプロピレンやポリエチレンで形成されている。このように、生物学的検体を回収するための検体回収容器は、ほとんどの場合、樹脂製の容器が用いられている。
【先行技術文献】
【特許文献】
【0005】
特開2022-055157号公報
【非特許文献】
【0006】
株式会社杉山ゲンホームページ"、[online]TOP、製品情報、臨床微生物検査関連、検体採取(臨床微生物検査関連)、検体採取部位喀痰・唾液検体採取 使用商品[令和6年2月22日検索]、インターネット<URL:https://www.sugiyama-gen.co.jp/products/detail/post-6877/>
【発明の概要】
【発明が解決しようとする課題】
【0007】
ここで、特許文献1及び非特許文献1に記載された樹脂製の検体回収容器において、生物学的検体の回収に1度利用されたものは、再利用されることがなく、焼却処分される。
【0008】
そして、樹脂製の検体回収容器を燃焼させると、大量の二酸化炭素が排出されてしまう問題があった。また、新たな検体回収容器の製造時にも二酸化炭素が排出されるため、総じて、環境に与える負荷が甚大となってしまう。
【0009】
本発明は、以上の点に鑑みて創案されたものであり、生物学的検体が消失する温度で、検体回収容器を高温で熱処理でき、検体回収容器の再利用が可能な、環境負担の少ない生物学的検体の分析方法及び検体回収容器の再生方法を提供することを目的とする。
【課題を解決するための手段】
【0010】
上記の目的を達成するために、本発明の生物学的検体の分析方法は、ウイルスまたは菌の少なくとも一方を含む生物学的検体を、838℃以上で熱処理が可能なセラミックス製の検体回収容器に回収する検体回収工程と、前記検体回収工程で回収した前記生物学的検体に対して、所定の分析を行う分析工程と、前記分析工程後に、前記検体回収容器を838℃以上で熱処理する検体回収容器の再生工程を備える。
(【0011】以降は省略されています)
特許ウォッチbot のツイートを見る
この特許をJ-PlatPat(特許庁公式サイト)で参照する
関連特許
長崎県
形状計測方法
1か月前
長崎県
光散乱体の非破壊測定装置
1か月前
長崎県
水素ガスの検知方法及び検知装置
10か月前
長崎県
生物学的検体の分析方法及び検体回収容器の再生方法
1か月前
学校法人 工学院大学
判定回路、及び制御システム
4か月前
個人
竹粉による平茸菌床栽培法及び平茸菌床並びに平茸
21日前
国立大学法人九州大学
遺伝子発現増強剤
4か月前
戸田建設株式会社
スパー型洋上風力発電設備の建造方法
10か月前
戸田建設株式会社
スパー型洋上風力発電設備の建造方法
11か月前
AGCセラミックス株式会社
造形体、釉薬層付き造形体、及び造形体の製造方法
5か月前
学校法人明治大学
アスパラガスの栽培方法および該栽培方法に用いられる液状マルチ剤
6か月前
日本精機株式会社
検出装置
21日前
個人
採尿及び採便具
27日前
個人
高精度同時多点測定装置
1か月前
個人
計量機能付き容器
16日前
個人
アクセサリー型テスター
1か月前
株式会社ミツトヨ
測定器
1か月前
株式会社カクマル
境界杭
6日前
甲神電機株式会社
電流検出装置
21日前
アズビル株式会社
電磁流量計
1か月前
大成建設株式会社
風洞実験装置
16日前
個人
システム、装置及び実験方法
1か月前
日本信号株式会社
距離画像センサ
19日前
日本特殊陶業株式会社
ガスセンサ
14日前
個人
計量具及び計量機能付き容器
16日前
愛知時計電機株式会社
ガスメータ
1か月前
双庸電子株式会社
誤配線検査装置
22日前
大和製衡株式会社
組合せ計量装置
1か月前
大和製衡株式会社
組合せ計量装置
1か月前
ローム株式会社
半導体装置
1か月前
長崎県
形状計測方法
1か月前
愛知電機株式会社
軸部材の外観検査装置
1か月前
ローム株式会社
半導体装置
1か月前
個人
非接触による電磁パルスの測定方法
19日前
日本特殊陶業株式会社
センサ
今日
キーコム株式会社
画像作成システム
6日前
続きを見る
他の特許を見る