TOP
|
特許
|
意匠
|
商標
特許ウォッチ
Twitter
他の特許を見る
10個以上の画像は省略されています。
公開番号
2025146131
公報種別
公開特許公報(A)
公開日
2025-10-03
出願番号
2024046755
出願日
2024-03-22
発明の名称
液滴吐出ユニット、液滴吐出装置及び液滴吐出システム
出願人
コニカミノルタ株式会社
代理人
弁理士法人光陽国際特許事務所
主分類
B41J
2/01 20060101AFI20250926BHJP(印刷;線画機;タイプライター;スタンプ)
要約
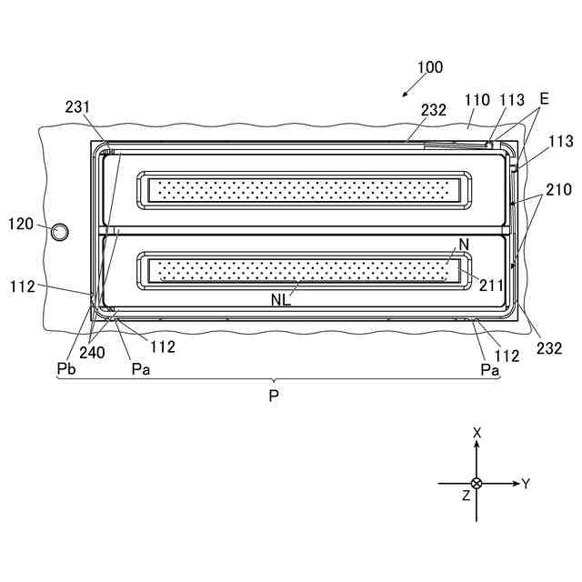
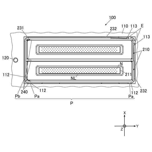
【課題】装置の小型化と高画質化を両立可能な液滴吐出ユニット、液滴吐出装置及び液滴吐出システムを提供する。
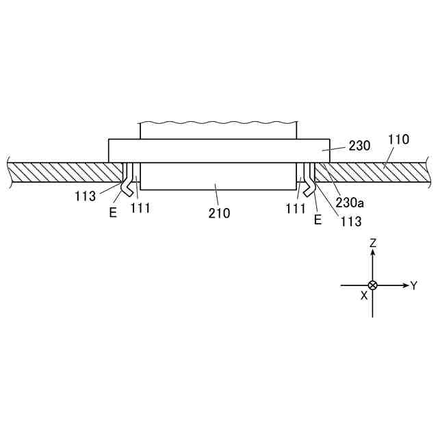
【解決手段】液滴吐出ユニット100は、ノズル面に配列されたノズル列NLの各ノズルNから液滴を吐出する液滴吐出装置200と、液滴吐出装置200が取り付けられる貫通孔である開口部111を備える取付プレート110と、を備え、液滴吐出装置200は、取付プレート110の被位置決め部112と接触する位置決め部Pと、被位置決め部112に位置決め部Pから力を付与する力付与部Eと、を備える。
【選択図】図4A
特許請求の範囲
【請求項1】
ノズル面に配列されたノズル列の各ノズルから液滴を吐出する液滴吐出装置と、
前記液滴吐出装置が取り付けられる貫通孔である開口部を備える取付プレートと、を備える液滴吐出ユニットであって、
前記液滴吐出装置は、前記取付プレートの被位置決め部と接触する位置決め部と、
前記被位置決め部に前記位置決め部から力を付与する力付与部と、を備える液滴吐出ユニット。
続きを表示(約 1,000 文字)
【請求項2】
前記力付与部は、ノズル列方向及び/又は前記ノズル列方向に直交する搬送方向に力が働くように前記被位置決め部と接触する請求項1に記載の液滴吐出ユニット。
【請求項3】
前記ノズル面に垂直な高さ方向から力を付与することで前記液滴吐出装置を前記取付プレートに固定する固定部を備え、
前記液滴吐出装置は、前記固定部を基準に、ノズル列方向及び前記ノズル列方向に直交する搬送方向に最も遠い前記位置決め部よりも遠い位置に前記力付与部を備える請求項1に記載の液滴吐出ユニット。
【請求項4】
前記ノズル面に垂直な高さ方向から力を付与することで前記液滴吐出装置を前記取付プレートに固定する固定部を備え、
前記液滴吐出装置は、前記固定部を基準に、ノズル列方向及び前記ノズル列方向に直交する搬送方向に最も遠い前記位置決め部よりも近い位置に前記力付与部を備える請求項1に記載の液滴吐出ユニット。
【請求項5】
前記液滴吐出装置は、前記ノズル列に平行な第1面と、前記第1面とは異なる面である第2面との少なくとも2つの面に、少なくとも1つ以上の前記位置決め部を備え、
前記ノズル面に垂直な高さ方向から見たとき、前記位置決め部と前記被位置決め部は点接触し、
前記第1面において、前記位置決め部と前記被位置決め部は前記ノズル列の長手方向端部よりも外側で点接触する請求項1に記載の液滴吐出ユニット。
【請求項6】
前記取付プレートと前記液滴吐出装置の取付面と、前記ノズル面と、の間に前記位置決め部及び前記力付与部を備える請求項1に記載の液滴吐出ユニット。
【請求項7】
前記力付与部と接触する前記取付プレートの被力付与部と、前記被位置決め部と、を前記取付プレートの上面に備える請求項1に記載の液滴吐出ユニット。
【請求項8】
前記力付与部は、少なくとも一部が前記位置決め部とは異なる剛性材料によって構成される請求項1に記載の液滴吐出ユニット。
【請求項9】
前記力付与部は、前記位置決め部と同一の剛性材料によって構成される請求項1に記載の液滴吐出ユニット。
【請求項10】
前記液滴吐出装置は、前記取付プレートとの接触面である取付面の外周の内側に位置するように前記力付与部を備える請求項1に記載の液滴吐出ユニット。
(【請求項11】以降は省略されています)
発明の詳細な説明
【技術分野】
【0001】
本発明は、液滴吐出ユニット、液滴吐出装置及び液滴吐出システムに関する。
続きを表示(約 1,200 文字)
【背景技術】
【0002】
従来、記録媒体の記録面に、画像データに基づいて適切なタイミングで液滴吐出ヘッドから液体を吐出して、当該記録面に画像を記録する液滴吐出装置が知られている。
【0003】
また、例えば特許文献1には、液滴吐出装置に力付与部を設け、液滴吐出ヘッドを位置決め位置に押し付けることで、液滴吐出ヘッドを液滴吐出装置に高精度に取り付ける構成が記載されている。
【先行技術文献】
【特許文献】
【0004】
特開2019-155880号公報
【発明の概要】
【発明が解決しようとする課題】
【0005】
しかしながら、液滴吐出装置を取り付ける装置本体側に力付与部を設けると、当該力付与部用のスペースにより、装置本体の大型化を招き得る。他方で、液滴吐出ヘッドを力付与部によって高精度に位置決めしないと、液滴吐出ヘッドが位置ズレを起こして、画質の低下を招き得る。
【0006】
本発明はかかる事情に鑑みてなされたものであり、画質の低下抑制と装置の小型化を両立可能な液滴吐出ユニット、液滴吐出装置及び液滴吐出システムの提供を目的とする。
【課題を解決するための手段】
【0007】
以上の課題を解決するために、請求項1記載の発明は、
ノズル面に配列されたノズル列の各ノズルから液滴を吐出する液滴吐出装置と、
前記液滴吐出装置が取り付けられる貫通孔である開口部を備える取付プレートと、を備える液滴吐出ユニットであって、
前記液滴吐出装置は、前記取付プレートの被位置決め部と接触する位置決め部と、
前記被位置決め部に前記位置決め部から力を付与する力付与部と、を備える。
【0008】
請求項2に記載の発明は、請求項1に記載の液滴吐出ユニットであって、
前記力付与部は、ノズル列方向及び/又は前記ノズル列方向に直交する搬送方向に力が働くように前記被位置決め部と接触する。
【0009】
請求項3に記載の発明は、請求項1に記載の液滴吐出ユニットであって、
前記ノズル面に垂直な高さ方向から力を付与することで前記液滴吐出装置を前記取付プレートに固定する固定部を備え、
前記液滴吐出装置は、前記固定部を基準に、ノズル列方向及び前記ノズル列方向に直交する搬送方向に最も遠い前記位置決め部よりも遠い位置に前記力付与部を備える。
【0010】
請求項4に記載の発明は、請求項1に記載の液滴吐出ユニットであって、
前記ノズル面に垂直な高さ方向から力を付与することで前記液滴吐出装置を前記取付プレートに固定する固定部を備え、
前記液滴吐出装置は、前記固定部を基準に、ノズル列方向及び前記ノズル列方向に直交する搬送方向に最も遠い前記位置決め部よりも近い位置に前記力付与部を備える。
(【0011】以降は省略されています)
この特許をJ-PlatPat(特許庁公式サイト)で参照する
関連特許
個人
箔熱転写装置
1か月前
シヤチハタ株式会社
印判
4か月前
東レ株式会社
凸版印刷版原版
10か月前
シヤチハタ株式会社
反転式印判
9か月前
三菱製紙株式会社
感熱記録材料
11か月前
独立行政法人 国立印刷局
印刷物
7か月前
キヤノン株式会社
記録装置
1か月前
三光株式会社
感熱記録材料
6か月前
株式会社リコー
液体吐出装置
7か月前
株式会社リコー
画像形成装置
1か月前
株式会社リコー
画像形成装置
15日前
株式会社リコー
液体吐出装置
4か月前
日本製紙株式会社
感熱記録体
7か月前
株式会社リコー
画像形成装置
19日前
独立行政法人 国立印刷局
記録媒体
8か月前
独立行政法人 国立印刷局
貼付機構
2か月前
独立行政法人 国立印刷局
貼付装置
1か月前
株式会社リコー
液体吐出装置
2か月前
株式会社リコー
液体吐出装置
7か月前
株式会社リコー
液体吐出装置
8か月前
株式会社リコー
液体吐出装置
6か月前
株式会社リコー
液体吐出装置
5か月前
株式会社リコー
液体吐出装置
4か月前
株式会社リコー
印刷システム
19日前
独立行政法人 国立印刷局
潜像印刷物
2か月前
キヤノン株式会社
情報処理装置
9か月前
キヤノン株式会社
画像形成装置
1か月前
キヤノン株式会社
画像形成装置
11か月前
独立行政法人 国立印刷局
潜像形成体
15日前
キヤノン株式会社
画像形成装置
8か月前
ブラザー工業株式会社
プリンタ
9か月前
ブラザー工業株式会社
プリンタ
4か月前
理想科学工業株式会社
印刷装置
6か月前
ブラザー工業株式会社
プリンタ
6か月前
ブラザー工業株式会社
プリンタ
6か月前
キヤノン株式会社
印刷システム
7か月前
続きを見る
他の特許を見る