TOP
|
特許
|
意匠
|
商標
特許ウォッチ
Twitter
他の特許を見る
10個以上の画像は省略されています。
公開番号
2025145783
公報種別
公開特許公報(A)
公開日
2025-10-03
出願番号
2024046162
出願日
2024-03-22
発明の名称
印刷装置
出願人
セイコーエプソン株式会社
代理人
個人
,
個人
,
個人
主分類
B41J
2/17 20060101AFI20250926BHJP(印刷;線画機;タイプライター;スタンプ)
要約
【課題】筐体に設けられる開閉カバーの強度が十分確保できない虞がある。
【解決手段】印刷装置1は、筐体100に収容され、媒体2にインクを吐出するヘッド25と、筐体100の天面100aの一部を構成する第1隔壁210と筐体100の正面の一部を構成する第2隔壁220とを有し、筐体100における天面100aを開閉する開閉カバー200と、筐体100の内側の気体を吸引孔241から吸引する吸引部240と、吸引部240と連通するダクト231と、を備え、ダクト231は、第2隔壁220の外面220fに固定される。
【選択図】図1
特許請求の範囲
【請求項1】
筐体に収容され、媒体に液体を吐出するヘッドと、
前記筐体の天面の一部を構成する第1隔壁と、前記筐体の正面の一部を構成する第2隔壁と、を有し、前記筐体における前記天面を開閉する開閉カバーと、
前記筐体の内側の気体を吸引孔から吸引する吸引部と、
前記吸引部と連通するダクトと、
を備え、
前記ダクトは、前記第2隔壁の外面に固定される、
ことを特徴とする印刷装置。
続きを表示(約 570 文字)
【請求項2】
前記吸引部は、前記第2隔壁の内面に固定され、前記第2隔壁に設けられる連通部を介して前記ダクトと連通する、
ことを特徴とする請求項1に記載の印刷装置。
【請求項3】
前記第1隔壁は、前記筐体の内側を視認可能な窓を有し、
前記吸引部は、前記窓を介して視認可能に設けられる、
ことを特徴とする請求項2に記載の印刷装置。
【請求項4】
前記ダクトに配置されるフィルターを備え、
前記正面から見て、前記吸引孔は、前記フィルターと重ならない位置に設けられる、
ことを特徴とする請求項2に記載の印刷装置。
【請求項5】
前記正面から見て、前記フィルターを挟むように、複数の前記吸引孔が設けられる、
ことを特徴とする請求項4に記載の印刷装置。
【請求項6】
前記第2隔壁は、透明性を有する部材により構成され、
前記ダクトは、前記第2隔壁の下端から離れた位置に設けられる、
ことを特徴とする請求項1に記載の印刷装置。
【請求項7】
前記ダクトは、前記筐体の前記正面の一部を構成する外面を有し、
前記外面は、下向きに傾斜している、
ことを特徴とする請求項6に記載の印刷装置。
発明の詳細な説明
【技術分野】
【0001】
本開示は、印刷装置に関する。
続きを表示(約 1,800 文字)
【背景技術】
【0002】
特許文献1には、記録媒体が載置されるプラテンと、インクヘッドと、搬送機構と、カバー部材と、フロントカバーと、送風装置と、を備える印刷装置の一例であるインクジェットプリンターが開示されている。インクヘッドは、主走査方向に移動自在に設けられ、記録媒体にインクを吐出する。搬送機構は、記録媒体を主走査方向と直交する副走査方向に搬送する。カバー部材は、プラテンの上方および側方に配置され、インクヘッドよりも副走査方向の下流側に開口が形成される。フロントカバーは、カバー部材に取り付けられ、開口を開閉する。送風装置は、フロントカバーに設けられる。
【先行技術文献】
【特許文献】
【0003】
特開2018-176455号公報
【発明の概要】
【発明が解決しようとする課題】
【0004】
特許文献1のインクジェットプリンターでは、透明なアクリル樹脂から形成されるフロントカバーの下端に、アルミ材によって形成される送風装置が取り付けられている。この場合、送風装置がフロントカバーの下端に設けられることにより、フロントカバーの十分な強度が確保できない虞がある。
【課題を解決するための手段】
【0005】
印刷装置は、筐体に収容され、媒体に液体を吐出するヘッドと、前記筐体の天面の一部を構成する第1隔壁と、前記筐体の正面の一部を構成する第2隔壁と、を有し、前記筐体における前記天面を開閉する開閉カバーと、前記筐体の内側の気体を吸引孔から吸引する吸引部と、前記吸引部と連通するダクトと、を備え、前記ダクトは、前記第2隔壁の外面に固定される。
【図面の簡単な説明】
【0006】
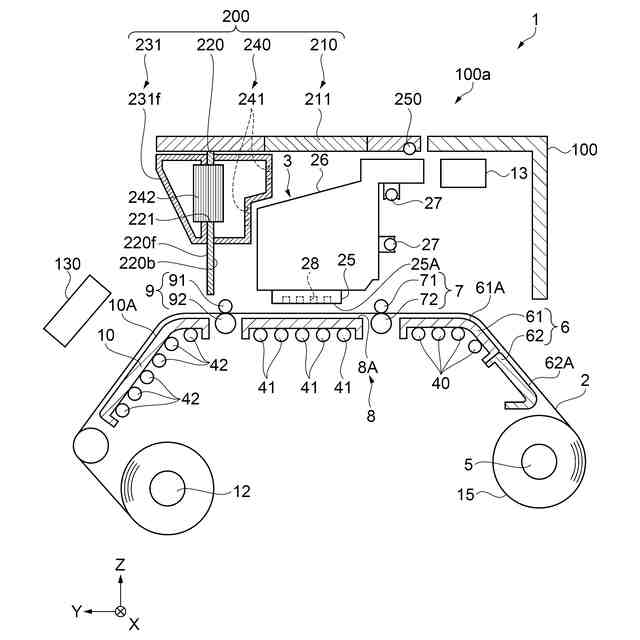
印刷装置の構成を示す概略図。
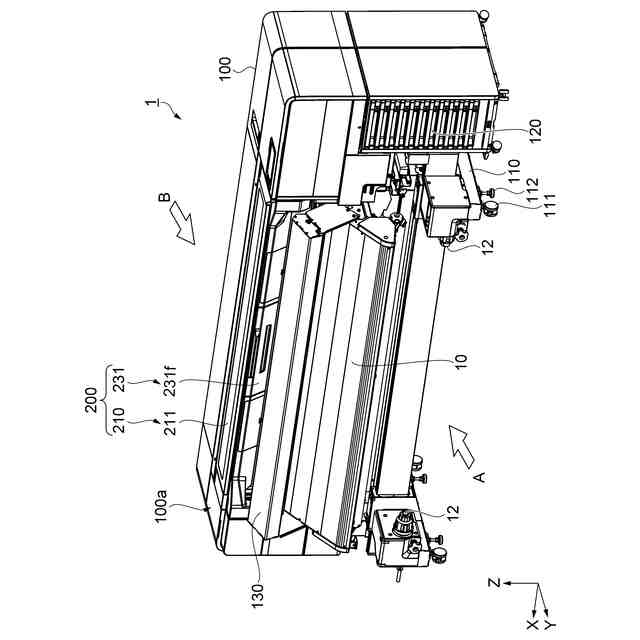
印刷装置の外観を示す斜視図。
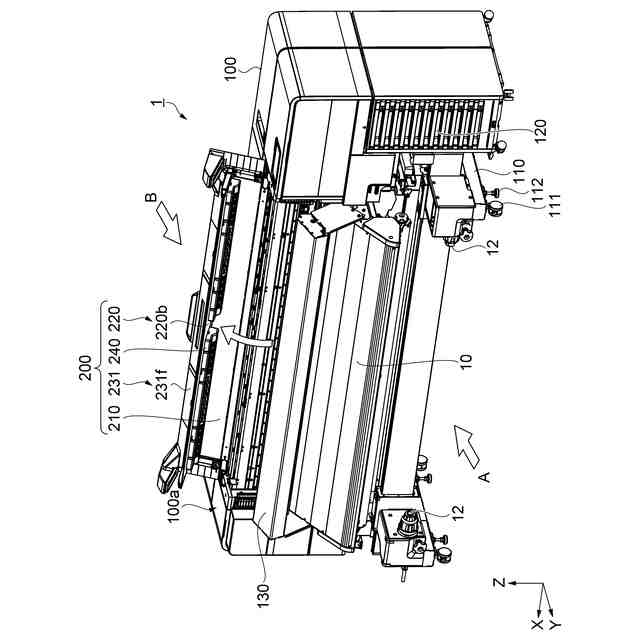
図2に示す印刷装置の開閉カバーが開位置にある状態を示す斜視図。
開閉カバーが閉位置にあるときの開閉カバー周辺の構成を示す斜視図。
開閉カバーが開位置にあるときの開閉カバー周辺の構成を示す部分斜視図。
開閉カバーが閉位置にあるときの開閉カバー周辺の構成を示す部分斜視図。
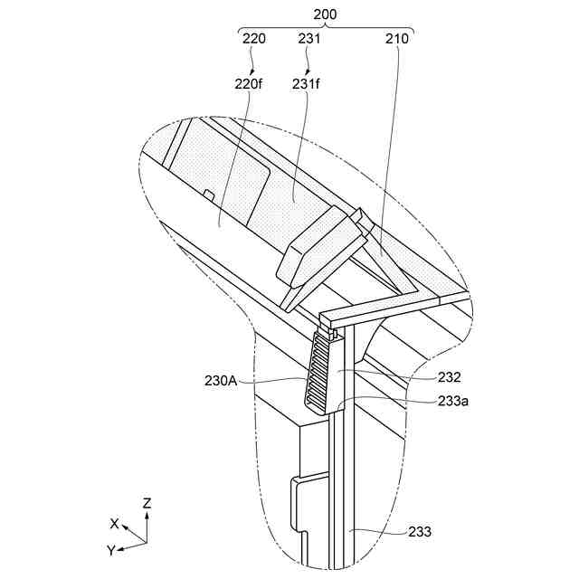
開閉カバーを正面側から見た斜視図。
開閉カバーを背面側から見た斜視図。
吸引部及びダクトの構成を示す部分斜視図。
内側ダクト及び縦型ダクトの構成を示す部分斜視図。
吸引部の他の実施形態を示す部分斜視図。
【発明を実施するための形態】
【0007】
以下、実施形態に基づいて本開示を説明する。各図において同一部材には同一符号を付し、重複する説明は省略する。本明細書において、「同じ」、「同一」、「同時」と記載する場合は、完全に同じであることのみを指すわけではない。
【0008】
例えば、本明細書において、「同じ」、「同一」、「同時」と記載する場合は、測定誤差を考慮して同じである場合を含むものとする。例えば、本明細書において、「同じ」、「同一」、「同時」と記載する場合は、部材の製造ばらつきを考慮して同じである場合を含むものとする。例えば、本明細書において、「同じ」、「同一」、「同時」と記載する場合は、機能を損なわない範囲で同じである場合を含むものとする。よって、例えば、「両者の寸法が同じである」とは、測定誤差、部材の製造ばらつきを考慮し、両者の寸法差が、一方の寸法の±5パーセント以内、特に好ましくは±3パーセント以内であることを指す。
【0009】
1.実施形態1
印刷装置1は、例えば、用紙等の媒体2に対して、液体の一例であるインクを吐出することにより、媒体2に文字や写真等の画像を印刷するインクジェット式のプリンターである。
【0010】
各図においてX、Y、Zは、互いに直交する3つの空間軸を表している。本明細書では、これらの軸に沿った方向をX軸方向、Y軸方向、及びZ軸方向とする。向きを特定する場合には、正の方向を「+」、負の方向を「-」として、方向表記に正負の符合を併用し、各図の矢印が向かう向きを+方向、矢印の反対方向を-方向として説明する。
(【0011】以降は省略されています)
この特許をJ-PlatPat(特許庁公式サイト)で参照する
関連特許
個人
箔熱転写装置
26日前
シヤチハタ株式会社
印判
4か月前
東レ株式会社
凸版印刷版原版
9か月前
シヤチハタ株式会社
反転式印判
9か月前
三菱製紙株式会社
感熱記録材料
10か月前
三光株式会社
感熱記録材料
6か月前
キヤノン株式会社
記録装置
19日前
独立行政法人 国立印刷局
印刷物
6か月前
株式会社リコー
液体吐出装置
1か月前
株式会社リコー
液体吐出装置
3か月前
独立行政法人 国立印刷局
貼付機構
1か月前
株式会社リコー
画像形成装置
3日前
独立行政法人 国立印刷局
貼付装置
1か月前
株式会社リコー
液体吐出装置
7か月前
株式会社リコー
画像形成装置
7日前
日本製紙株式会社
感熱記録体
7か月前
株式会社リコー
液体吐出装置
7か月前
株式会社リコー
液体吐出装置
5か月前
株式会社リコー
液体吐出装置
4か月前
株式会社リコー
画像形成装置
26日前
株式会社リコー
液体吐出装置
5か月前
株式会社リコー
液体吐出装置
8か月前
株式会社リコー
印刷システム
7日前
独立行政法人 国立印刷局
記録媒体
8か月前
理想科学工業株式会社
印刷装置
11日前
ブラザー工業株式会社
プリンタ
3か月前
キヤノン株式会社
画像形成装置
8か月前
キヤノン株式会社
画像形成装置
8か月前
キヤノン株式会社
画像形成装置
7か月前
キヤノン株式会社
画像処理装置
4か月前
キヤノン株式会社
印刷システム
7か月前
ブラザー工業株式会社
プリンタ
5か月前
キヤノン株式会社
画像形成装置
10か月前
ブラザー工業株式会社
液体吐出ヘッド
19日前
キヤノン株式会社
画像形成装置
8か月前
ブラザー工業株式会社
プリンタ
8か月前
続きを見る
他の特許を見る