TOP
|
特許
|
意匠
|
商標
特許ウォッチ
Twitter
他の特許を見る
公開番号
2025145195
公報種別
公開特許公報(A)
公開日
2025-10-03
出願番号
2024045252
出願日
2024-03-21
発明の名称
半導体モジュール、及び、半導体装置
出願人
株式会社アイシン
代理人
弁理士法人R&C
主分類
H01L
25/07 20060101AFI20250926BHJP(基本的電気素子)
要約
【課題】モジュール端子を被実装基板の適切な位置に配置可能な半導体モジュールが望まれる。
【解決手段】モジュール基板4と、半導体素子2と、複数のモジュール端子Tと、を備え、被実装基板上に実装される半導体モジュール1であって、モジュール端子Tは、複数のモジュール端子Tの矩形状の配列領域7のそれぞれ異なる辺の外周側に配置された複数の外部接続端子11と、当該外部接続端子11に対して内周側に配置された複数の中継端子12と、モジュール基板4上の配線を介して対象端子6に電気的に接続された共通中継端子12と、を含み、被実装基板3上において、共通中継端子12に対して複数の中継端子12のうちの1つが選択的に接続されることによって、複数の外部接続端子11のうちの1つが対象端子6に選択的に接続される。
【選択図】図3
特許請求の範囲
【請求項1】
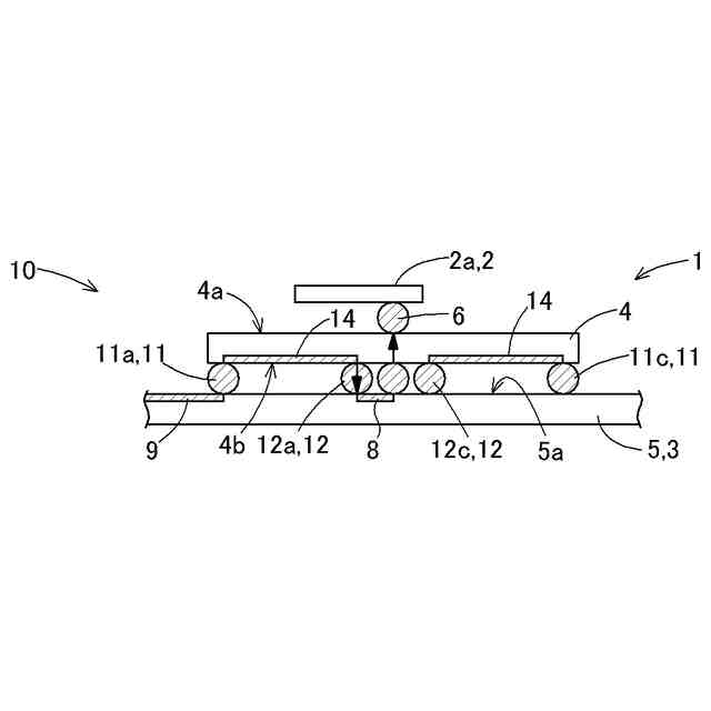
モジュール基板と、前記モジュール基板の第1面に実装された少なくとも1つの半導体素子と、前記モジュール基板の第2面に矩形格子状に配列された複数のモジュール端子と、を備え、被実装基板上に実装される半導体モジュールであって、
前記モジュール端子は、
前記半導体素子の対象端子に接続される端子であって、複数の前記モジュール端子の矩形状の配列領域のそれぞれ異なる辺の外周側に配置された複数の外部接続端子と、
前記モジュール基板上の配線を介して、対応する前記外部接続端子と電気的に接続され、当該外部接続端子に対して内周側に配置された複数の中継端子と、
前記モジュール基板上の配線を介して前記対象端子に電気的に接続された少なくとも1つの共通中継端子と、を含み、
前記被実装基板上において、前記共通中継端子に対して複数の前記中継端子のうちの1つが選択的に接続されることによって、複数の前記外部接続端子のうちの1つが前記対象端子に選択的に接続される、半導体モジュール。
続きを表示(約 800 文字)
【請求項2】
前記対象端子は、差動信号を伝送する対象端子対であり、
複数の前記外部接続端子は、それぞれが前記対象端子対に対応する外部接続端子対であり、
複数の前記中継端子は、それぞれが前記外部接続端子対に対応する中継端子対であり、
前記共通中継端子は、前記対象端子対に対応する共通中継端子対であり、
それぞれの前記中継端子対は、矩形状の前記配列領域における何れの辺にも平行しない方向に並んで配置されている、請求項1に記載の半導体モジュール。
【請求項3】
前記外部接続端子として、第1外部接続端子と、第2外部接続端子と、第3外部接続端子と、を備え、
前記第1外部接続端子と前記第2外部接続端子と前記第3外部接続端子とが、互いに矩形状の前記配列領域の異なる辺の外周側に配置され、
前記中継端子として、前記第1外部接続端子に接続された第1中継端子と、前記第2外部接続端子に接続された第2中継端子と、前記第3外部接続端子に接続された第3中継端子と、を備え、
前記被実装基板上において、前記共通中継端子に対して前記第1中継端子が選択的に接続されることによって、前記第1外部接続端子が前記対象端子に選択的に接続可能であり、且つ、前記第2中継端子と前記第3中継端子とが接続されることによって、前記第2外部接続端子と前記第3外部接続端子とが接続可能に構成されている、請求項1又は2に記載の半導体モジュール。
【請求項4】
請求項1又は2に記載の半導体モジュールと、前記被実装基板としての主基板と、を備えた半導体装置であって、
前記主基板は、前記共通中継端子と複数の前記中継端子のうちの1つとを接続する選択配線と、選択された前記中継端子に接続された前記外部接続端子に接続される信号配線と、を備えている、半導体装置。
発明の詳細な説明
【技術分野】
【0001】
本発明は、半導体モジュール、及び、半導体装置に関する。
続きを表示(約 1,900 文字)
【背景技術】
【0002】
例えば、特開平9-232505号公報(特許文献1)には、半導体モジュールに関する技術が開示されている。以下、背景技術の説明において括弧内に示す符号は特許文献1のものである。
【0003】
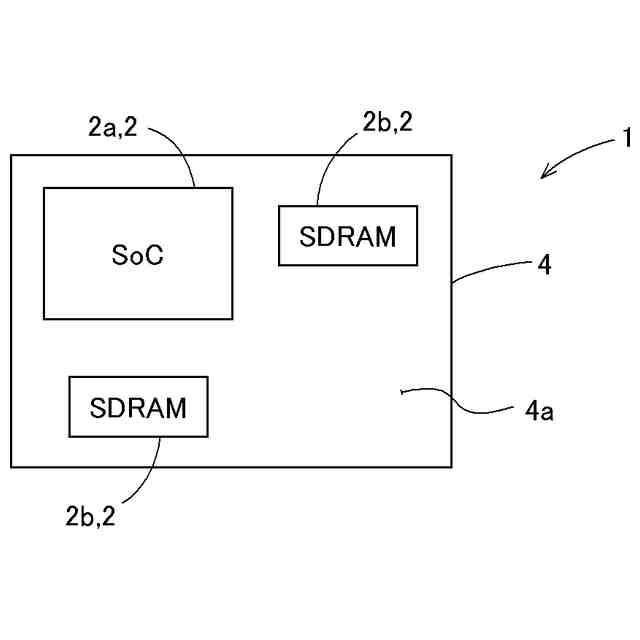
特許文献1の半導体モジュール(マルチチップモジュール1)は、モジュール基板(アイランド2)と、モジュール基板に実装された複数の半導体素子(チップ3)と、外部の回路に接続するための複数のモジュール端子と、を備えている。半導体素子と、これらのモジュール端子とは、半導体モジュール内で電気的に接続されている。
【先行技術文献】
【特許文献】
【0004】
特開平9-232505号公報
【発明の概要】
【発明が解決しようとする課題】
【0005】
一般的に、モジュール端子には、半導体モジュールに搭載される半導体素子と、外部の回路素子(コネクタ等を含む電子部品)との間で伝送する必要のある信号が割り当てられている。このような半導体モジュールは、使用目的に応じて、様々な被実装基板に実装され得る。このため、被実装基板に設けられた回路素子の配置によっては、対応するモジュール端子までの信号配線の配線距離が長くなってしまい、信号品質(信号波形)が劣化する虞がある。即ち、半導体モジュールを被実装基板に実装するに際し、被実装基板上におけるモジュール端子の配置位置が適切ではない場合がある。特に近年、信号の高周波数化が進んでおり、被実装基板上において、モジュール端子を適切な位置に配置し、信号配線の配線距離を短く抑えることは重要である。
【0006】
そこで、モジュール端子を被実装基板の適切な位置に配置可能な半導体モジュールが望まれる。
【課題を解決するための手段】
【0007】
本開示に係る半導体モジュールは、モジュール基板と、前記モジュール基板の第1面に実装された少なくとも1つの半導体素子と、前記モジュール基板の第2面に矩形格子状に配列された複数のモジュール端子と、を備え、被実装基板上に実装される半導体モジュールであって、前記モジュール端子は、前記半導体素子の対象端子に接続される端子であって、複数の前記モジュール端子の矩形状の配列領域のそれぞれ異なる辺の外周側に配置された複数の外部接続端子と、前記モジュール基板上の配線を介して、対応する前記外部接続端子と電気的に接続され、当該外部接続端子に対して内周側に配置された複数の中継端子と、前記モジュール基板上の配線を介して前記対象端子に電気的に接続された少なくとも1つの共通中継端子と、を含み、前記被実装基板上において、前記共通中継端子に対して複数の前記中継端子のうちの1つが選択的に接続されることによって、複数の前記外部接続端子のうちの1つが前記対象端子に選択的に接続される。
【0008】
本構成によれば、被実装基板上において、共通中継端子に対して複数の中継端子のうちの1つを選択的に接続できる。このため、半導体モジュールを被実装基板上に実装した場合に、被実装基板上の回路に接続される外部接続端子と、半導体素子の対象端子との配線距離を短く抑えることができる。従って、比較的簡素な構成で、配線距離が長くなることによる信号品質(信号波形)の劣化を回避し易い。また、本構成によれば、半導体モジュールが実装される被実装基板の種類等によって、配線距離の長短に起因した信号品質のばらつきを少なく抑えることができる。このように、本構成によれば、モジュール端子を被実装基板の適切な位置に配置することができる。
【0009】
半導体モジュール、及び、半導体装置のさらなる特徴と利点は、図面を参照して説明する例示的且つ非限定的な実施形態についての以下の記載から明確となる。
【図面の簡単な説明】
【0010】
半導体装置の模式的分解斜視図
半導体モジュールの部品配置図
半導体モジュールと主基板との接続を模式的に示す平面図
半導体モジュールと主基板との接続を模式的に示す断面図
第2外部接続端子と第3外部接続端子との接続を模式的に示す平面図
差動信号を伝送する構成におけるモジュール端子の配置を模式的に示す平面図
対象端子対と共通中継端子対との接続の一例を模式的に示す平面図
対象端子対と共通中継端子対との接続の他の例を模式的に示す平面図
【発明を実施するための形態】
(【0011】以降は省略されています)
この特許をJ-PlatPat(特許庁公式サイト)で参照する
関連特許
株式会社アイシン
回転電機
今日
株式会社アイシン
回転電機
今日
株式会社アイシン
回転電機
4日前
株式会社アイシン
制御装置
4日前
株式会社アイシン
車体構造
4日前
株式会社アイシン
駆動装置
6日前
株式会社アイシン
温度調節器
4日前
株式会社アイシン
車両制御装置
4日前
株式会社アイシン
運転支援装置
4日前
株式会社アイシン
駐車支援装置
今日
株式会社アイシン
振動発生装置
6日前
株式会社アイシン
運転支援装置
4日前
株式会社アイシン
開閉システム
5日前
株式会社アイシン
マニホールド
6日前
株式会社アイシン
駐車支援装置
4日前
株式会社アイシン
車両用ドア装置
5日前
株式会社アイシン
車両用ドア装置
5日前
株式会社アイシン
回転角検出装置
5日前
株式会社アイシン
冷暖房システム
4日前
株式会社アイシン
車両用駆動装置
今日
株式会社アイシン
配達管理システム
5日前
株式会社アイシン
巻線界磁式モータ
今日
株式会社アイシン
減衰接着剤組成物
4日前
株式会社アイシン
巻線界磁式モータ
今日
株式会社アイシン
巻線界磁式モータ
今日
株式会社アイシン
アクチュエータ装置
5日前
株式会社アイシン
弁開閉時期制御装置
今日
株式会社アイシン
車両用ステップ装置
4日前
株式会社アイシン
車両用統合パッケージ
今日
株式会社アイシン
立体構造プリント配線板
5日前
株式会社アイシン
回転電機用のロータの製造方法
4日前
株式会社アイシン
情報処理装置、および、情報処理方法
4日前
株式会社アイシン
半導体モジュール、及び、半導体装置
4日前
株式会社豊田中央研究所
オイルポンプ
4日前
株式会社アイシン
通信制御システム、及び車室外アンテナ装置
今日
株式会社アイシン
回転電機用ロータ製造方法、回転電機用ロータ
4日前
続きを見る
他の特許を見る